KitchenAid Slide In Range Electric YKESC307HS6 Timer Repair

What is the timer/clock part number for the KitchenAid YKESC307HS6 Slide In Range Electric?

Timer part number 9781980 for KitchenAid YKESC307HS6

The YKESC307HS6 Slide In Range Electric uses timer part number 9781980.

Do you have a failed KitchenAid YKESC307HS6 control panel? Click here:

Request Appliance Timer Service

We can repair or replace your faulty KitchenAid YKESC307HS6 timer.

YKESC307HS6 are also sometimes referred to using these Alternative Names/Model numbers

Whirlpool YKESC307HS6 Slide In Range Electric

YKESC307HS6 Schematic and Wiring Diagrams

Cooktop Parts diagram
YKESC307HS6 Slide In Range Electric Cooktop Parts diagram
Door and drawer Parts diagram
YKESC307HS6 Slide In Range Electric Door and drawer Parts diagram
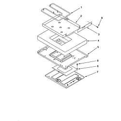
Oven chassis Parts diagram
YKESC307HS6 Slide In Range Electric Oven chassis Parts diagram
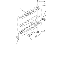
Control panel Parts diagram
YKESC307HS6 Slide In Range Electric Control panel Parts diagram
Oven Parts diagram
YKESC307HS6 Slide In Range Electric Oven Parts diagram
Rear chassis Parts diagram
YKESC307HS6 Slide In Range Electric Rear chassis Parts diagram
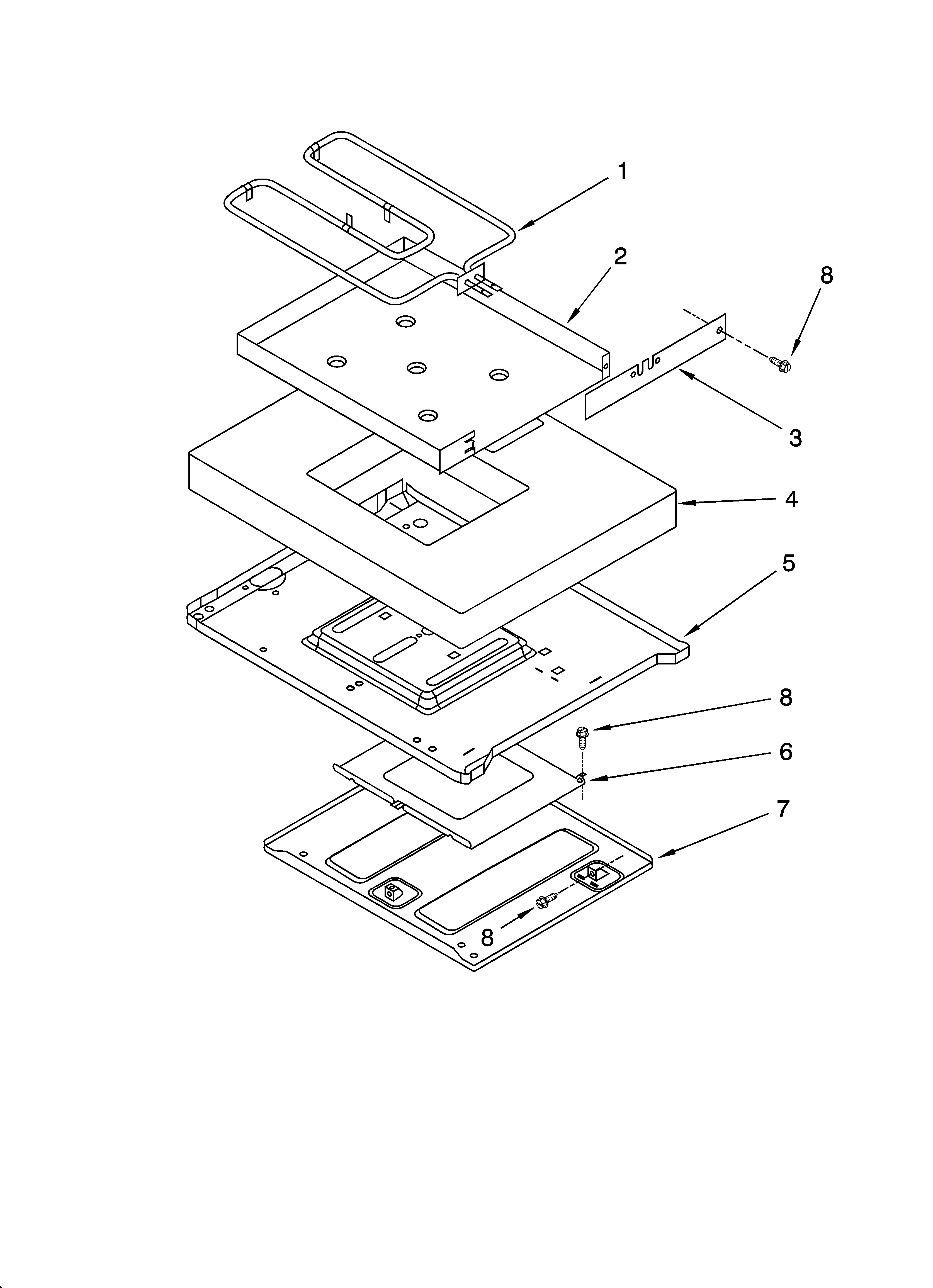
Hidden bake Parts diagram
YKESC307HS6 Slide In Range Electric Hidden bake Parts diagram

Recent Service Requests

CityProblem DescriptionResolution
London, OntarioCOOKTOP WORKS, OVEN CONTROL IS FUNCTIONING BUT INCREASE IN TEMP WHEN IN BAKE, BROIL MODE.
SERVICE TECH BELIEVES DOUBLE RELAY IS NOT RESPONDING.
Repaired
Onoway, AlbertaDisplay is cracked and does not work on the stove part. Damage occurred when a heavy object fell and struck the touch control top at the bottom of the stove display.Replaced with reconditioned timer