KitchenAid Free Standing Electric Range YKERS507HWO Timer Repair

What is the timer/clock part number for the KitchenAid YKERS507HWO Free Standing Electric Range?

Timer part number 9753667CW for KitchenAid YKERS507HWO

The YKERS507HWO Free Standing Electric Range uses timer part number 9753667CW.

Do you have a failed KitchenAid YKERS507HWO control panel? Click here:

Request Appliance Timer Service

We can repair or replace your faulty KitchenAid YKERS507HWO timer.

YKERS507HWO are also sometimes referred to using these Alternative Names/Model numbers

Whirlpool YKERS507HWO Free Standing Electric Range, YKERS507HB1, YKERS507HB0, YKERS507HW1, YKERS507HW3, YKERS507HW2, YKERS507HB2, YKERS507HB3, YKERS507HW0

YKERS507HWO Schematic and Wiring Diagrams

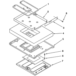
Cooktop Parts diagram
YKERS507HWO Free Standing Electric Range Cooktop Parts diagram
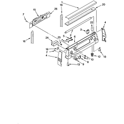
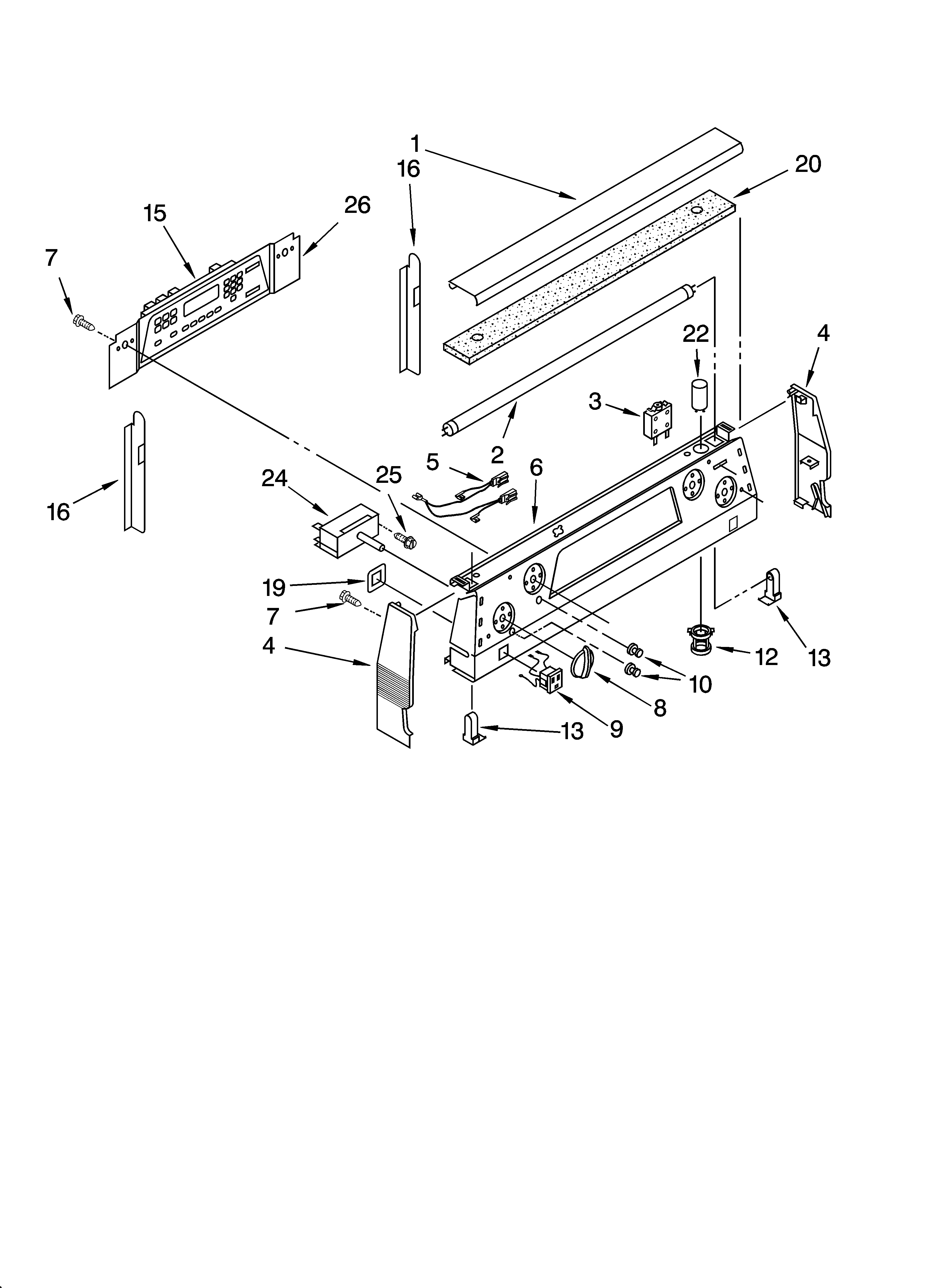
Control panel Parts diagram
YKERS507HWO Free Standing Electric Range Control panel Parts diagram
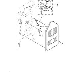
Door and drawer Parts diagram
YKERS507HWO Free Standing Electric Range Door and drawer Parts diagram
Oven chassis Parts diagram
YKERS507HWO Free Standing Electric Range Oven chassis Parts diagram
Oven Parts diagram
YKERS507HWO Free Standing Electric Range Oven Parts diagram
Rear chassis Parts diagram
YKERS507HWO Free Standing Electric Range Rear chassis Parts diagram
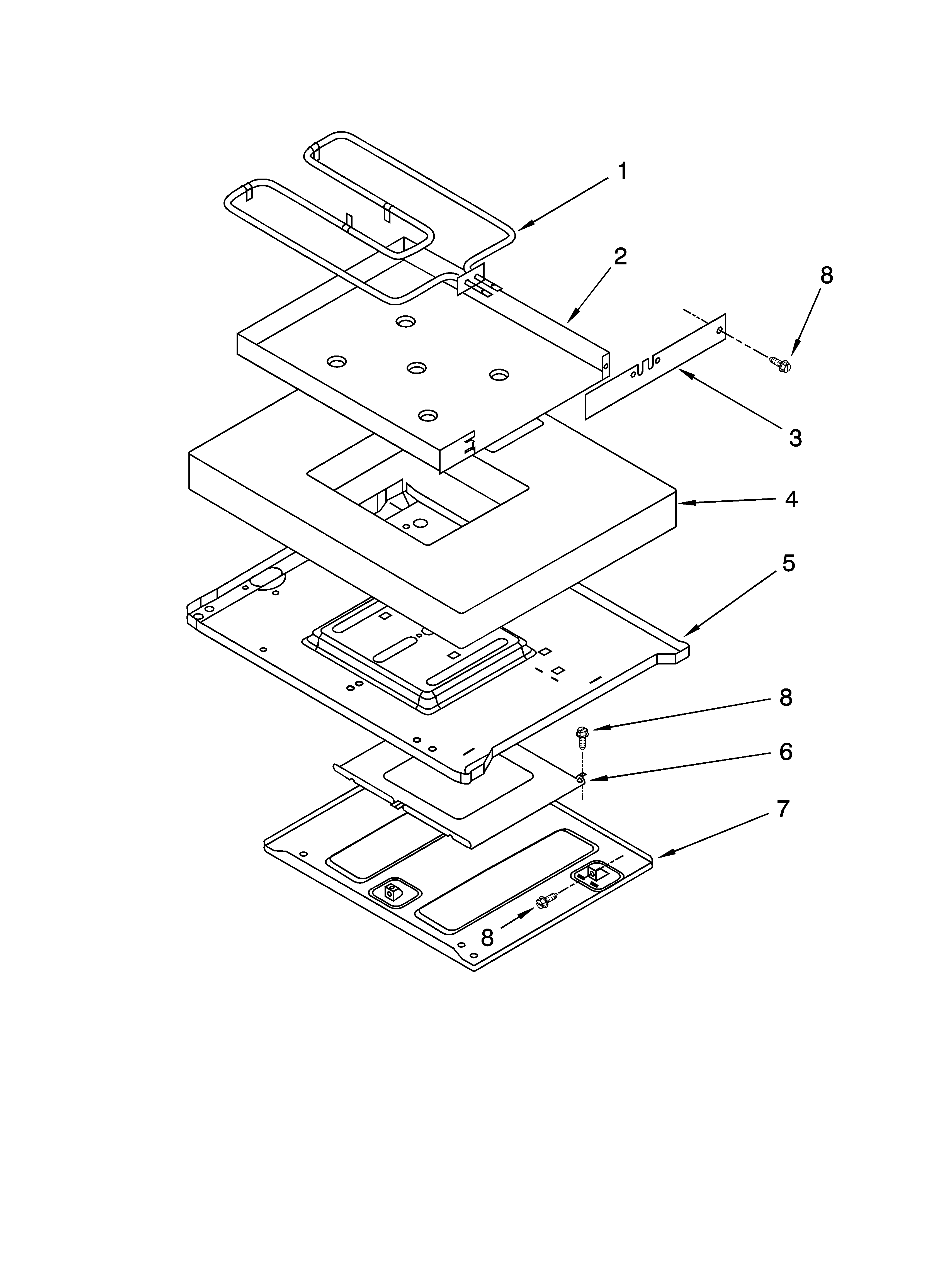
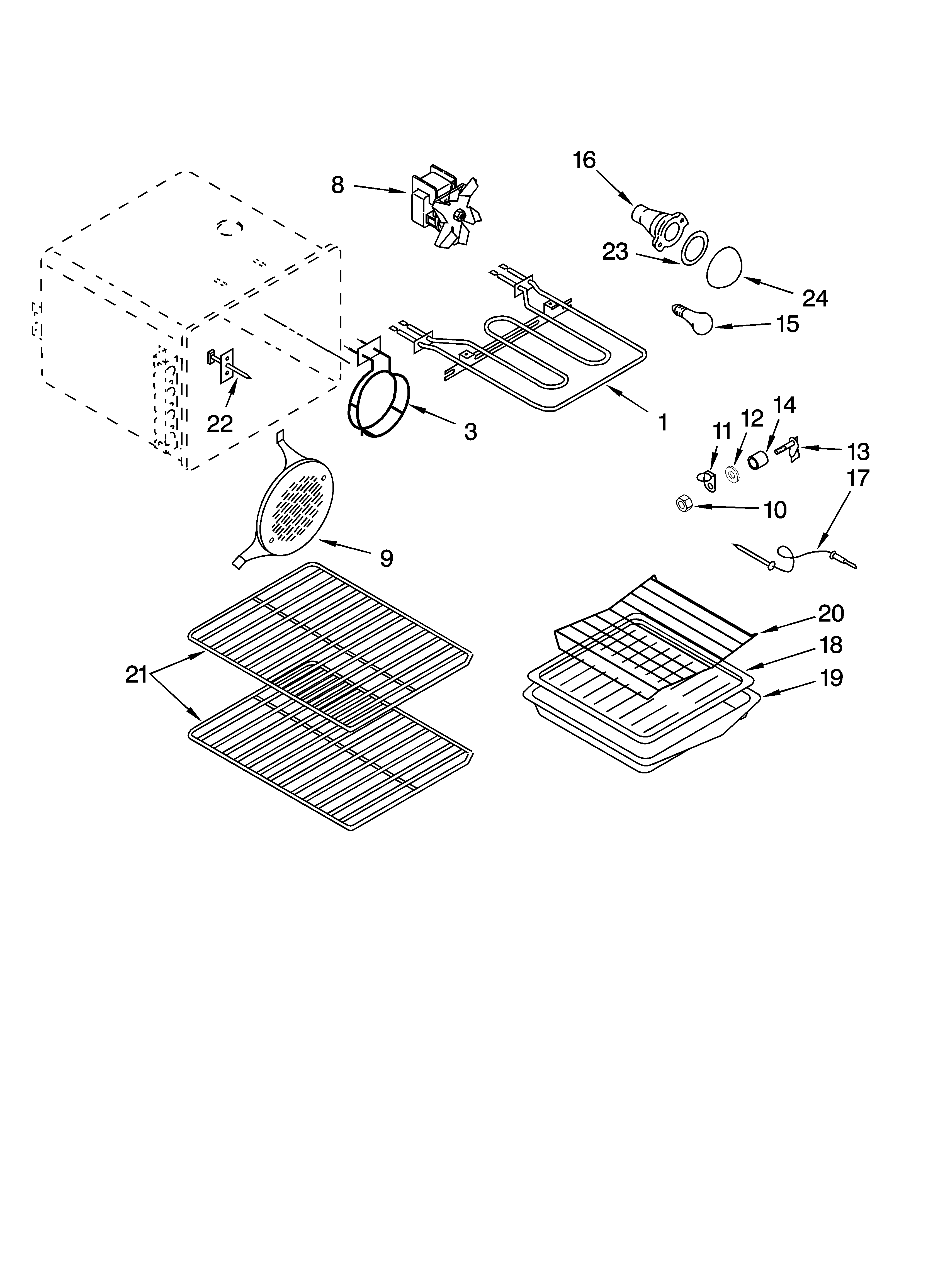
Hidden bake Parts diagram
YKERS507HWO Free Standing Electric Range Hidden bake Parts diagram

Recent Service Requests

CityProblem DescriptionResolution
Montreal, QuébecIt does'nt work anymore.Repaired
Montreal, QuébecIt does'nt work anymore.Repaired