Maytag WU1000 Timer Repair

What is the timer/clock part number for the Maytag WU1000 Dishwasher?

Timer part number 902241 (DV/92730 Rev. A) for Maytag WU1000

The WU1000 Dishwasher uses timer part number 902241 (DV/92730 Rev. A).

Do you have a failed Maytag WU1000 control panel? Click here:

Request Appliance Timer Service

We can repair or replace your faulty Maytag WU1000 timer.

WU1000 are also sometimes referred to using these Alternative Names/Model numbers

Whirlpool WU1000 Dishwasher

WU1000 Schematic and Wiring Diagrams

Control panel & components (wu902) (wu902) Parts diagram
WU1000 Dishwasher Control panel & components (wu902) (wu902) Parts diagram
Control panel & components (wu1000) (wu1000) Parts diagram
WU1000 Dishwasher Control panel & components (wu1000) (wu1000) Parts diagram
Front panel & access panels Parts diagram
WU1000 Dishwasher Front panel & access panels Parts diagram
Door assembly Parts diagram
WU1000 Dishwasher Door assembly Parts diagram
Pump assembly Parts diagram
WU1000 Dishwasher Pump assembly Parts diagram
Tub support (left) frame & water valves Parts diagram
WU1000 Dishwasher Tub support (left) frame & water valves Parts diagram
Tub support (right) base frame & motor Parts diagram
WU1000 Dishwasher Tub support (right) base frame & motor Parts diagram
Track & rack assembly Parts diagram
WU1000 Dishwasher Track & rack assembly Parts diagram
Tub assembly & components Parts diagram
WU1000 Dishwasher Tub assembly & components Parts diagram
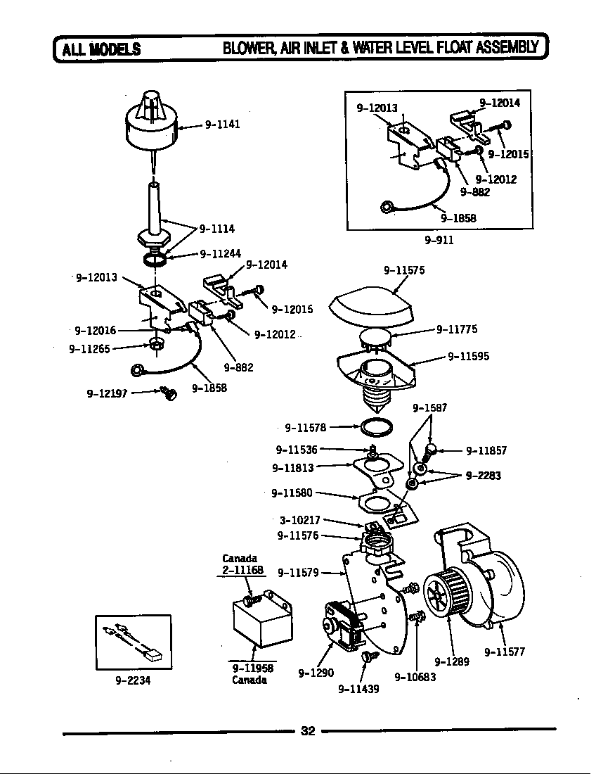
Blower/air inlet & water level float Parts diagram
WU1000 Dishwasher Blower/air inlet & water level float Parts diagram
Installation accessories Parts diagram
WU1000 Dishwasher Installation accessories Parts diagram

Recent Service Requests

CityProblem DescriptionResolution
Copley, OhioDishwasher does not turn on. need a new timer/control panel for WU1000.Awaiting receipt of timer
Butler, TennesseeTimer flashes 0 and will not program. I used to be able to reset the circuit breaker in the electric service panel and the washer would work. That is no longer an option.Beyond Repair
Butler, TennesseeTimer flashes "0" No functions work on the dishwasher. For a while I could turn the circuit breaker off to the dishwasher and reset to get the unit to work. That does not work anymore.Beyond Repair

Common problems for Maytag WU1000 Timer Repair

Are you encountering a similar problem as them? Contact us now and we will try to help you fix your WU1000 timer-related problem.
Dishwasher door gasket replacement Maytag WU1000 Serial 644419 PN Door gasket was hardened with age. I removed the existing gasket which was firmly held in place by plastic lugs protruding from the gasket which snap into slots in the door panel. I have an identical Maytag door gasket 901403 and its lugs fit into the irregularly spaced door slots perfectly but I can't get the lugs to snap in so the gasket is held securely to the door. What is the secret? Is there a special tool or technique required?
Maytag WU1000 Series 2 has no power, is there a fuse in the door or on the lower unit? Any other suggestion?
My whirlpool top loading model WTW57ESVW1 adds water at the end of the final spin cycle. I have changed out the clock but this did not fix problem. Need some help please.
I have an 'older' Maytag dishwasher WU 482. It has been working fine until recently. Currently it will not drain and will not work in any mode except low energy mode. When I turn the dial to other settings the clock runs (ticks) and the dial rotates thru the different cycles. I can hear it click as it enters a new cycle, but nothing works until it gets to the Low Energy cycle, then it fills up and goes thru a wash cycle. It finishes the wash cycle but does not drain. The dry cycle still works but the tub is full of water. The motor is working and the belt is in good condition. I recently replaced the drain switch fixture and the unti had been working for about a week after this replacement. I believe my kids were playing with the dial, cranking it around. I opened up the control panel and checked the wires and the connections, all look good, I did not do a voltage check yet. Could this be (1) an implerer/pump issue (2) clock motor or (3) clock board and motor unit. Is there a way to te
how do you remove the knob from the stem its attached to coming from the clock. the knob being the part your fingers touch as you set the clock
My washer is driving me nuts. Had a repair man look at it who claimed he could not do anything to repair the problem. Claimed he replaced the clock but still the same problem. Needless to say, I never hire HIM again! To me it appears as if it's the clock but I'm not sure. Could it be something else besides the clock? I have to manually move the dial on the clock to take it to the next cycle and then move it again to the next cycle, etc. Sometimes, at times, the washer ran fine through the cycles after this repair man's 'diagnosis' without additional manipulations on my part but lately it has been a dog. Hate to change the clock and find out it's something else. Also, I looked at the clock and it appears very hard to get at (out of reach so to speak) Any ideas anyone? Also, how hard it would be to change the clock on this particular model.
I am trying to replace the clock on my waqsher. I have the knob removede from the clock but still cannot get the actual clock off the control panel. Do I have to remove the black metal strip that is on the back of the control panel to get to the clock mounting screws? If so, how do i remopve it?
Washer only works (drains & spins) in any spin cycle. It is dead in all the wash cycles. Replaced clock but that did not fix the problem. Replaced load sensor switch less than a year ago. Don't know where to go from here...???
Dishwasher doesn't fill. Water intake valve is new. Voltage readings on the input and output of the electric switch which the float operates is 140v with the washer off, 140v when the washer "on" button is pressed, 26v and 140v respectively when the "RegWash" button is pressed to fill (unsuccessfully) the washer with water, about 250v when the motor kicks in to wash and about 268v if I hit the drain button. Mechanically, the float seems okay. Is the electric switch that the float operates bad or do I have another problem?
Maytag Dishwasher model WU1000. Soap dispenser fails to release. How can this be fixed? I do not have a repair manual. Leon Hawes
My Maytag Dishwasher WU1000 stopped working. The symptoms are........I can press the ON button and the RED On lights up. But when I go to select any of the WASH choices such as REGULAR WASH, the selection square does not light up and the wash cycle does not begin.
I have a Maytag dishwasher WU1000. I think it dates back to 1988? It is perfect, mechanically, but the touchpad has begun flashing all the leds with the number 88. If I get it to stop, it will display "bd". Do I need to replace the control panel?