Whirlpool Electric Built-In Oven With Microwave RM288PXV6 Timer Repair

What is the timer/clock part number for the Whirlpool RM288PXV6 Electric Built-In Oven With Microwave?

Timer part number 3148272 for Whirlpool RM288PXV6

The RM288PXV6 Electric Built-In Oven With Microwave uses timer part number 3148272.

Do you have a failed Whirlpool RM288PXV6 control panel? Click here:

Request Appliance Timer Service

We can repair or replace your faulty Whirlpool RM288PXV6 timer.

RM288PXV6 Schematic and Wiring Diagrams

Front cover Parts diagram
RM288PXV6 Electric Built-In Oven With Microwave Front cover Parts diagram
Microwave cabinet Parts diagram
RM288PXV6 Electric Built-In Oven With Microwave Microwave cabinet Parts diagram
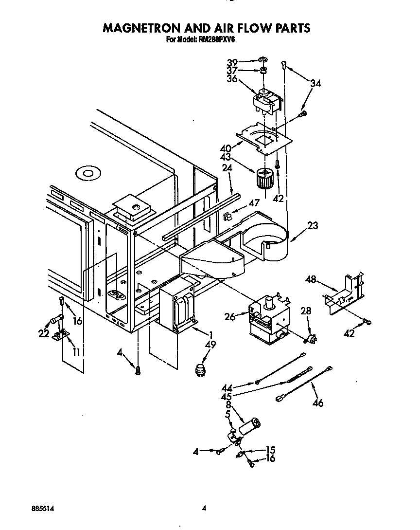
Magnetron and air flow Parts diagram
RM288PXV6 Electric Built-In Oven With Microwave Magnetron and air flow Parts diagram
Control panel Parts diagram
RM288PXV6 Electric Built-In Oven With Microwave Control panel Parts diagram
Stirrer drive Parts diagram
RM288PXV6 Electric Built-In Oven With Microwave Stirrer drive Parts diagram
Microwave door and latch Parts diagram
RM288PXV6 Electric Built-In Oven With Microwave Microwave door and latch Parts diagram
Wiring harness Parts diagram
RM288PXV6 Electric Built-In Oven With Microwave Wiring harness Parts diagram
Oven Parts diagram
RM288PXV6 Electric Built-In Oven With Microwave Oven Parts diagram
Oven door Parts diagram
RM288PXV6 Electric Built-In Oven With Microwave Oven door Parts diagram

Common problems for Whirlpool Electric Built-In Oven With Microwave RM288PXV6 Timer Repair

Are you encountering a similar problem as them? Contact us now and we will try to help you fix your RM288PXV6 timer-related problem.
The control panel seems to be working fine. I can select cook cycle and seconds and the clock will count down and triple beep when complete. I have checked all the door switches and they seem to be good. I have checked ohm readings on the 20 amp fuse and the thermal fuses and they seem to check OK. I am puzzled as to why the microwave refuses to radiate even though all these areas have been checked to be operational. What other parts could cause the microwave not to heat if the parts I described are in good working order? What other checks should I do and what other parts could be the culprit? I checked circuit board and there are no burn spots or evidence of bad components. in addition, I have viewed all parts such as transformer and magnetron and not able to see any visual problems.
I have an RM288PXV-4 built-in oven/microwave combo. The microwave works, but the oven will no longer heat, although I can hear the thermostat click when I turn it up. I assume that either the thermostat or relay is defective, but can't find a source for either. Any ideas? Don Rosen