Thermador Electric Drop-In Range RED30VQ Timer Repair

What is the timer/clock part number for the Thermador RED30VQ Electric Drop-In Range?

Timer part number 14-33-347 for Thermador RED30VQ

The RED30VQ Electric Drop-In Range uses timer part number 14-33-347.

Do you have a failed Thermador RED30VQ control panel? Click here:

Request Appliance Timer Service

We can repair or replace your faulty Thermador RED30VQ timer.

RED30VQ are also sometimes referred to using these Alternative Names/Model numbers

Bosch RED30VQ Electric Drop-In Range

RED30VQ Schematic and Wiring Diagrams

Electric burner box Parts diagram
RED30VQ Electric Drop-In Range Electric burner box Parts diagram
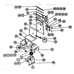
Main oven liner and module Parts diagram
RED30VQ Electric Drop-In Range Main oven liner and module Parts diagram
(drop-in) main body Parts diagram
RED30VQ Electric Drop-In Range (drop-in) main body Parts diagram
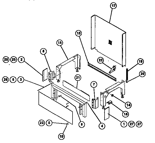
Downdraft and vtn30rq blower Parts diagram
RED30VQ Electric Drop-In Range Downdraft and vtn30rq blower Parts diagram
(drop-in) base w/toe kick panel assembly Parts diagram
RED30VQ Electric Drop-In Range (drop-in) base w/toe kick panel assembly Parts diagram
Main oven door assembly Parts diagram
RED30VQ Electric Drop-In Range Main oven door assembly Parts diagram

Recent Service Requests

CityProblem DescriptionResolution
Huntington Beach, CaliforniaControl panel LED is getting very dim. Everything else seems to be working fine.Awaiting receipt of timer
Lake Tapps, WashingtonVery dim display. I need a replacement ASAP, as I’m selling my home. So if you have a new or reconditioned unit that’s fine too if the repair on this one would take awhile with shipping etc. closing is July 21st and it needs to be installed no later than 3 days prior.Repaired
Sainte-marguerite du lac Masson, QuebecNumbers fadingRepaired
Baie D'Urfe, QuebecOven Beeping.
Display shows F1 error code.
Turning power off and on again did not solve the problem.
Repaired
Saint-Jean-Port-joli, QuebecVery hard to see numbersAwaiting receipt of timer
GAFFNEY, South Carolinabaking element not workingAwaiting receipt of timer
Durham, North CarolinaDim display and will not show oven temp. At allAwaiting receipt of timer
Seattle, WashingtonOven does not stay on Starts heating then shuts off and clock light blinks. I had a local appliance repair come and diagnose the problem. They told me to have a company refurbish and they will put it back in. It is my understanding from your website the turn around time is about 48 hours.Awaiting receipt of timer
Muskego, WisconsinPurchase a reconditioned timerAwaiting receipt of timer
Staten Island, New YorkTimer is functional but oven temperature and clock can not be readReplaced with new in-stock timer
Bellingham, WashingtonMy current timer has a dim LCD, I am purchasing a refurbished unit to replace it.Replaced with reconditioned timer
Boucherville,, QuébecBeyond Repair
Sandy Springs, GeorgiaOven temp will not exceed 250F
You repaired this timer Jan 13
Repaired
Sandy Springs, GeorgiaOven Temperature light failedRepaired
Riverdale, Marylanddim display and relayBeyond Repair
overland park, KansasMy timer light is too dim to see. I am replacing.Repaired
Calgary, AlbertaDisplay is dimRepaired
Boucherville,, QuébecBeyond Repair
Boucherville,, QuébecReplaced with reconditioned timer
Boucherville,, QuébecLe timer indique seulement l'heure. Toutes les autres foctions ne fonctionnent pas incluant l'alimentation du four et broilBeyond Repair

Common problems for Thermador Electric Drop-In Range RED30VQ Timer Repair

Are you encountering a similar problem as them? Contact us now and we will try to help you fix your RED30VQ timer-related problem.
my JENN_AIR MODEL WW27430B CONTROL DISPLAY IS EXTREMLY DIM. ALL THE FUNCTIONS APPEAR TO WORK. WHAT IS THE MOST LIKELY CAUSE?
i need to know what color, and what wires do what off the back off the ignition key are. i need to know what ones are what and the color. thanks mike 2003 vw jetta 1.8t 5 spd
Hi, I drive a VW Passat B5.5 1.9 TDI (Red I) 05' Model - Was Driving on a smooth road last Thursday evening when the Air-Bag Warning light came on and has stayed on. It happened before when it was under warranty and I was told it was a sensor beneath the rear seat. Have noticed however a rattle in the passenger seat (Seems to be something solid in the seat like possibly a 300mmx200mmx10mm panel that's loose). I know there are a number of sensors around the car so I brought it to the Main Dealer today who was ever so unhelpful. I've got it booked in but I dont want to take an afternoon off work next Friday for a loose connection. Any suggestions?
2000 VW Beetle, 1.8L Turbo - Red Engine Temp light flashes and beeps but engine temp is not overheated. Resevoir is full, replaced temp sensor at rear of engine. Turn ignition switch off and restart and light will go out for a minute or so and then come back on. A/C compressor goes off when temp light come on but does not come back on when light goes out, compressor eventually will come back on.
Car temp gauge goes to red after 30 to 40 miles. Mondeo 2ltr auto 2002. Just been serviced.oil changed and coolent flushed. Left running for 30 mins in garage and no sign of fault. After a 30 mile run it heats up again. Could it be a water pump?
My 2003 New beetle with 23k miles showed a red flashing hot engine light as I was driving last night. I stoped for about ten minutes and when i rurned the car on the check coolant light came on and again the flashing lihot engine light showed up. I checked the coolant level and it is fine , it is also red, what is the issue?
My 1987 vanagon waterboxer engine was recently rebuilt. Following the rebuild, The oil pressure light/buzzer have come on intermittently when the car deaccelerates from freeway speeds to a stop. During the last two months The mechanic has tried ALL remedies to fix it to no avail. I told him I wouldn't pay him until this issue was resolved. The day after this he told me he had fixed the car and sure enough No buzzer or red light, However I also noticed that the seat belt buzzer which ordinarily went off when I put keys in ignition and opened the car door, now no longer functions. Are the two areas connected? Could he have disabled something to make the oilpressure warning go off that also made the seat belt buzzer not function? Driving the car from California to the East coast and want to be sure my rebuild is good.
2000 VW beetle 2.0 -need the layout of fuses I am not able to get odbcII reader to work
My 2004 VW Jetta GLS has the red thermometer light and chime come on when the car is started. The temperature gauge slowly moves up then stops right in the middle of the oven. Is this an indicator that the water pump should be replaced, or something else (or just an annoying electrical glitch) ?
I have a thermador RED30VQ 30" elec drop in with vent. The switch that raises and lowers the vent burned out. I replaced the switch but the sheath that surrounded the cabling where it goes up/down inside the vent shroud is torn. I need to replace this to have the vent operate smoothly and not get stuck. I can't find the right part number to order it.
My oven is blinking (-F 1_) and beeping, the model is RED30VRS, and the serial number is XXXXX 3 02(NNN) NNN-NNNN00053. We have never seen this before. What should we do. Turned the power off for ten minutes and it still does the same thing.