KitchenAid Electric Slide-In Range KESC307HBT4 Timer Repair

What is the timer/clock part number for the KitchenAid KESC307HBT4 Electric Slide-In Range?

Timer part number 9781980 for KitchenAid KESC307HBT4

The KESC307HBT4 Electric Slide-In Range uses timer part number 9781980.

Do you have a failed KitchenAid KESC307HBT4 control panel? Click here:

Request Appliance Timer Service

We can repair or replace your faulty KitchenAid KESC307HBT4 timer.

KESC307HBT4 are also sometimes referred to using these Alternative Names/Model numbers

Whirlpool KESC307HBT4 Electric Slide-In Range

KESC307HBT4 Schematic and Wiring Diagrams

Cooktop/literature Parts diagram
KESC307HBT4 Electric Slide-In Range Cooktop/literature Parts diagram
Control panel Parts diagram
KESC307HBT4 Electric Slide-In Range Control panel Parts diagram
Door and drawer Parts diagram
KESC307HBT4 Electric Slide-In Range Door and drawer Parts diagram
Oven chassis Parts diagram
KESC307HBT4 Electric Slide-In Range Oven chassis Parts diagram
Oven Parts diagram
KESC307HBT4 Electric Slide-In Range Oven Parts diagram
Rear chassis Parts diagram
KESC307HBT4 Electric Slide-In Range Rear chassis Parts diagram
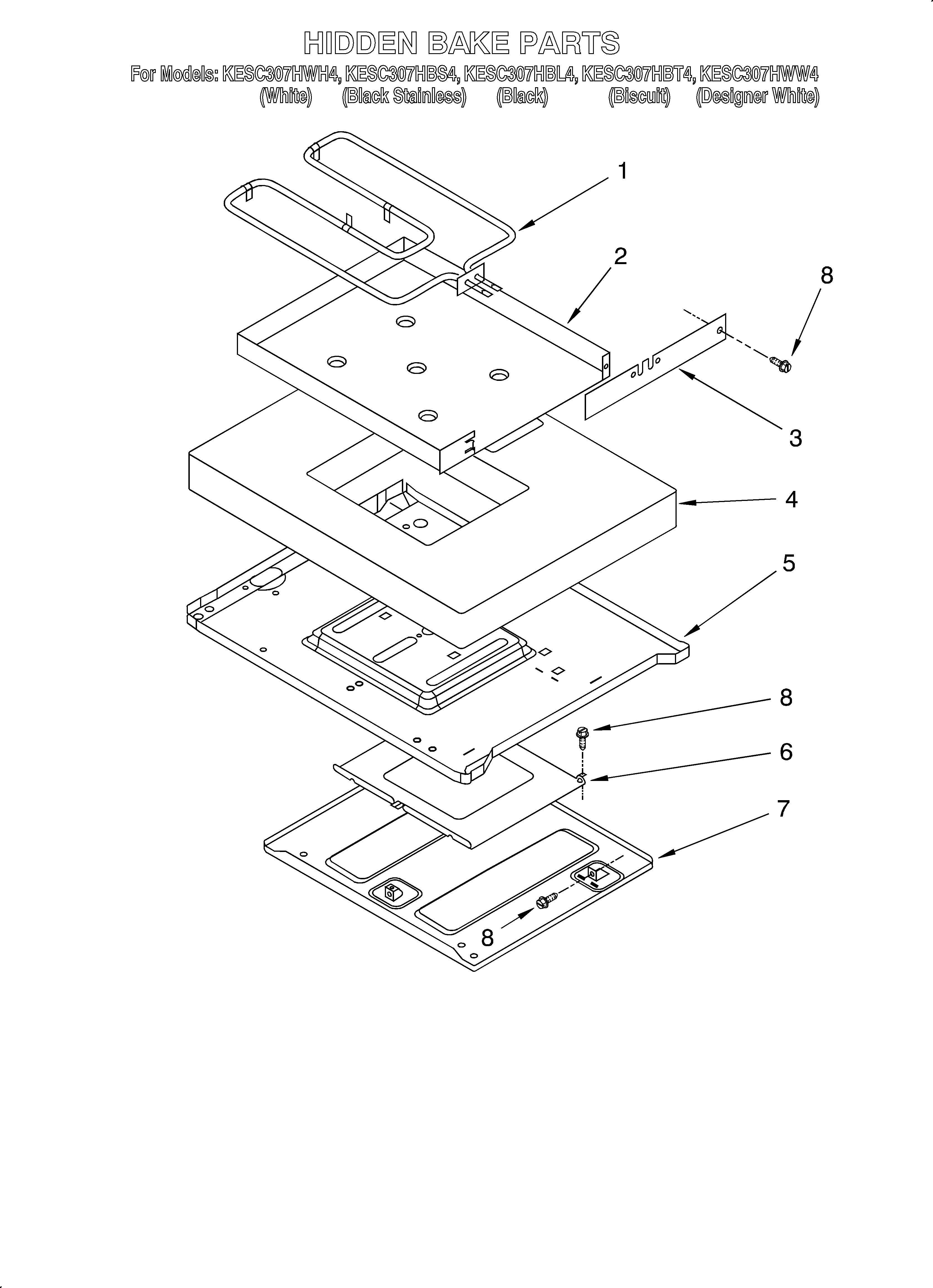
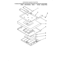
Hidden bake/optional Parts diagram
KESC307HBT4 Electric Slide-In Range Hidden bake/optional Parts diagram

Recent Service Requests

CityProblem DescriptionResolution
Westminster, ColoradoReplaced with reconditioned timer
Litchfield, Illinoistimer is dead will not bake, broil or self-cleanReplaced with reconditioned timer
Myerstown, PennsylvaniaThis unit is obviously damaged. The circuit board traces going to the bake output terminal are melted off... No voltage is output to the oven's bake element.
This problem was discovered after the bake element failed.
Replaced with reconditioned timer

Common problems for KitchenAid Electric Slide-In Range KESC307HBT4 Timer Repair

Are you encountering a similar problem as them? Contact us now and we will try to help you fix your KESC307HBT4 timer-related problem.
KitchenAid KESC307HBT4: Oven/Broiler/Convection Element are not heating. All of the failed together. Control panel display shows icon and I can hear relays click when I start them, but no heat. Top burners work so power is not the problem. Any ideas?
Kitchenaid KESC307HBT4: Oven burners not working. All three failed together. Checked relay in drawer compartment and have 120 vac to the coil when "Bake/Start" is pushed, relay activates and have 120 vac to the relay terminals, presumably feeding the burner elements, but still no heat. Elements are reading ok on the ohm meter. Relay is part number PS 402916 from part select. Any other switches interrupting the current flow?
My Kitchen Aid Oven worked great when I first got it but now it won't turn off unless I push the Cook Duration buton and then press 1 for 1 minute and then hit start. If I make an error in the timing I have to repeat it again. It took a lot of trial and error to figure out how to do this procedure to find something that would work. The off button just doesn't do anything and neither does the regular clock.
I have a Kitchenaid electric oven and the bake and broil elements won't heat. I found an open 20A fuse in the back of the oven. I tested to see if there are any shorts to ground starting at the fuse (inside heatshrink tubing about 6" from the terminal block) all the way to the control panel. The elements are not shorted to ground nor are there any damaged wires. I removed and inspected the control panel but no problems were visible. The thermal fuse below the control panel is ok. Does anyone have any suggestions? I would expect to find a short to groud to cause the fuse to open. Has anyone had a control board problem cause the fuse to open? My oven light does not turn on but it's had intermitant operation for quite some time with no effect on oven operation. I have no errors on the display and I hear the doubler relay activate when the oven is turned on. I can also see the contacts close on the bake relay located on the control panel.
Hi, I am trying to repair this slide in oven. It has no display on the oven controls. No clock, no beep, I can't get it to do any thing. The cooktop all works fine. I know the parts are expensive. Microcomputers, Touch pad ect. I would like get it on the first try if possible. Any Help??
My problem is with a Kitchen Aid electric oven model KERS807SSS00. About 30 minutes after 6 oz of water boiled over onto the oven top an intermittent beeping began and then "F2E1 - key stuck or short" error message displayed. The spill was quickly cleaned and never contacted the membrane switch. When I opened the oven it was dry inside so maybe the spill was coincidental to the problem...? I believe the problem is either the oven control board (p/n 9761799) or the membrane switch (p/n 9761566). When I unplug the ribbon cable to the membrane switch the error code remains on the display. Does this mean the problem is with the control board?
Hello, please help if you can: the range top works fine, oven has no power, control, heat....nothing, is it the high temp stat behind back panel? A repair manual with test procedures would be greatly appreciated Many
How do I install the Electronic clock (control panel). I have a new control panel to install, but need to remove the old one and install the new one in its place, need detailed instructions.
what does error code F5E3 on kitchenaid display mean. only clock and this code comes on no keypad controls work.
How do you get the bottom element out of the Kitchenaid Superba? It is aproximately(sp) 16 years old. The top is not problem. Is there a trick to it, Back, side, bottom? I figure it has to come out one way or another. I can't even see the bottom element. Thanks. Ben