KitchenAid Electric Range KERC500HWH3 Timer Repair

What is the timer/clock part number for the KitchenAid KERC500HWH3 Electric Range?

Timer part number 9782086CW for KitchenAid KERC500HWH3

The KERC500HWH3 Electric Range uses timer part number 9782086CW.

Do you have a failed KitchenAid KERC500HWH3 control panel? Click here:

Request Appliance Timer Service

We can repair or replace your faulty KitchenAid KERC500HWH3 timer.

KERC500HWH3 are also sometimes referred to using these Alternative Names/Model numbers

Whirlpool KERC500HWH3 Electric Range

KERC500HWH3 Schematic and Wiring Diagrams

Cooktop/literature Parts diagram
KERC500HWH3 Electric Range Cooktop/literature Parts diagram
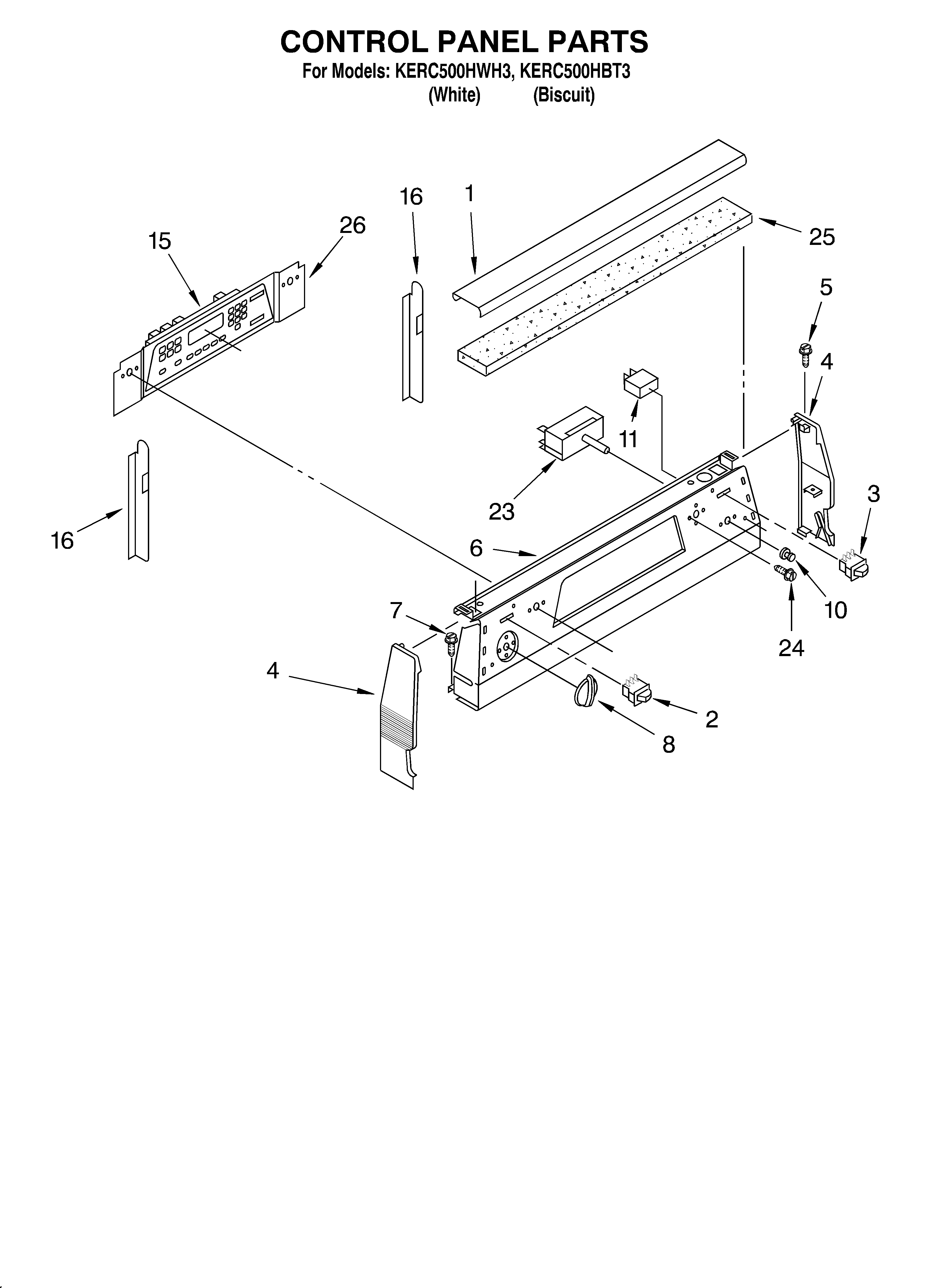
Control panel Parts diagram
KERC500HWH3 Electric Range Control panel Parts diagram
Door and drawer Parts diagram
KERC500HWH3 Electric Range Door and drawer Parts diagram
Oven chassis Parts diagram
KERC500HWH3 Electric Range Oven chassis Parts diagram
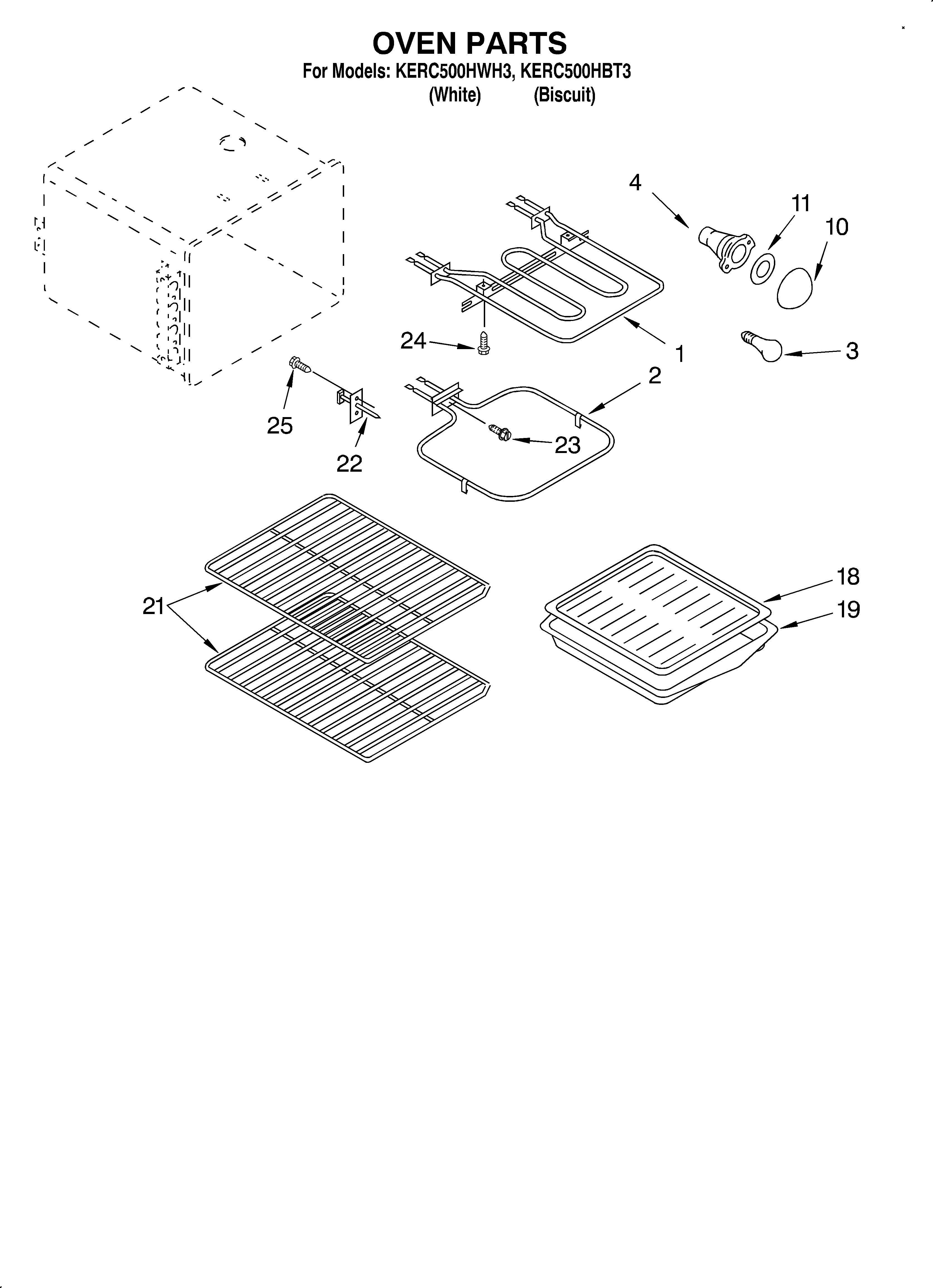
Oven Parts diagram
KERC500HWH3 Electric Range Oven Parts diagram
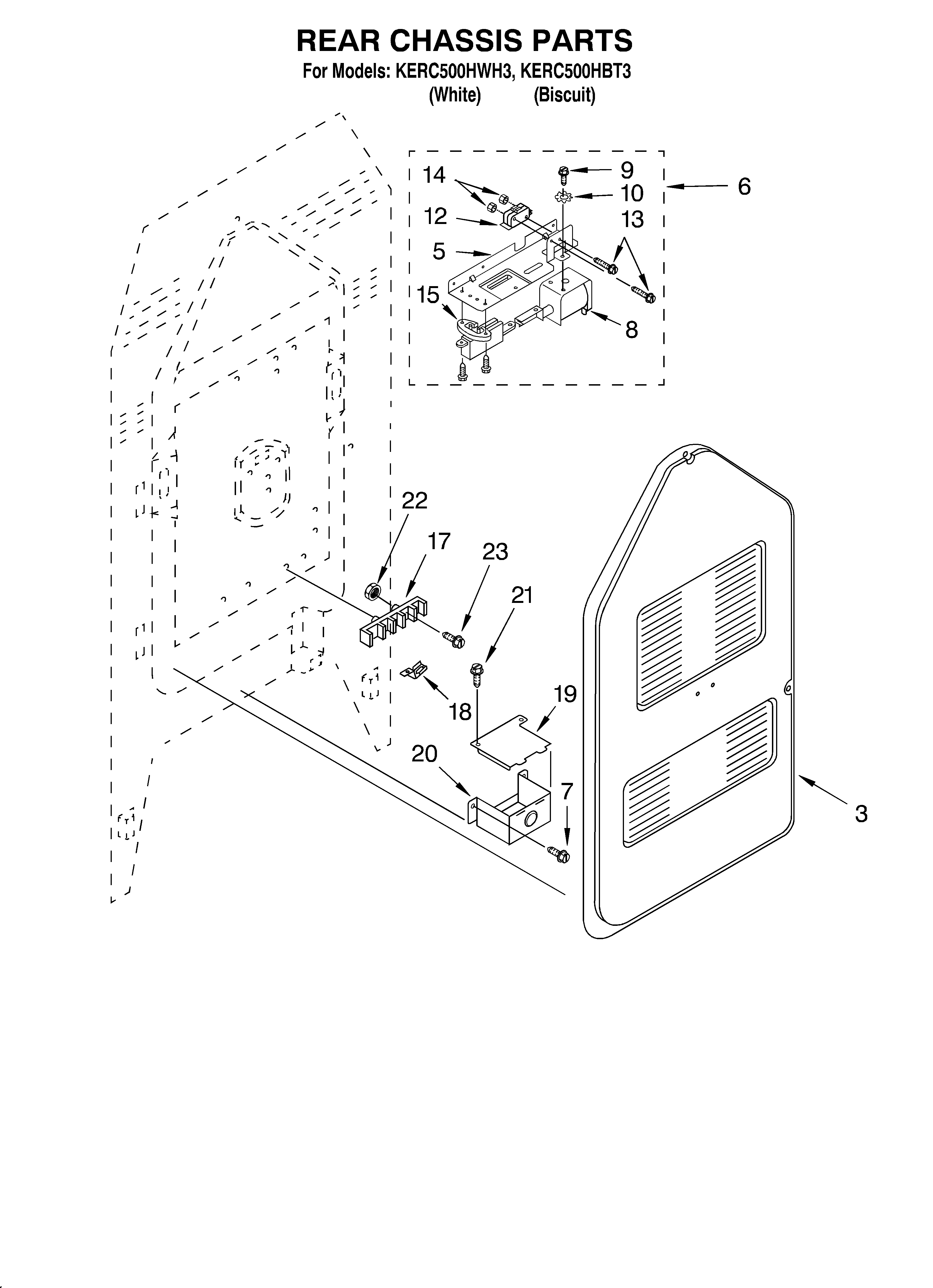
Rear chassis/optional Parts diagram
KERC500HWH3 Electric Range Rear chassis/optional Parts diagram

Common problems for KitchenAid Electric Range KERC500HWH3 Timer Repair

Are you encountering a similar problem as them? Contact us now and we will try to help you fix your KERC500HWH3 timer-related problem.
My Electronic Oven Control (EOC) board smoked - literally. There was black smoke coming out of it. I read that I should not replace just the EOC, but instead should replace the kit that included the User Interface Board (UIB), EOC, and Power Board. I got the kit, installed it one wire at a time, no problems. I powered up the range and it gives a "PF" code (power fail?). I tried to push the clock button to set the time but nothing happens when I push the button. None of the burner buttons work either. Do I have a defective EOC or do you think when the EOC smoked it also took out the Touch Sensor Electronic Control panel?
I'm having problems with this washer, it is locked. I disconected and plug-it again and nothing happens. HELP!!
Washer stops after agitating sequence. It will not drain, or move any further through the rest of the rinse cycle or spin. If I lower the drain hose, water flows out.
I have a Kitchenaid oven, the oven and broiler elements do not neat up, they are both ok, everything else on the oven works fine, the controls say the oven or broiler are on or preheating, they just don't heat. Occasionaly they will work if you cut the power and turn back on. Do I have a board issue?
Electric oven Model# XXXXX serial#IMP1340786, power outage and when it came back on it flashes E1 and F1. There is no reference to this in the hand book. The oven is not working, but all of the top works. If you could help.