General Electric Built-In Electric Oven JTP16GT1BB Timer Repair

What is the timer/clock part number for the General Electric JTP16GT1BB Built-In Electric Oven?

Timer part number WB27K5172 for General Electric JTP16GT1BB

The JTP16GT1BB Built-In Electric Oven uses timer part number WB27K5172.

Do you have a failed General Electric JTP16GT1BB control panel? Click here:

Request Appliance Timer Service

We can repair or replace your faulty General Electric JTP16GT1BB timer.

JTP16GT1BB are also sometimes referred to using these Alternative Names/Model numbers

GE JTP16GT1BB Built-In Electric Oven

JTP16GT1BB Schematic and Wiring Diagrams

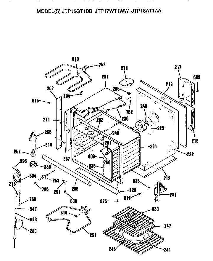
Replacement Parts diagram
JTP16GT1BB Built-In Electric Oven Replacement Parts diagram

Recent Service Requests

CityProblem DescriptionResolution
Dewey, ArizonaTimer seems to work but does not start ovenAwaiting receipt of timer
Kitty Hawk, North CarolinaIntermittent...sometimes it heats but most times it does not work.Awaiting receipt of timer