General Electric Electric Oven JTP14WT1WW Timer Repair

What is the timer/clock part number for the General Electric JTP14WT1WW Electric Oven?

Timer part number WB27K5195 for General Electric JTP14WT1WW

The JTP14WT1WW Electric Oven uses timer part number WB27K5195.

Do you have a failed General Electric JTP14WT1WW control panel? Click here:

Request Appliance Timer Service

We can repair or replace your faulty General Electric JTP14WT1WW timer.

JTP14WT1WW are also sometimes referred to using these Alternative Names/Model numbers

GE JTP14WT1WW Electric Oven

JTP14WT1WW Schematic and Wiring Diagrams

Control panel Parts diagram
JTP14WT1WW Electric Oven Control panel Parts diagram
Body Parts diagram
JTP14WT1WW Electric Oven Body Parts diagram
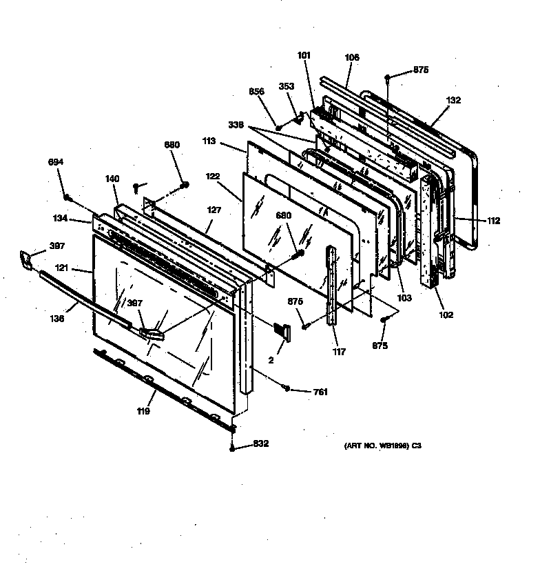
Oven door Parts diagram
JTP14WT1WW Electric Oven Oven door Parts diagram
Lock Parts diagram
JTP14WT1WW Electric Oven Lock Parts diagram

Recent Service Requests

CityProblem DescriptionResolution
Cedar Park, Texasoven wont turn on, when you touch bake button and turn to temperature it will not turn on, for a while I got it turn on by using the broil hi or low setting until the oven click on then set the temperature. Now it wont come on at all.Awaiting receipt of timer
Zeeland, MichiganThere is no display on clock, if bake or broil is selected it will not bake or broil.Beyond Repair
Coto de Caza, Californiathe oven used to turn off either before reaching the desired temperature, or shortly afterwards; oven basically would not stay on.Awaiting receipt of timer

Common problems for General Electric Electric Oven JTP14WT1WW Timer Repair

Are you encountering a similar problem as them? Contact us now and we will try to help you fix your JTP14WT1WW timer-related problem.
Hi, When my oven door is open, display shows it is locked. Also, when I close the door, the door gets locked, but self cleaning does not start. I hear clicking noise, but self cleaning does not start.
ge built in oven convection fan quit working. Still shows as working on control.