General Electric Electric Wall Oven JTP13GT1BB Timer Repair

What is the timer/clock part number for the General Electric JTP13GT1BB Electric Wall Oven?

Timer part number WB27K5195 for General Electric JTP13GT1BB

The JTP13GT1BB Electric Wall Oven uses timer part number WB27K5195.

Do you have a failed General Electric JTP13GT1BB control panel? Click here:

Request Appliance Timer Service

We can repair or replace your faulty General Electric JTP13GT1BB timer.

JTP13GT1BB are also sometimes referred to using these Alternative Names/Model numbers

GE JTP13GT1BB Electric Wall Oven

JTP13GT1BB Schematic and Wiring Diagrams

Control panel Parts diagram
JTP13GT1BB Electric Wall Oven Control panel Parts diagram
Body Parts diagram
JTP13GT1BB Electric Wall Oven Body Parts diagram
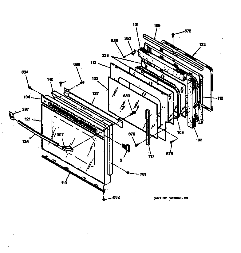
Oven door Parts diagram
JTP13GT1BB Electric Wall Oven Oven door Parts diagram
Lock Parts diagram
JTP13GT1BB Electric Wall Oven Lock Parts diagram

Recent Service Requests

CityProblem DescriptionResolution
Gig Harbor, WashingtonWhen power is turned on - oven beeps and flashes F1 on control panel display. When you turn the power supply off and turn back on again, oven immediately begins beeping again w/ F1 flashing.Beyond Repair

Common problems for General Electric Electric Wall Oven JTP13GT1BB Timer Repair

Are you encountering a similar problem as them? Contact us now and we will try to help you fix your JTP13GT1BB timer-related problem.
Hi we have just installed an over the oven GE model JVM1540SMC microwave. From the top of the gas oven to the bottom of the cupboards is 30 " We installed the microwave as per GE manual instructions It appears too low From the cook top gas oven to the bottom of the micro wave is 12" Should the microwave be higher? We are concerned about steam and heat on the touch pad of the microwave damaging it Please advise Peter Walsh Kingston Ontario
I have a maytag gas oven - Model No. MGR5752BDB. I just noticed that my display is blank with no fault codes. The range works. The oven light works. I looked in the manual and "reset" thinking the oven was in sabbath mode. This did not work. Do I need a new display? XXXXX XXXXX
GE Wall oven JTP13GT1BB shuts itself off around a minute or so after setting a bake temperature or hi/low broil setting. The oven control panels correctly and the temp display and clock work fine - until the temp display goes off when oven shuts off. No error codes display. The control panel buttons work fine. Do I need to replace the control board/clock (GE oven Electronic Control WB27K5195) or address this is some other way? Thanks
My Amana gas oven display panel is blank