What is the timer/clock part number for the General Electric JTP11WS2WG Electric Wall Oven?
The JTP11WS2WG Electric Wall Oven uses timer part number 255362.
Do you have a failed General Electric JTP11WS2WG control panel? Click here:

We can repair or replace your faulty General Electric JTP11WS2WG timer.
JTP11WS2WG are also sometimes referred to using these Alternative Names/Model numbers
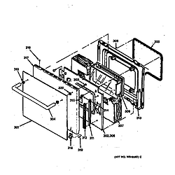
GE JTP11WS2WG Electric Wall Oven
JTP11WS2WG Schematic and Wiring Diagrams
| City | Problem Description | Resolution |
|---|
| Hoover, Alabama | F1 Fault Code | Awaiting receipt of timer |
| BELL, Florida | OVEN DOESN'T HEAT TO THE RIGHT TEMPERATURE. I REPLACED THE TEMPERATURE PROBE, AND THAT DIDN'T FIX THE PROBLEM. AN ERROR CODE F1 CAME UP. AFTER CONTINUOUSLY PRESSING THE OFF BUTTON THE OVEN FINALLY STOPPED BEEPING AND CODE WENT AWAY. DOES NOT GO THROUGH A PRE-HEAT CYCLE, IF YOU SET A TEMPERATURE, IT READS THAT TEMPERATURE AND AUTOMATICALLY BEEPS AS IF IT IS READY. A THERMOMETER PLACED INSIDE OVEN ONLY READ APPROXIMATELY 125 DEGREES. A FEW WEEKS AGO WHEN THE OVEN WAS SET AT 350 DEGREES THE TEMPERATURE INSIDE WAS ABOUT 300-325 DEGREES. SEEMS LIKE IT WAS FAILING EVEN MORE. IF YOU THINK THIS IS A FIXABLE PROBLEM, I AM WILLING TO TRY IT VERSES BUYING A NEW OVEN. PLEASE LET ME KNOW, IF YOU DO NOT HAVE A REFURBISHED REPLACEMENT ON HAND. THANKS | Beyond Repair |