What is the timer/clock part number for the General Electric JTP10GS3BG Electric Wall Oven?
The JTP10GS3BG Electric Wall Oven uses timer part number erc-14500-mc.
Do you have a failed General Electric JTP10GS3BG control panel? Click here:

We can repair or replace your faulty General Electric JTP10GS3BG timer.
JTP10GS3BG are also sometimes referred to using these Alternative Names/Model numbers
GE JTP10GS3BG Electric Wall Oven
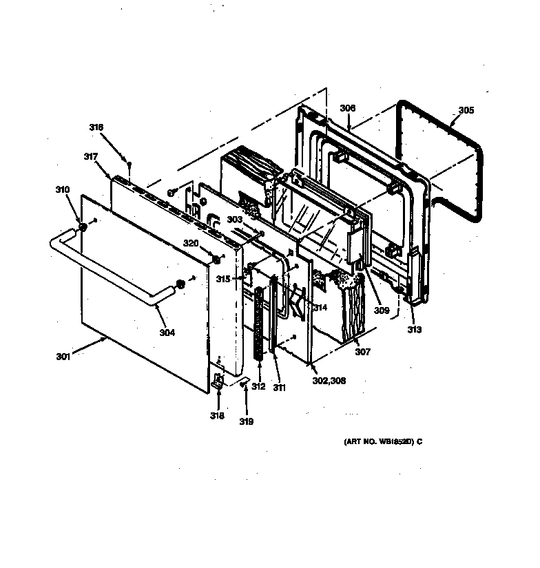
JTP10GS3BG Schematic and Wiring Diagrams
| City | Problem Description | Resolution |
|---|
| Los Gatos, California | The oven temp is now too low by approx 100 deg F. ie to get the oven temp up to 350, you need to set teh temp to 450 deg F. I have replaced the temp probe and verifieds the 1100ohm continuity to the timer board. IO have measured continuity and resistance for teh bake coil and it is in spec at 21ohms. Was working fine until recently. Oven >20 yrs old. I would liek a reconditioned one if you have it, otherwise repair mine is OK. | Awaiting receipt of timer |
| Colchester, Vermont | All features of the oven are working. Recently, actual temperature has lagged the set temperature by 100 to 150 degrees. | Awaiting receipt of timer |
| Baton Rouge, Louisiana | Immediately upon installation of previously repaired timer
(see invoice history 110955) received October 24, installed by
appliance service) began beeping and displaying F-1 as original problem when shipped to you for repair. Does not turn on or off, just makes constant alarm beep.
May we send back to try repair again. We wanted to purchase a second back up but you indicated none in stock. | Beyond Repair |
| West Bend, Wisconsin | F1 error code and beeping. Able to use oven. When oven is turned off, code re-appears and beeping starts. Have to remove breaker power to silence. Keypad continuity okay. No shorts between any keypad conductors. | Repaired |
| Beaumont, Texas | The oven shuts off after 30-40 seconds and never reaches cooking temperature. The oven setting temperature is never reached before the entire panel turns off. The clock does work in spite of the temperature setting shutting off. | Repaired |
| Baton Rouge, Louisiana | Will not stay on, automatically cuts off without regard to time set
If cannot be repair, can a rebuilt replacement be obtained. | Repaired |
| Beaumont, Texas | The oven shuts off after 30-40 seconds and never reaches cooking temperature. The oven setting temperature is never reached before the entire panel turns off. The clock does work in spite of the temperature setting shutting off. | Repaired |
| Beaumont, Texas | The oven shuts off after 30-40 seconds and never reaches cooking temperature. The oven setting temperature is never reached before the entire panel turns off. The clock does work in spite of the temperature setting shutting off. | Repaired |
| ORANGE, CT., Connecticut | TEMPERATURE IS NOT ACCURATE (OFF) | Repaired |
Common problems for General Electric Electric Wall Oven JTP10GS3BG Timer Repair
Are you encountering a similar problem as them? Contact us now and we will try to help you fix your JTP10GS3BG timer-related problem.