What is the timer/clock part number for the General Electric JTP10GS1BG Electric Wall Oven?
The JTP10GS1BG Electric Wall Oven uses timer part number wb27x5482.
Do you have a failed General Electric JTP10GS1BG control panel? Click here:

We can repair or replace your faulty General Electric JTP10GS1BG timer.
JTP10GS1BG are also sometimes referred to using these Alternative Names/Model numbers
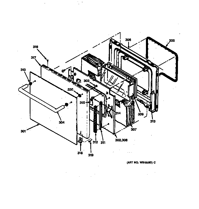
GE JTP10GS1BG Electric Wall Oven
JTP10GS1BG Schematic and Wiring Diagrams
| City | Problem Description | Resolution |
|---|
| Arlington, Texas | Press Bake = BAKE flashes
Select Temp = BAKE & ON stay lit, temp starts counting at 100, but oven shuts off after 20-30 seconds
Similar results with BROIL
Limit switches, OVEN SENSOR, & elements test good with proper continuity and resistance | Repaired |
| Johnston, Rhode Island | Display shows F1 and beeps constintly. No oven functions work. | Awaiting receipt of timer |
| Medford, Oregon | oven will not pre heat, pad immediately goes to 350degrees. | Beyond Repair |
| Medford, Oregon | oven will not pre heat, pad immediately goes to 350degrees. | Beyond Repair |
| Medford, Oregon | oven will not pre heat, pad immediately goes to 350degrees. | Beyond Repair |
| Medford, Oregon | oven will not pre heat, pad immediately goes to 350degrees. | Beyond Repair |