General Electric Electric Range JMP28BW1AD Timer Repair

What is the timer/clock part number for the General Electric JMP28BW1AD Electric Range?

Timer part number WB27K5140 for General Electric JMP28BW1AD

The JMP28BW1AD Electric Range uses timer part number WB27K5140.

Do you have a failed General Electric JMP28BW1AD control panel? Click here:

Request Appliance Timer Service

We can repair or replace your faulty General Electric JMP28BW1AD timer.

JMP28BW1AD are also sometimes referred to using these Alternative Names/Model numbers

GE JMP28BW1AD Electric Range

JMP28BW1AD Schematic and Wiring Diagrams

Cooktop & control panel Parts diagram
JMP28BW1AD Electric Range Cooktop & control panel Parts diagram
Body Parts diagram
JMP28BW1AD Electric Range Body Parts diagram
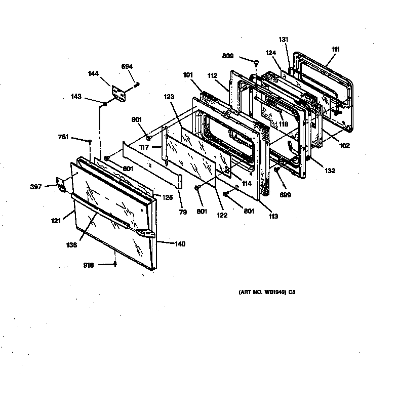
Oven door Parts diagram
JMP28BW1AD Electric Range Oven door Parts diagram
Door lock Parts diagram
JMP28BW1AD Electric Range Door lock Parts diagram

Recent Service Requests

CityProblem DescriptionResolution
Mobile, Alabama1. Could not lower temperature once it was set. The "lower the temperature" button does not work. To lower the temperature I had to turn the circuit breaker for the range off and back on to reset the temperature back to 170 and then raise the temp to the desired setting.
2. The oven control unit is now DEAD with no LED lights lit and nothing on the control unit works. Burners on the stove top still work.
Repaired
Mobile, Alabama1. Could not lower temperature with once it was set. The lower temperature button didn't work. To lower temperature once it was set, I had to turn range power breaker off and then back on.
2. Oven control unit is now dead with no LED lights lit and nothing on the timer works. Burners on the stove however do work.
Repaired
Moscow, IdahoOven broil or bake does not work; no readable displayRepaired
Moscow, IdahoOven bake and broil do not work.Repaired
Moscow, IdahoOven baking element does not heat but broiler element seems to work. Replaced baking element but did not fix the problem. When hitting the bake option on the control panel. hear a "click" shortly after doing so and element does not heat up.Repaired
Moscow, IdahoOven baking element does not heat but broiler element seems to work. Replaced baking element but did not fix the problem. When hitting the bake option on the control panel. hear a "click" shortly after doing so and element does not heat up.Repaired
CINCINNATI, OhioOVEN WILL NOT COME ONRepaired
LOVELAND, OhioOVEN IS NOT WORKINGRepaired
HIALEAH, FloridaUNIT WILL NOT BAKE OR BROIL. TEMP DISPLAY DOESN'T GIVE CORRECT NUMBERS.Repaired

Common problems for General Electric Electric Range JMP28BW1AD Timer Repair

Are you encountering a similar problem as them? Contact us now and we will try to help you fix your JMP28BW1AD timer-related problem.
My wall mounted GE oven element recently broke. While using the oven, the oven made a loud bang sound and it appears that the lower electric element broke in half, with one end of the broken end coming in contact with the bottom of the oven. It now appears that the unit has no power coming to it, the oven light does not operate when the door is opened and the clock and ready light do not seem to operate. I checked breakers and none seem to be tripped. Will replacing the element remedy the power problem or do I need to check/replace something else as well? Any ideas would be greatly appreciated.
Thread posted in early 2010 by Benedict5 seems to be same issue but no responses, so I'll ask again: The Jenn-Air microwave clock gains/loses time. (Cooks fine. Other touch controls work fine. Oven below works fine, as does it's touch controls.) Diagnosis? Is there a particular part to replace to fix this Jenn-air's problem? Jeff K /APP master-san answered a similar question, and I hope he or another guru will answer.
Front panel all works fine. When I set the clock, press start, the light on the inside doen not come on and no microwave is running. Just the clock starts counting down. When the clock hit 0, it beeps. If I press the opening button slightly, the light on the inside doen come on and microwave is running. I need to press the button all the time. If I press the button hard the door opens and if I press the button less, only clock works.
I need to knowing the configuration of the wiring for the control. The new one is a little different than the old one.