General Electric Electric Wall Oven JKP44GP2BG Timer Repair

What is the timer/clock part number for the General Electric JKP44GP2BG Electric Wall Oven?

Timer part number WB27K5047 for General Electric JKP44GP2BG

The JKP44GP2BG Electric Wall Oven uses timer part number WB27K5047.

Do you have a failed General Electric JKP44GP2BG control panel? Click here:

Request Appliance Timer Service

We can repair or replace your faulty General Electric JKP44GP2BG timer.

JKP44GP2BG are also sometimes referred to using these Alternative Names/Model numbers

GE JKP44GP2BG Electric Wall Oven

JKP44GP2BG Schematic and Wiring Diagrams

Control panel Parts diagram
JKP44GP2BG Electric Wall Oven Control panel Parts diagram
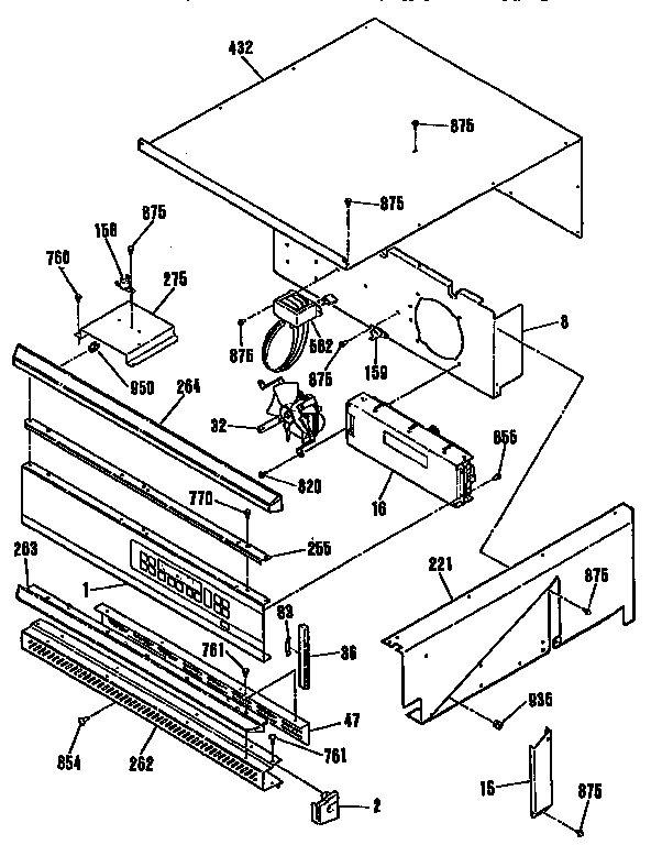
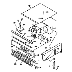
Main body Parts diagram
JKP44GP2BG Electric Wall Oven Main body Parts diagram
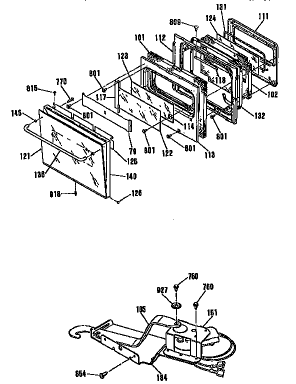
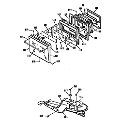
Door and lock Parts diagram
JKP44GP2BG Electric Wall Oven Door and lock Parts diagram

Common problems for General Electric Electric Wall Oven JKP44GP2BG Timer Repair

Are you encountering a similar problem as them? Contact us now and we will try to help you fix your JKP44GP2BG timer-related problem.
Hi, I have a built in GE electric doubble oven, the control module(top oven) is frozen with what looks like all 8’s across the LED screen. I have disassembled it and I “think” I can narrow the problem down to either the control module or the control panel assembly. Is there an easy way to test out either one, or am I looking at a crap shoot here… Model #JKP27WOW1WW Terry
I have a GE Oven (JKP26GP3BG) that is about 17 years old. It does not come up to the temperature that you set it at. For example, set it at 350 degrees and it gets to about 200. The bottom element comes on and will cycle on and off. I have replaced the temperature sensor and it did not work. I was told by the repair shop to swap the wires and I did so and it still is doing the same thing. No error codes are being displayed. I cut the wires to the sensor and used the wire nuts that came with the part to keep from removing the oven from the wall. Any suggestions?
Limit Switch Part Number: AP2023975 made by GE Is this the switch that is contained BETWEEN the Upper and Lower ovens? I can not set and turn on the bottom oven, but the top oven DOES work. Is this the part and does it work like a thermostat? The problem is that the lower oven does not go on. When the temp is set and the oven button is pushed to put the oven on the LCD display reads 100 degrees (which it always does until the internal temp increases) then after about 30 seconds the system shuts off. Does the above part fix this problem? Please reply at vincentc1@earthlink.net as soon as you can as my wife is standing over me....you get the picture..... Regards, Vincent
My analog clock/clock died on my GE double built-in oven. I ordered the replacement part WB19X10006 and installed it. The only problem I have is that the bottom oven will no longer clean. The SET light comes on; the CLEANING light comes on. But TEMP light does not come on; LOCKED does not come on; and oven never starts heating. The top oven works as it should. Is there a setting on the new part that has not been addressed for a built-in double oven??? Can anyone help me get my appliance back in the A1 condition it was in before the clock went out?
When you activate the oven using the touchpad the bake lite comes on and the temp shows 100 Deg. and it is flashing. Then the lite becomes steady and the ON lite comes on and stays on for 30 seconds. Then all lites go off. No clicking sound is heard. Sometimes it operates normally and comes up to the set temperature and when this happens you hear a click. Do you know what component I need to replace?
Please help me figure out this problem. My GE oven does not show any sign of life. The oven light, the clock, the heat, the display.....nothing works. I checked continuity in both limit switches, and both read 0 ohms, so closed circuit as far as I can learn from this forum. I checked that there is 240v with the red/black, and that there is 115v black/white and red/white. I replaced the oven control. So, if it has power, is properly wired, and the control is new, why would it not work?
My wife was using the oven (all day) and heard some sort of low 'popping" nose, then found it was no longer getting above 240ish. She turned it off and used the lower oven, only to later realize that the top oven was still heating and the bake element had a spot in the back corner glowing red, despite all control indictors being off. I flipped off the breaker to eliminate this. Used the oven next day, same problem. Left it off (at breaker) for 2 days, and turned on today to diagnose. No more heat/red spot, but doesn't work at all. Broil on top works fine, so does clock and other clock controls. Is it simply the bake element? Or should I look elsewhere before ordering parts?
I just purchased a used ge 27 inch wall oven. The previous owner swore up and down that just weeks ago it worked flawlessly. I plug it in and it reads 244v at the control panel. But it does not show any sign of life. Not even the oven light, clock, Bupckus! Goose Egg. Nada. I am hoping there is an easy fix that does not entail purchasing a new oven control. I do not know exactly how old the unit is, but it does appear to be in good shape (less the power problem of course). Any ideas?
how do you remove theclock/oven control panel from the double oven? Is a repair manual available? Do you have any comment on services that repair control panels?