|
||||||
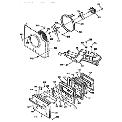
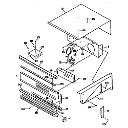
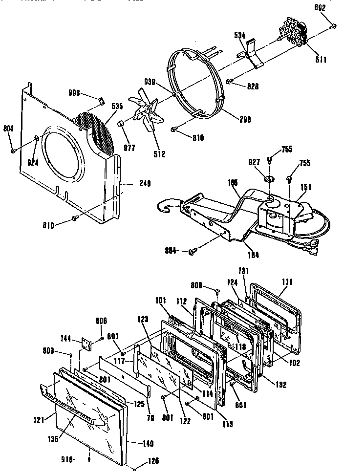
General Electric Electric Wall Oven JKP17WT1WW Timer RepairJKP17WT1WW are also sometimes referred to using these Alternative Names/Model numbersGE JKP17WT1WW Electric Wall Oven JKP17WT1WW Schematic and Wiring DiagramsCommon problems for General Electric Electric Wall Oven JKP17WT1WW Timer RepairAre you encountering a similar problem as them? Contact us now and we will try to help you fix your JKP17WT1WW timer-related problem. My oven heats and cooks for a while then it absolutely shuts down . There is nothing lite on the display and no buttons respond, the light in the oven works. After a while the clock will flash like a power failure, but when I reset the controls it goes blank again then I wait to let it cool down and reset and it will cook for awhile again. There has been some sort of code flash but so quickly I could not tell what it was, one time I had 8's across the display briefly. Any suggestions other than a service call? Oven will not heat. Keeps flashing "door locked" but oven door is not locked. After pressing buttons, you get f3. Flashing of "door locked" will not stop. Oven will not heat. clock works. What should I check or replace? This is a GE Built in Electric Oven. Model # JKP158W1BB When you set the temp to say 300 and turn the oven on as it starts to heat the Broiler and take it over temp. And then you get an F2 Failure Code. I have tried turning off the Elect for 15 min and turning back on, NO help. Checked the points under the covers on the control board for both the Bake and Broil and they look good and are not stuck. Checked the top switch on the door lock and it looked OK. Checked the Lock circuit thermal switch and it is closed (N.C.) Changed the Sensor Assy WB21X5301 (long prob that looks like a bimetallic wires in a tube, thermal couple?) and that did not help. What next??? Any help would be appreciated. Michael N. |
||||||
|
||||||