General Electric Gas Range JGBP79WEW1WW Timer Repair

What is the timer/clock part number for the General Electric JGBP79WEW1WW Gas Range?

Timer part number WB12K0019 for General Electric JGBP79WEW1WW

The JGBP79WEW1WW Gas Range uses timer part number WB12K0019.

Do you have a failed General Electric JGBP79WEW1WW control panel? Click here:

Request Appliance Timer Service

We can repair or replace your faulty General Electric JGBP79WEW1WW timer.

JGBP79WEW1WW are also sometimes referred to using these Alternative Names/Model numbers

GE JGBP79WEW1WW Gas Range

JGBP79WEW1WW Schematic and Wiring Diagrams

Gas burner Parts diagram
JGBP79WEW1WW Gas Range Gas burner Parts diagram
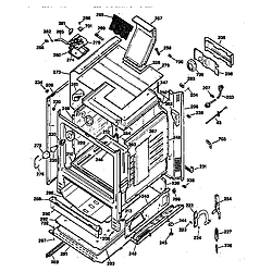
Cooktop Parts diagram
JGBP79WEW1WW Gas Range Cooktop Parts diagram
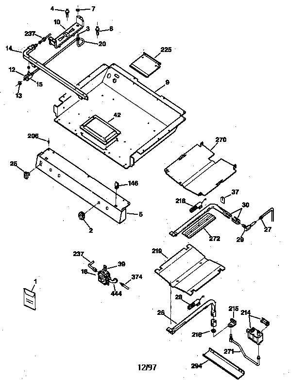
Body Parts diagram
JGBP79WEW1WW Gas Range Body Parts diagram
Door & drawer Parts diagram
JGBP79WEW1WW Gas Range Door & drawer Parts diagram

Recent Service Requests

CityProblem DescriptionResolution
London, OntarioGas range oven problem started with lower element not working, Upper did work. Service technician tested gas igniter as OK and reported the board/relay bad. I replaced both relays and all worked. About a month later F3 code appeared during a cook cycle. Tests of the oven with separate thermometer check out a various temp. But on occasion failed with an F3 code.Repaired
Schenectady, New YorkI am providing here timer p/n after removal, previous sent email, and received following reply: Please reply back ASAP

You need a new touchpad

Regards,

Howard Simons
ApplianceTimers.com
1-888-519-1939



On Mon, Apr 25, 2016 at 11:46 PM, Francisco Hernandez <> wrote:


Thank you for entering the details of your timer problems into our system. We will check our inventory for a reconditioned timer that matches your failed timer and we will let you know whether we have a replacement. If we do not have a replacement, and you wish to send your timer in for repair, Please print this email and send it along with your timer. You can cut off the bottom portion of the email to use as your shipping labels.

Customer Information
Repaired
Mason, OhioI received my repaired timer this week and am delighted that the oven is once again operational. Unfortunately, the clock speed is traveling at twice the normal speed. Every 30 seconds or so the minute advances. This will affect my timed bakes or delayed start. I just can't do that much math to guess what the time will be when I need it. It appears that everything else is operational.Beyond Repair
Mason, OhioThe controls for the oven are completely blank. No lights, no beeps. The power works because the stove ignites and the light turns on. Nothing happened when I tried to reset it by unplugging/plugging in the appliance.Repaired
Okotoks, Alberta1) Display is very dim, nearly can't read.
2) Oven does not come to set temperature. Beeps to indicate ready at a temperature well below setting. Slowly rises a bit but does not reach set temperature. (Temperature sensor thermister replaced but made no difference.) No Failure Codes. Might have been intermittent for a while but is always a problem lately.
Repaired
Windsor, OntarioThe timer made a popping sound and the display went blank. Well, mostly blank - ghost letters were visible but, they could not be read.
Does not respond to any inputs.
Beyond Repair
Whitby, OntarioAs soon as connect to power, There is an alarm beep and the screen shows F1 code.Repaired
Ancaster, OntarioIntermittent F3 error. Oven will work sometimes and then not others. It has turned off the oven by itself as it preheated. It has heated to the right temperature and then worked for 15 to 20 minutes and then F3 error. I replaced the oven temperature sensor. It tested at 1100 Ohms. I then checked the wiring to the timer board and it also checked at 1100 Ohms. Hopefully the problem is with the board and it can be repaired. It is out and ready for shipping. When I removed it the E7 ground connector broke off so it can hopefully be repaired too. It is 23 years old so I guess it was brittle.Repaired
Mississauga, OntarioI WAS TOLD ITIS DONEAwaiting receipt of timer
Antigo, WisconsinWILL BEEP, NO ACTION FOR OVEN OR BURNERS, CONTROL IS BLANK, OVEN LIGHT DOES NOT WORK, BURNERS WILL NOT IGNITEAwaiting receipt of timer
Midland, OntarioBlank. No displayBeyond Repair
RIVERSIDE, CaliforniaThe display is dim and inconsistently lit. Some segments of the numbers are dimmer than the others. This is from my 90 year old mother's oven, and she currently has to turn off all of the lights in her kitchen in order to try to read the display. We would like it as bright as it can possibly be, please.

I had tried a DIY repair from a YouTube video, but it wasn't enough. I had emailed you guy and you said that you could still repair it.
Repaired
Newmarket, OntarioI am getting an intermittent F3 error code. Sometimes as soon as i try to bake or broil. Other times after it has heated up to the required temperature and run for a bit. I have replace the oven sensor with a bran new one and still get the same error. I have also checked the wiring to the sensor it is good.Repaired
Okotoks, AlbertaStarted out shutting off oven and giving F3. Replaced oven temp sensor (although tested ok). Okay for a while then started shutting down with no error code, or F2, or F3.
Seemed to work if we flipped the mounted control down onto the back burners and shielded the board from the oven exhaust but it does no seem to get particularly warm in the control area.
Repaired
WINDSOR, OntarioDISPLAY DARKAwaiting receipt of timer
Woodstock, New Yorkclock/ control will "freak out" all lights flashing, then time will start flashing by itself..., if you hit "clear" then ok for awhile. Oven wouldn't work unless you reset breaker, then usually starts to work. Eventually the clock/control "freaks out " again by itself even if your not using oven or stove.Awaiting receipt of timer
MORRIS PLAINS, New JerseySOME OF THE BUTTONS WORK AND SOME DON'TAwaiting receipt of timer
Beloit, WisconsinError codeAwaiting receipt of timer
Cornwall, New YorkThere is apparently no power to the timer as all the displays are blank - no error codes shown.Repaired
Bartlett, IllinoisOven would shut off on its own. I don't remember the code as this happened several months ago. This started soon after I ran a self-clean cycle.Awaiting receipt of timer

Common problems for General Electric Gas Range JGBP79WEW1WW Timer Repair

Are you encountering a similar problem as them? Contact us now and we will try to help you fix your JGBP79WEW1WW timer-related problem.
My GE profile gas range has a alarm going off,I have unplug it and plug it back in it still goes off. Ray
HOW TO REPLACE COOK TOP SPARK MODULE ON BURNER
Hi. I have a GE profile oven, model no. JGBP79WEW1WW. It is at least 10 years old. The electonic control panel is not working. The electronic display is blank Nothing happens when I press the buttons. I have tried unplugging / replugging the oven but that did not help. I know the oven is getting power because the oven light works. Any ideas? Thanks.
I have a GE Profile Oven Model #JGBP79WEW1WW. The oven will not heat, the range top is working fine, the oven was working fine up until today. The display defaults to 100 degrees, but does not turn on.
GE Profile Oven Model #JGBP79WEW1WW. rangeop is fine. Oven now has trouble gaining temperature and strong odor of propane. When i open the oven door I sometimes get a "woosh" of igniting propane. I removed the bottom panel within the oven to view the igniter and gas flame. One sequence seemed fine. Igniter gets hot, 30 seconds later propane flows and ignites. But later I saw a different sequence later. Igniter gets hot. But the eventual flow of propane is minimal. The igniter is not able to ignite the propane. When I manually light the propane flow the flames are quite small.
f-1 error code on model jgbp79wew1ww
GE Profile Gas oven, serial at235522p, model JGBP79WEW1WW What is the procedure to calibrate the oven? I checked my oven temperature against a kitchen thermostate with probe, there is a 30 degrees difference... my oven is lower.
I attempted to preheat my GE Profile--set the temperature etc--the oven did not start. The burners and clock etc still work. Is this something we can fix ourselves? Is it costly?
Is there a way to test the control board on my GE gas range? The display went blank this week, it did the same thing last month and when I wiggled the range it came back on then. I have unplugged the range for 10 min and still no display. Lights work, burners light, etc.. Does the transformer for the igniter/light also provide power to the control board? (serial# LR271517P) Brian
Display shows error code "F1" GE oven-JGBP79WEW1WW The oven started beeping and displaying "F1" error code at 5 am in the morning. press any panel button and it stops beeping and clears for 15 seconds and then starts it all over again. Unpluging the oven and then pluging it back in does not help, same error.
Hi all new here- had an issue where our oven just failed to get hot. Did a BUNCH of research, talked to techs and they all came to conclusion that igniter was bad. Bought igniter yestrday to the tune of $50, replaced this a.m. and same thing. oh yeah broiler works and ignites just fine. Oven now goes to 159* (before it stopped at 100* on LCD) and Im bummed and confused??!! What next? Do I need a thermostat, a board? This is going to get expesnive if I cant nail it down. I do have a ohmmeter if needed. Do I need to leave the bottom of oven off to see if igniter is glowing or getting hot? My wife wants to cook again, Doug
GE JGBP79WEW1WW oven: The gas burners and broiler work, but not the oven. Gas burner appears not to come on. Eight years old.
After oven cleaning, After oven cleaning the seal that holds the electronic board melted and the board does not work.  I cannot use the burners work.  I cannot reset the time, nor use the clock or turn on the oven.  Please help me. My range is a GE model GE JGBP79WEW1WW.  I like this model. ÂÂ