General Electric Electric Range JDP36GP Timer Repair

What is the timer/clock part number for the General Electric JDP36GP Electric Range?

Timer part number wb27k5068 for General Electric JDP36GP

The JDP36GP Electric Range uses timer part number wb27k5068.

Do you have a failed General Electric JDP36GP control panel? Click here:

Request Appliance Timer Service

We can repair or replace your faulty General Electric JDP36GP timer.

JDP36GP are also sometimes referred to using these Alternative Names/Model numbers

GE JDP36GP Electric Range, JDP36GP5WH, JDP36GP1, JDP36GP5AD, JDP36GP3WH, JDP36GP3AD

JDP36GP Schematic and Wiring Diagrams

Control panel Parts diagram
JDP36GP Electric Range Control panel Parts diagram
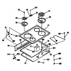
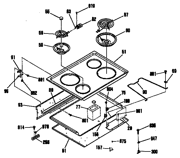
Cooktop Parts diagram
JDP36GP Electric Range Cooktop Parts diagram
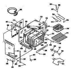
Oven assembly Parts diagram
JDP36GP Electric Range Oven assembly Parts diagram
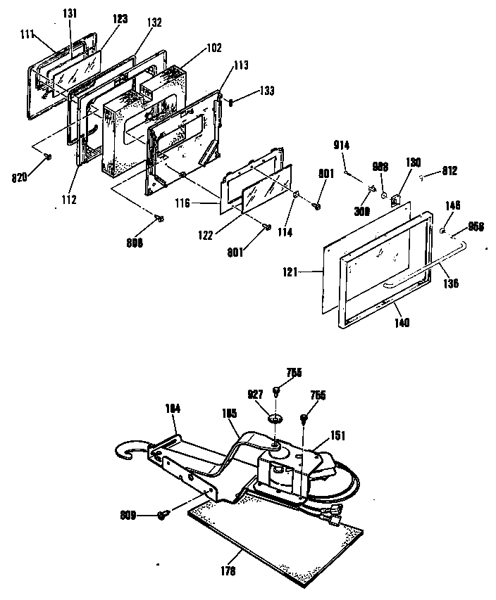
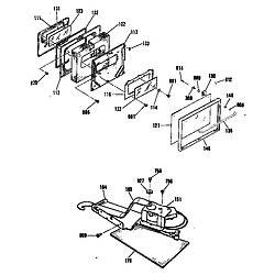
Door Parts diagram
JDP36GP Electric Range Door Parts diagram
Motor/fan Parts diagram
JDP36GP Electric Range Motor/fan Parts diagram

Recent Service Requests

CityProblem DescriptionResolution
Collegeville, PennsylvaniaOven won't heat.
Possible lightning strike.
Awaiting receipt of timer
Spencerville, IndianaLightning strike took transfomer T1 outRepaired
Spencerville, IndianaLightning strike took transfomer T1 outRepaired
Spencerville, IndianaLightening strike took out transfomer T1Repaired
Oak Harbor, OhioReads approx. 140* hotter than actual oven temp.Awaiting receipt of timer

Common problems for General Electric Electric Range JDP36GP Timer Repair

Are you encountering a similar problem as them? Contact us now and we will try to help you fix your JDP36GP timer-related problem.
I have a 30" G E slide-in range, model jdp36gp. The problem is with the oven heating element (coil) that is not heating up to temp. I am wondering if can tell a bad coil by reading ohms with a volt-ohm meter. I read a solid 23 ohms now. The connections are in good condition with no corrosion apparent. shoule I go buy a new range? G E of course.
my ge oven is not heating properly ,top and bottom elements are working but oven is not geting hot enough
I have a GE electric drop-in oven, model # XXXXX The problem is the oven control panel has "died" so the oven part of the oven is inoperable. The 4 rangetop burners still work fine. Could this be a blown fuse in the oven or a bigger problem and how do I fix it?
Good morning. Our GE oven (mdl JDP36GP) is not holding the proper cooking temperature. I already purchased and installed a new burner element and temperature sensor. Unfortunately, that doesn't seem to have solved our problem. The sensor is giving artificially high temperature readings, so we can't cook "normally." The controller seems to be working, because it will cycle the element on and off to maintain the temperature setpoint in the digital display, but that's about the only thing left to change. Am I missing something else? I'm hestitant to spend another $200 on a controller module, compared to just replacing the oven completely. Please send any response today XXXXX@XXXXXX.XXX – I’d like to find something I can fix today before needing to cook the Thanksgiving turkey and stuffing tomorrow :) ! Thank you, Joe Kenwright Chelsea, AL
GE oven Problem Help! I have a GE drop in electric oven/oven, model JDP36GP. This oven has electronic oven controls. A week ago it showed a trouble code # F3 (open circuit between EOC and temp sensor). I determined the problem was the oven temperature sensor (the display would show the F3 code at 400 deg F and shut off). I replaced the temperature sensor with a replacement part. This problem was fixed. Now the fun part. The oven now displays an F2 code indicating the oven is above maximum temperature specifications. It does this even when the oven is off! Last night the oven was beeping and showing the F2 code at 4am. I finally turned off the breaker so I could get some sleep. Has anyone encountered this problem before? Do I need a new EOC? Thanks for your assistance! Mark
My two-year-old GE oven, Model Number JSP42W0K4WW, is not responding all of a sudden to 3 of the buttons on the touch pad (bake, self-clean, and oven light). I found someone else on this site having the same problem with a different GE oven, and I assume I have the same problem. I've researched the part number for the touch pad, and I believe it is WB27T10483. Is that my problem, and is that the correct part number?