General Electric Electric Range JBP78GS1BB Timer Repair

What is the timer/clock part number for the General Electric JBP78GS1BB Electric Range?

Timer part number WB27X5524 for General Electric JBP78GS1BB

The JBP78GS1BB Electric Range uses timer part number WB27X5524.

Do you have a failed General Electric JBP78GS1BB control panel? Click here:

Request Appliance Timer Service

We can repair or replace your faulty General Electric JBP78GS1BB timer.

JBP78GS1BB are also sometimes referred to using these Alternative Names/Model numbers

GE JBP78GS1BB Electric Range, JBP78GS1

JBP78GS1BB Schematic and Wiring Diagrams

Cooktop Parts diagram
JBP78GS1BB Electric Range Cooktop Parts diagram
Cabinet Parts diagram
JBP78GS1BB Electric Range Cabinet Parts diagram
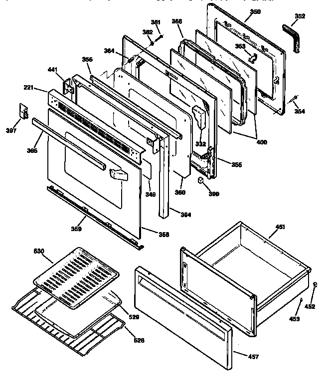
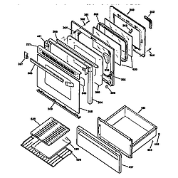
Door and drawer Parts diagram
JBP78GS1BB Electric Range Door and drawer Parts diagram

Recent Service Requests

CityProblem DescriptionResolution
Onondaga, MichiganTimer and oven stopped working completely. The buttons don't seem to make any connection at all. Burners are working fine. Would like to buy replacement part if possible and also know the cost of replacement, or if nothing is available the cost of a repair plus shipping. ThanksAwaiting receipt of timer
Lake City, FloridaThe digital clock on the oven/range is totally dark. The burners and oven light work.
The oven itself does not turn on at any setting. I do not want to ship my timer, and would like to buy one from your inventory. If that is not possible, please advise. Many thanks.
Awaiting receipt of timer

Common problems for General Electric Electric Range JBP78GS1BB Timer Repair

Are you encountering a similar problem as them? Contact us now and we will try to help you fix your JBP78GS1BB timer-related problem.
the clock on my jbp78gs1bb oven shows 868 after i turned breaker off to get part number for element