|
||||||||||||||||||||||||||||||||||||||||||
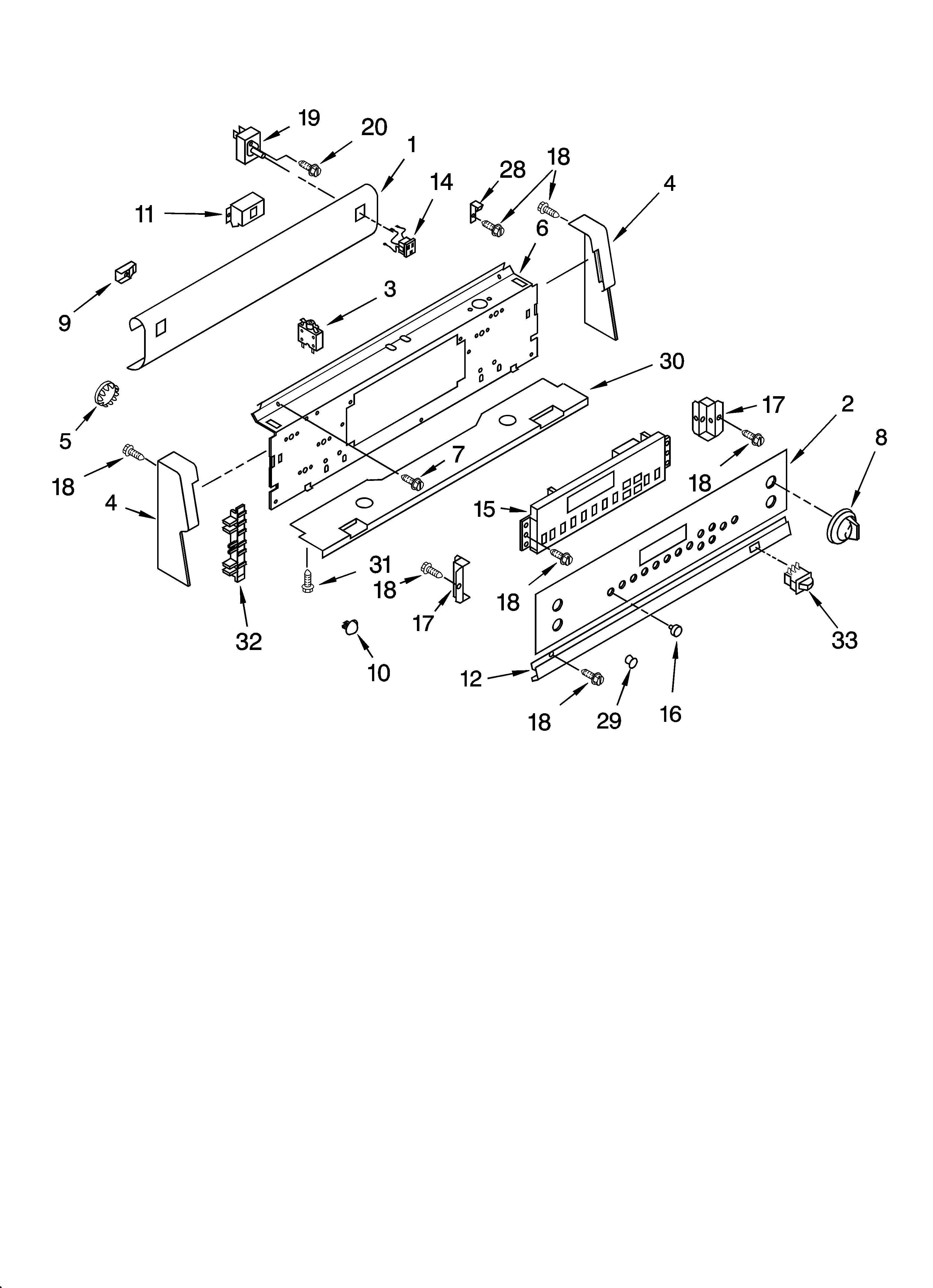
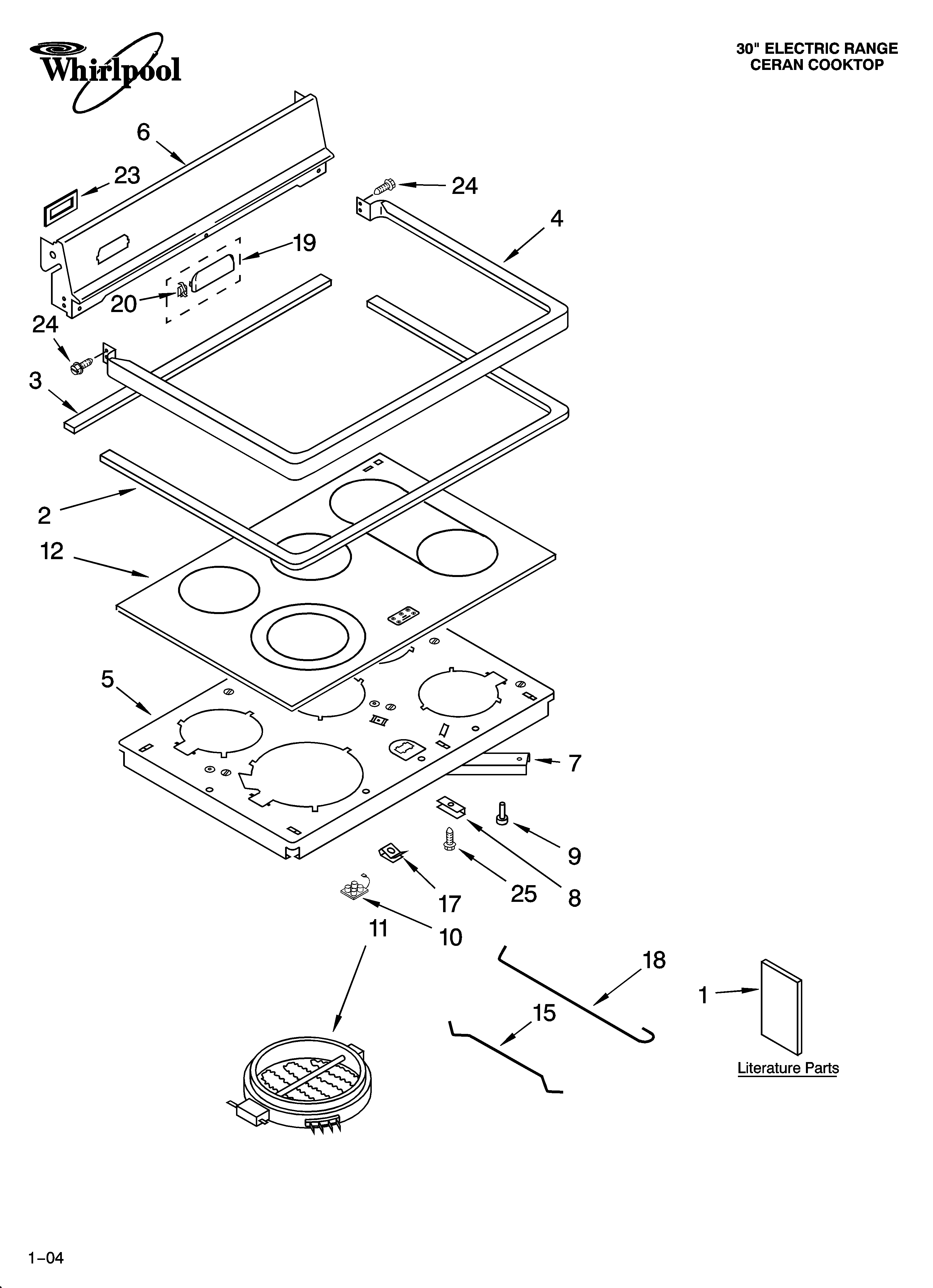
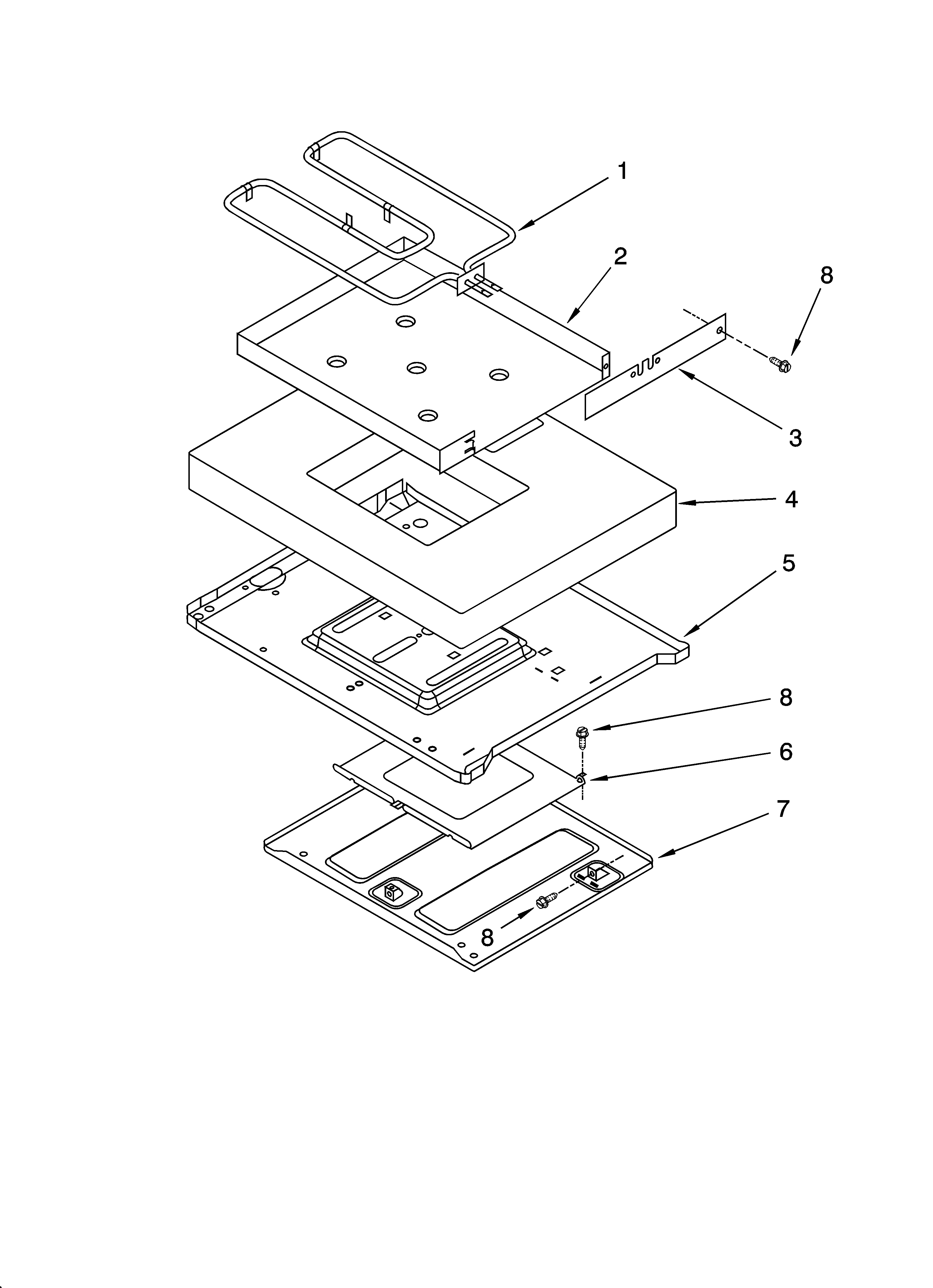
Whirlpool Free Standing - Electric GLSP84900 Timer RepairWhat is the timer/clock part number for the Whirlpool GLSP84900 Free Standing - Electric?![]() The GLSP84900 Free Standing - Electric uses timer part number 9754260. Do you have a failed Whirlpool GLSP84900 control panel? Click here: We can repair or replace your faulty Whirlpool GLSP84900 timer. GLSP84900 Schematic and Wiring DiagramsRecent Service Requests
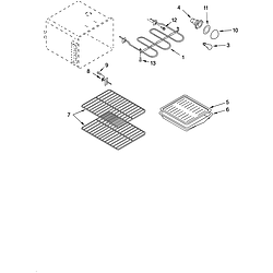
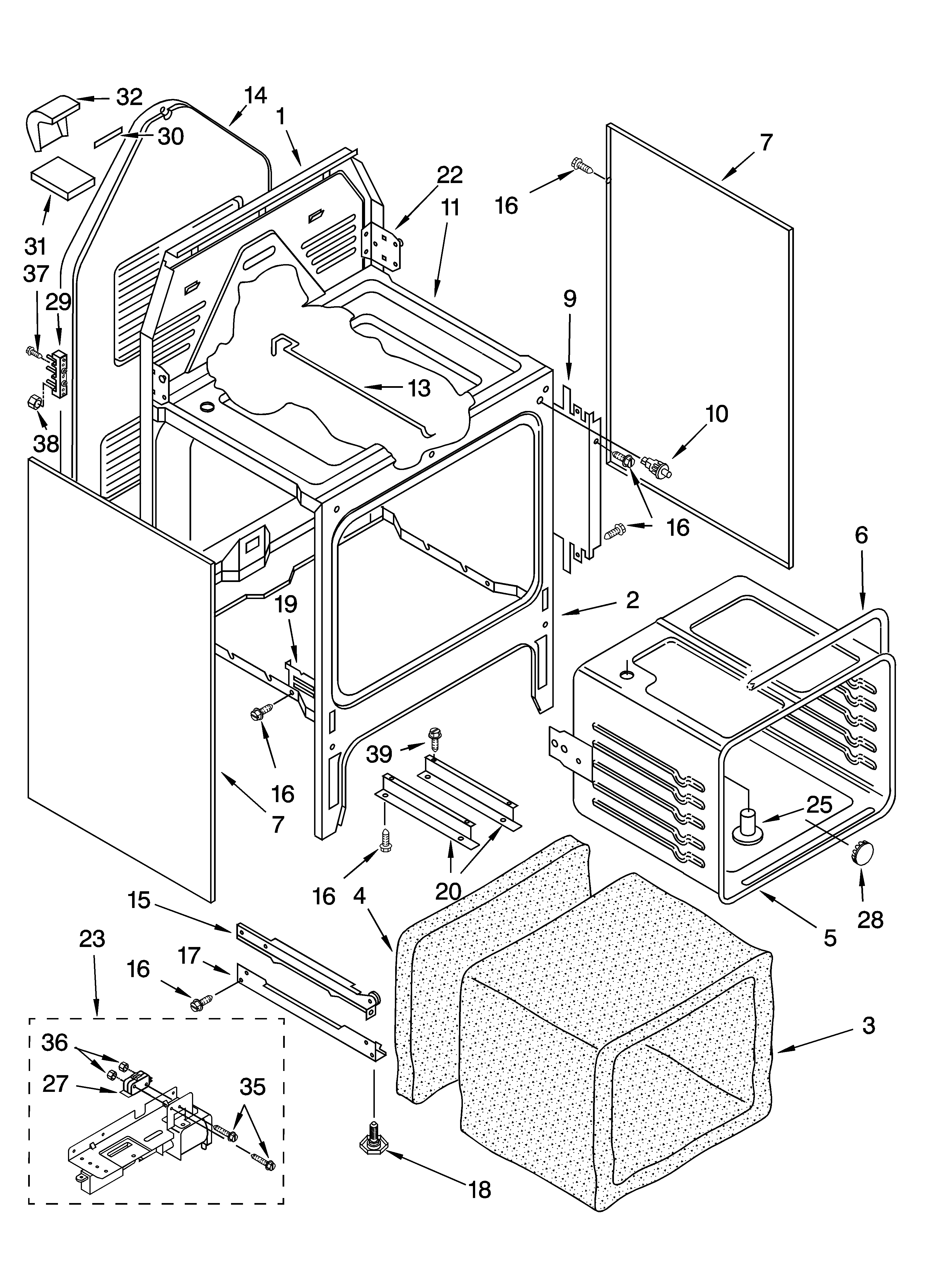
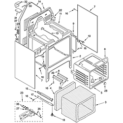
Common problems for Whirlpool Free Standing - Electric GLSP84900 Timer RepairAre you encountering a similar problem as them? Contact us now and we will try to help you fix your GLSP84900 timer-related problem. Our freezer and fridge have quit getting cold. This is the third time I have unplugged and defrosted the freezer section. The freezer in back has totally iced up. Something must be wrong but what? We are in a rental and this is getting really old. The landlord doesnt care much and I'm not feeling like ponying up to fix their appliances. I guess a part might be worth it if it saves me from throwing out the food in the freezer every few weeks. I have a Whirpool Gold Accubake oven, that I purchased about 6 years ago. Always worked great. Today I simply changed the lightbulb in the oven and the lightbulb blew along with the entire control panel. I thought it might be the breaker, so I turned it off for serveral minutes and it still does not work. I looked for fuses on the oven, and even phoned Whirpool customer support and they told me that my model does not have fuses. Is this possible? Any idea on what the problem might be? After cleaning my oven, it will not unlock. There is a message: E1 F5. everything else seems o.k. How can I unlock it ? how do i change the lower element on a whirlpool gold oven |
||||||||||||||||||||||||||||||||||||||||||
|
||||||||||||||||||||||||||||||||||||||||||