Whirlpool Built In Double Oven - Electric GBD277PDB10 Timer Repair

What is the timer/clock part number for the Whirlpool GBD277PDB10 Built In Double Oven - Electric?

Timer part number 8302319 for Whirlpool GBD277PDB10

The GBD277PDB10 Built In Double Oven - Electric uses timer part number 8302319.

Do you have a failed Whirlpool GBD277PDB10 control panel? Click here:

Request Appliance Timer Service

We can repair or replace your faulty Whirlpool GBD277PDB10 timer.

GBD277PDB10 Schematic and Wiring Diagrams

Oven Parts diagram
GBD277PDB10 Built In Double Oven - Electric Oven Parts diagram
Control panel Parts diagram
GBD277PDB10 Built In Double Oven - Electric Control panel Parts diagram
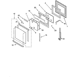
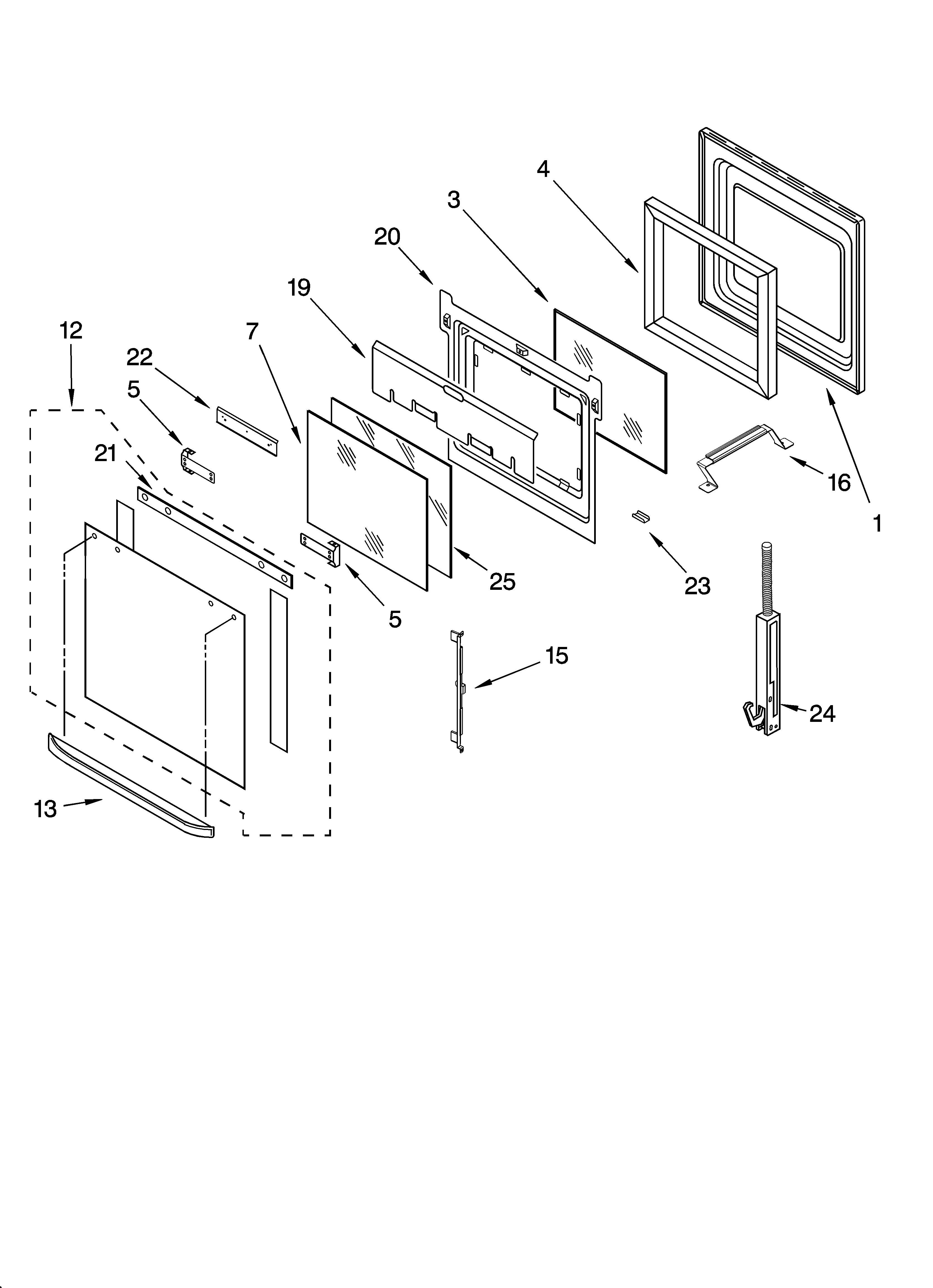
Oven door Parts diagram
GBD277PDB10 Built In Double Oven - Electric Oven door Parts diagram
Internal oven Parts diagram
GBD277PDB10 Built In Double Oven - Electric Internal oven Parts diagram
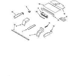
Top venting Parts diagram
GBD277PDB10 Built In Double Oven - Electric Top venting Parts diagram

Common problems for Whirlpool Built In Double Oven - Electric GBD277PDB10 Timer Repair

Are you encountering a similar problem as them? Contact us now and we will try to help you fix your GBD277PDB10 timer-related problem.
whirlpool Model # GB2SHTXTS00 refrigerator not cooling. it has bottom freezer...coils in the freezer are icing up... does this have a defrost clock (cant find) or some kind of frost controls??? looking for a solution to fix...fans work fine... How do I test without a clock???? any help would be great.
Last weekend clicking sound started. Would last 15 seconds and stop and after 3-4 minutes, the process would start again. Freezer and refrigerator would stop cooling. Got a relay and overload locally. replaced it but it did not fix the problem. After further research, found that a start capacitor can be replaced as well. Did not see that part in the Whirlpool diagrams. Could it be that start capacitor and can that part be order by itself? Or could it be the compressor? I checked the compressor for continuity. Start to run was 10 ohms, Common to Run was 4, Common to start was 6.
My fridge keeps going warm. Frost builds up on the food in the freezer, and then the fridge is not as cool. It has been happening about once every month or two, and I can't seem to figure out what the problem is...the first time, I tried cleaning the coils, and did a pretty thorough cleaning under the fridge, and then I unplugged it and after I plugged it back in it worked again for a month or so. Then it happened again, so I checked the pan under the fridge, and it was full of water. I cleaned that out, and again unplugged the unit, and it worked for a month or so. Then it started to happen again, and I just tried to scrape away the frost from the circulation vent in the back of the freezer, which seemed to help...but then I ended up checking the pan again, and it was full, so I cleaned it out, and the problem was solved. It has been about a month, and there is frost on the back of the freezer; I tried scraping it off, and it did not seem to help. I checked the pan, which is dry this
Whirlpool GB22DKXGW00 stopped working while connected to a 1200 Watt power inverter during a recent power outage. It clicked load enough for me to hear it in the next room which caught my attention. I checked the inverter's power output and noticed that it had jumped from 400 Watts to 900 Watts so I unplugged the fridge. This caused the power output to drop back down to about 300. The inverter was also driving a freezer at the time, which had no problems. We now have power back but plugging in the fridge produces nothing but silence. The light still works so I know it's not an outlet issue. Fan's not moving, no humming, just silence.
I am a tech and have a problem with the freezer section of this model. The defrost element tests good. and everything gets cold but the unit never goes into defrost mode. Is there a manual defrost clock somewhere? Or is it in the electronic control up in the fridge? I am not familiar with this model. If it is electronic, is there a way to force it into defrost mode? Or might you expect the defrost sensor attached to the cooling coils? Any info would be greatly appreciated. -Michael N & M Services
coil in the freezer froze up not allowing the air to cool the top part of the fridge. What part should I check first to solve this problem?