Frigidaire Electric Range FEF367CATB Timer Repair

What is the timer/clock part number for the Frigidaire FEF367CATB Electric Range?

Timer part number 5303935108 for Frigidaire FEF367CATB

The FEF367CATB Electric Range uses timer part number 5303935108.

Do you have a failed Frigidaire FEF367CATB control panel? Click here:

Request Appliance Timer Service

We can repair or replace your faulty Frigidaire FEF367CATB timer.

FEF367CATB are also sometimes referred to using these Alternative Names/Model numbers

Electrolux FEF367CATB Electric Range

FEF367CATB Schematic and Wiring Diagrams

Backguard Parts diagram
FEF367CATB Electric Range Backguard Parts diagram
Body Parts diagram
FEF367CATB Electric Range Body Parts diagram
Top/drawer Parts diagram
FEF367CATB Electric Range Top/drawer Parts diagram
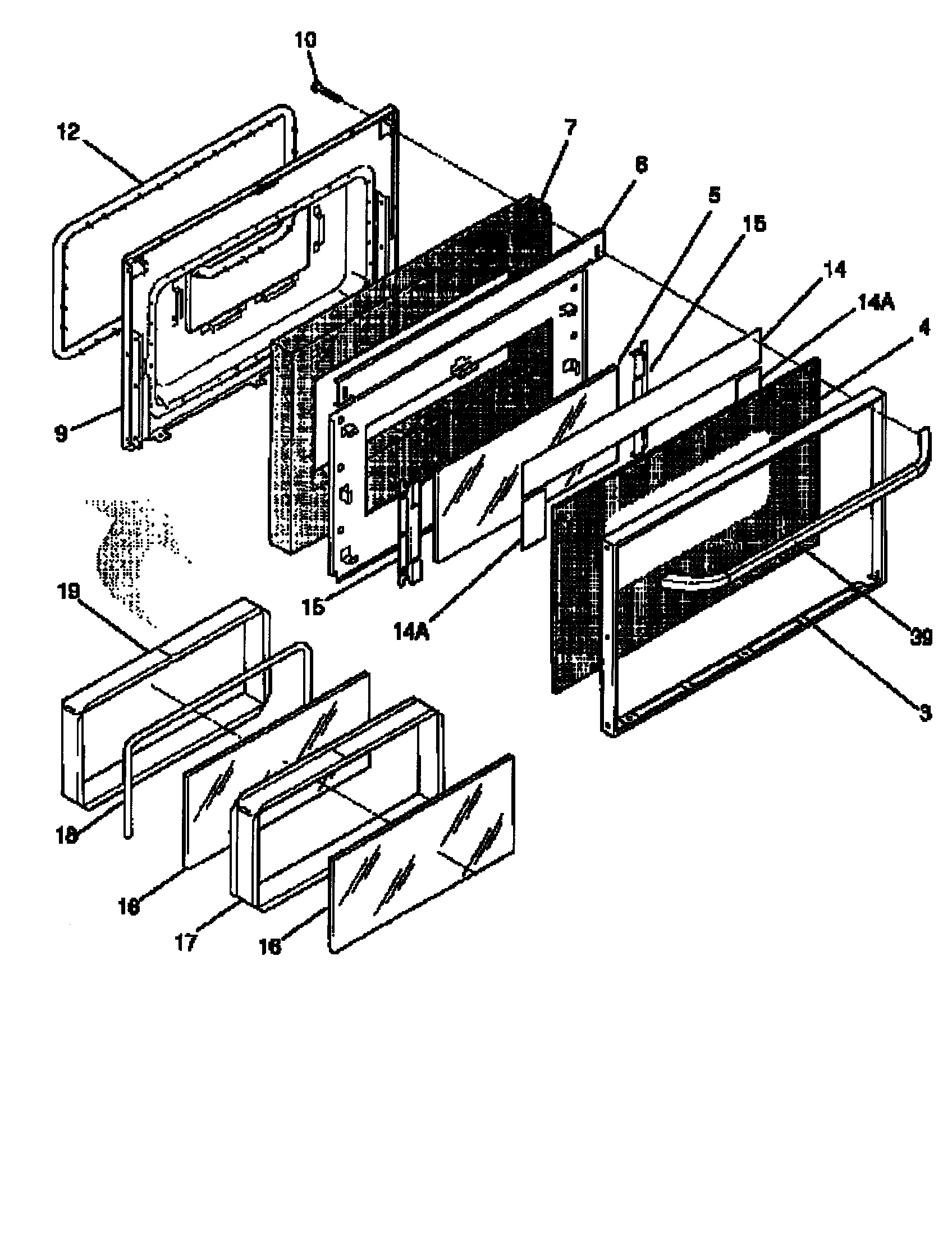
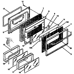
Door Parts diagram
FEF367CATB Electric Range Door Parts diagram

Recent Service Requests

CityProblem DescriptionResolution
WATERVILLE, New YorkOVEN DOESN'T WORK WITHOUT CLOCK/TIMERAwaiting receipt of timer
Nevada, IowaThe relay closes for the bake cycle but does not open at the set temperature.
The bake element stays on all the time during the bake cycle. If cancel is pushed it will shut off. When the bake cycle is put on you can watch as the digital temperature increases to the set temperature then stops. However the element continued to heat until manually turned off.
Awaiting receipt of timer
Millen, GeorgiaDoor lock motor keeps running. If you have another timer in stock please let me know.Awaiting receipt of timer

Common problems for Frigidaire Electric Range FEF367CATB Timer Repair

Are you encountering a similar problem as them? Contact us now and we will try to help you fix your FEF367CATB timer-related problem.
wHAT IS CAUSING THE oven Model # XXXXX TO MAKE PERiODIC NOISE, THE FRONT DOOR TO LOCK BRIEFLY, AND THE "lock" sign to flash on briefly?