Whirlpool DU6000XR1 Timer Repair

What is the timer/clock part number for the Whirlpool DU6000XR1 Dishwasher?

Timer part number 304676 for Whirlpool DU6000XR1

The DU6000XR1 Dishwasher uses timer part number 304676.

Do you have a failed Whirlpool DU6000XR1 control panel? Click here:

Request Appliance Timer Service

We can repair or replace your faulty Whirlpool DU6000XR1 timer.

DU6000XR1 Schematic and Wiring Diagrams

Console Parts diagram
DU6000XR1 Dishwasher Console Parts diagram
Tub Parts diagram
DU6000XR1 Dishwasher Tub Parts diagram
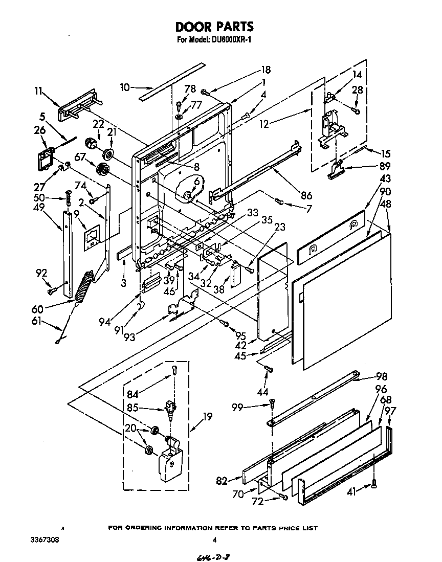
Door Parts diagram
DU6000XR1 Dishwasher Door Parts diagram
Heater, pump and lower sprayarm Parts diagram
DU6000XR1 Dishwasher Heater, pump and lower sprayarm Parts diagram
Dishrack and panel Parts diagram
DU6000XR1 Dishwasher Dishrack and panel Parts diagram
3367443 pump and motor Parts diagram
DU6000XR1 Dishwasher 3367443 pump and motor Parts diagram
Wiring harness Parts diagram
DU6000XR1 Dishwasher Wiring harness Parts diagram

Common problems for Whirlpool DU6000XR1 Timer Repair

Are you encountering a similar problem as them? Contact us now and we will try to help you fix your DU6000XR1 timer-related problem.
Twin Cities Daily NewsI set my wash cycle and water starts to flow which is normal. The next step would be for the motor to start. This does not happen. The tub fills and the overflow valve trips, shutting off the water. The clock continues to run, but at each step in the cleaning process the motor fails to start. The circuit breaker was not tripped. I am able to spin the motor and it spins freely. Any ideas on what the problem could be?
Dishwasher won't run. It is a Whirlpool DU6000XR1. The clock moves (rather quickly) around, but water won't run or flush out from the bottom of the dishwasher. Is it a clock problem?
Detergent door "springs" open immediately after closing it. This throws all of the detergent into the dish washer upon closing the main dish washer door. What part keeps the little detergent door from springing open prematurely? Your input on this will be appreciated.
Hello. I just bought a place and I am guessing on the age of the dishwasher, bu tthe model is correct. The problem with it seems to be that sometimes it fills with water and works fine, sometimes there is no water. Every time I run it, I can hear switches clicking and motors humming, but only sometimes do I hear water filing the tub (and when I don't, the dishes come out dry and the soap is still in the tub, so I'm sure the problem is no water filing the tub. I tried to pull the unit out the other day to see if there was an obvious problem, but I couldn't even do that. I found 2 screws going into the underside of the counter top and removed them, but the unit would only slide out 1" or so before stopping. I have 2 questions: 1) can anyone point me toward how to test/replace any parts that may be associated with getting water into the tub 2) can anyone tell me how to remove the unit I will most likely be remodeling the kithcen within the next year, but would like to get this thing depen
I have an older Whirlpool Dishwasher model # DU5003XL-0. The unit starts and then stops. After a period of time it starts again. The time it runs before stopping is getting shorter. I'm sure it is a motor overheat sensor. I can't find any wiring diagrams for it so here is my my question. Is the overheat sensor built in to the motor or is it a separate circuit?
Hello. I just bought a place and I am guessing on the age of the dishwasher, but the model is correct. The problem with it seems to be that sometimes it fills with water and works fine, sometimes there is no water. Every time I run it, I can hear switches clicking and motors humming, but only sometimes do I hear water filing the tub (and when I don't, the dishes come out dry and the soap is still in the tub, so I'm sure the problem is no water filing the tub. Can anyone point me toward how to test/replace any parts that may be associated with getting water into the tub I will most likely be remodeling the kitchen within the next year, but would like to get this thing dependable for the short term. Any advice is greatly appreciated!!
I have the whirlpool dishwasher model DU6000XR-1 and I would like to replace it with the same model or its equivalent