Maytag CRG9800AAE Timer Repair

What is the timer/clock part number for the Maytag CRG9800AAE Range?

Timer part number 7601P201-60 for Maytag CRG9800AAE

The CRG9800AAE Range uses timer part number 7601P201-60.

Do you have a failed Maytag CRG9800AAE control panel? Click here:

Request Appliance Timer Service

We can repair or replace your faulty Maytag CRG9800AAE timer.

CRG9800AAE are also sometimes referred to using these Alternative Names/Model numbers

Whirlpool CRG9800AAE Range

CRG9800AAE Schematic and Wiring Diagrams

Control panel Parts diagram
CRG9800AAE Range Control panel Parts diagram
Top assembly Parts diagram
CRG9800AAE Range Top assembly Parts diagram
Body Parts diagram
CRG9800AAE Range Body Parts diagram
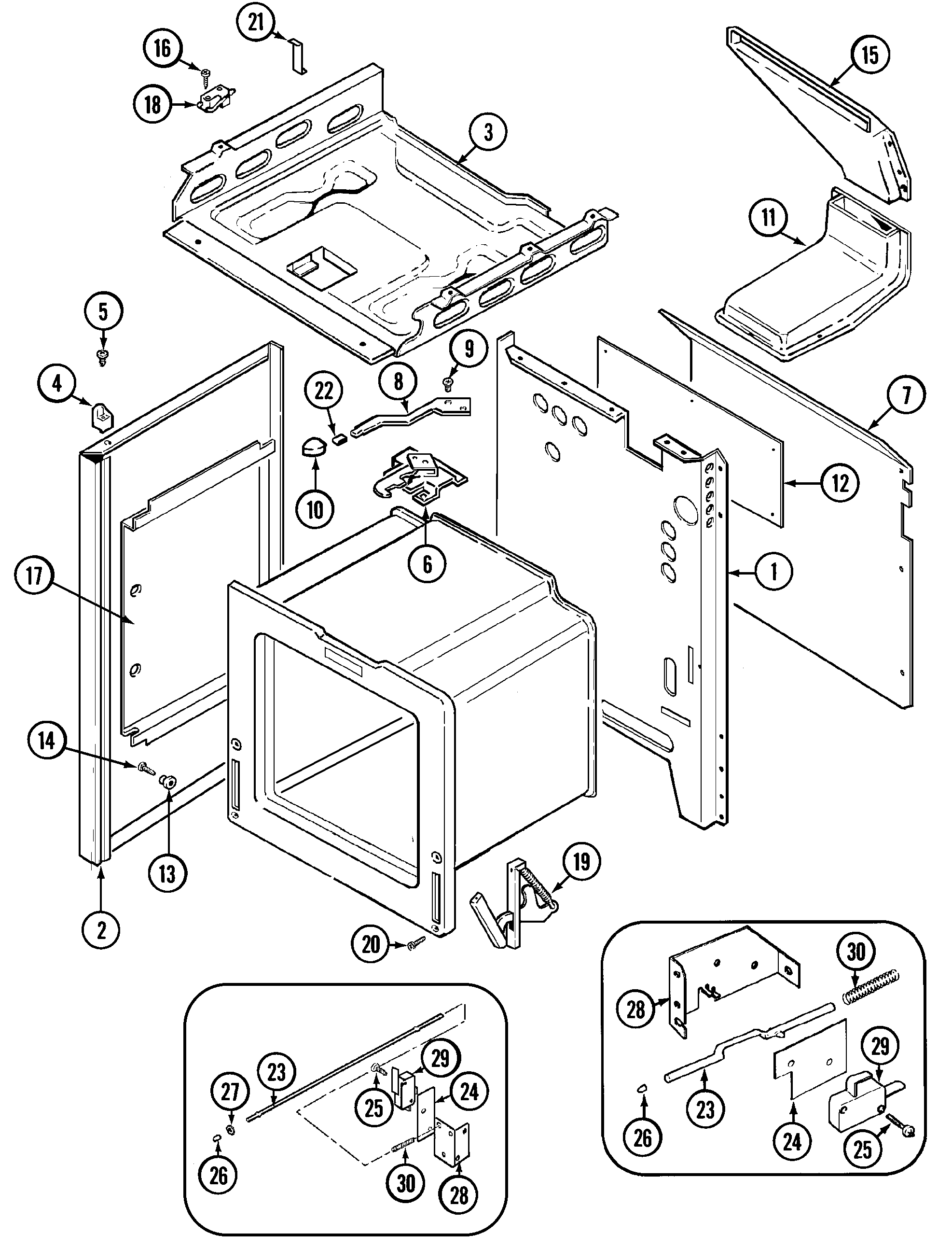
Oven/base Parts diagram
CRG9800AAE Range Oven/base Parts diagram
Gas controls Parts diagram
CRG9800AAE Range Gas controls Parts diagram
Door/drawer Parts diagram
CRG9800AAE Range Door/drawer Parts diagram

Recent Service Requests

CityProblem DescriptionResolution
NORTH HAVEN, ConnecticutOVEN TEMO. IS 200 DEGREES BELOW SETTING.Repaired
Waterloo, OntarioOven Temp reads 200 deg. low. Service guy determined the timer was the reason the oven read 200 dregrees low.Beyond Repair

Common problems for Maytag CRG9800AAE Timer Repair

Are you encountering a similar problem as them? Contact us now and we will try to help you fix your CRG9800AAE timer-related problem.
Need directions to use self cleaning oven feature Maytag Gas oven model CRG9800AAE purchased 1994 Ok to send by email klsonthego@gmail.com Thanks, Karen
I have replaced both the ignitor & temp. sensor, but the oven still will not heat above about 350-375 degrees. I've replaced the ignitor in the past & saw an immediate difference, but not this time so then changed temp. sensor. Still no luck.
The left hinge to the oven door, as you face the gas oven, broke. How does one replace the oven door hinge on a Maytag gas oven?
my maytag gas range #crg9800aae model The oven burner goes on when setting the thermostat to 350. The digital read-out shows that the oven is at temperature and oven temperature signal beeps but the actual oven temp. is about 200-250 and the flame goes off and also the oven light is working on and off Thanks bob
i hav a maytag crg9800aae gas oven that wont heat up. the burners work but when you turn the oven on nothing happens, the temp readout stays at 100
Have a maytag CRG9800 AAE gas range. Getting F1 error and beeping. Internet searches are suggesting clock/control board. is there anything else that might cause the F1 error? The error goes away when the cancel button is used, but comes back...sometimes after 1/2 day sometimes in 5 minutes. Also Parts guys are saying the replacement clock/control board is no longer available? Thanks Gary