Amana Electric Slide-In Range ARTS6650WW Timer Repair

What is the timer/clock part number for the Amana ARTS6650WW Electric Slide-In Range?

Timer part number 31-315570-07-0 for Amana ARTS6650WW

The ARTS6650WW Electric Slide-In Range uses timer part number 31-315570-07-0.

Do you have a failed Amana ARTS6650WW control panel? Click here:

Request Appliance Timer Service

We can repair or replace your faulty Amana ARTS6650WW timer.

ARTS6650WW are also sometimes referred to using these Alternative Names/Model numbers

Whirlpool ARTS6650WW Electric Slide-In Range, ARTS6650LL/P1143906NLL, ARTS6650E/P1130687NE, ARTS6650WW/P1130659NWW, ARTS6650WW/P1130649NWW, ARTS6650LL/P1130659NLL, ARTS6650WW/P1143906NWW, ARTS6650E/P1143906NE, ARTS6650E/P1130649NE, ARTS6650LL/P1130649NLL, ARTS6650LL/P1130683NLL, ARTS6650LL/P1130667NLL, ARTS6650LL/P1130687NLL, ARTS6650E/P1130698NE, ARTS6650WW/P1130683NWW, ARTS6650WW/P1130698NWW, ARTS6650LL/P1130678NLL, ARTS6650WW/P1130678NWW, ARTS6650E/P1130683NE, ARTS6650WW/P1130667NWW, ARTS6650LL/P1130698NLL, ARTS6650E/P1130678NE, ARTS6650WW/P1143483NWW, ARTS6650E/P1130659NE, ARTS6650E/P1130667NE, ARTS6650LL/P1143483NLL, ARTS6650WW/P1130687NWW, ARTS6650E/P1143483NE

ARTS6650WW Schematic and Wiring Diagrams

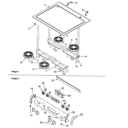
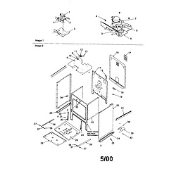
Cabinet Parts diagram
ARTS6650WW Electric Slide-In Range Cabinet Parts diagram
Cavity Parts diagram
ARTS6650WW Electric Slide-In Range Cavity Parts diagram
Main top and backguard Parts diagram
ARTS6650WW Electric Slide-In Range Main top and backguard Parts diagram
Oven door and storage drawer Parts diagram
ARTS6650WW Electric Slide-In Range Oven door and storage drawer Parts diagram

Recent Service Requests

CityProblem DescriptionResolution
Tacoma, WashingtonMine does not work looking for replacementAwaiting receipt of timer
Tacoma, WashingtonMine does not work looking for replacementAwaiting receipt of timer
Snohomish, WashingtonWe can’t set the time or oven timer, the buttons no longer workAwaiting receipt of timer
COVENTRY, Rhode Islandcompletely dark and no soundAwaiting receipt of timer
Salinas, CaliforniaThe timer stopped working, no lights, just blank. Does not respond to button presses. The stove top eyes work, but the oven does not.Repaired
HENDERSONVILLE, North CarolinaOVEN QUIT WORKING. REPAIRMAN SAID THAT THE OVEN TIMER WENT OUT AND THAT THEY NO LONGER MADE THAT PART. YOU HAVE ALREADY CONFIRMED THAT YOU DO NOT HAVE THIS UNIT IN STOCK. I'M SENDING IT FOR REPAIR.Repaired
MIDLAND, GeorgiaTHE TIMER WENT BLANK. OVEN FAILS TO WORK. TOP OF RANGE WORKS FINE.Awaiting receipt of timer
Gaston, North CarolinaNeither clock nor oven will work anymore.Awaiting receipt of timer
Lancaster, PennsylvaniaTouchpad and oven do not work,dead; range works fineBeyond Repair
Evans, GeorgiaControls stopped working. I replaced all capacitors, but still doesn't work. I verified that 240V is being supplied to control relays.Repaired
Bryson City, North CarolinaOven doesn't work but top burners do. No lights on timer.Repaired
Evans, GeorgiaYou repaired this oven controller last May. The other day my wife said that the oven controller made a popping sound, stopped displaying the time, and then the oven turned on and couldn't be turned off except by killing the power to it at the fuse box. Please perform a warranty repair.Beyond Repair
Mill Creek, WashingtonCooktop works however oven doesn'tRepaired
Hogansville, GeorgiaOven worked great for 11 years and just recently the LCD was out and the buttons to do not functionRepaired
Cocoa Beach, FloridaThe clock and the oven will not operate.Repaired
Orchard, TexasScreen went blank - does not operate oven at all.Repaired
Folsom, CaliforniaNo lights or response to pressing controls. Oven is inoperative.Repaired
Hazlehurst, Ga. 313539, GeorgiaWHEN POWER IS ON STOVE AFTER A FEW SECONDS F5 STARTS FLASHING AND BEEPER SOUNDS. THE OVEN STILL WILL HEAT UP AND ALL EYES ON STOVE COME ON.Beyond Repair
Frisco, ColoradoPanel appears deadBeyond Repair
Portland, OregonDisplay blank, stove top works-cannot operate ovenReplaced with reconditioned timer

Common problems for Amana Electric Slide-In Range ARTS6650WW Timer Repair

Are you encountering a similar problem as them? Contact us now and we will try to help you fix your ARTS6650WW timer-related problem.
Type your question here
Following apparent power surge (clocks were blinking) screen reads "OFF" and oven doesn't work. clock is on but none of the controls work. oven is fine. ERC? Jack
First I was getting the F1 code and the oven functions would shut off, sometimes after heating up to 350. Then none of the oven touch buttons responded at all when touched. I removed the ERC, and then replaced it after a couple days (hoping for a miracle) and all the oven buttons were responding, but oven shuts off a few seconds after be turned on. (It's a convection model.)