Amana Slide-In Range ARTS6650E Timer Repair

What is the timer/clock part number for the Amana ARTS6650E Slide-In Range?

Timer part number 315570 for Amana ARTS6650E

The ARTS6650E Slide-In Range uses timer part number 315570.

Do you have a failed Amana ARTS6650E control panel? Click here:

Request Appliance Timer Service

We can repair or replace your faulty Amana ARTS6650E timer.

ARTS6650E are also sometimes referred to using these Alternative Names/Model numbers

Whirlpool ARTS6650E Slide-In Range, ARTS6650E/P1130698NE, ARTS6650E/P1130678NE, ARTS6650E/P1130683NE, ARTS6650E/P1130659NE, ARTS6650E/P1130667NE, ARTS6650E/P1130687NE, ARTS6650E/P1143483NE, ARTS6650E/P1130649NE, ARTS6650E/P1143906NE

ARTS6650E Schematic and Wiring Diagrams

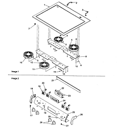
Cabinet Parts diagram
ARTS6650E Slide-In Range Cabinet Parts diagram
Cavity Parts diagram
ARTS6650E Slide-In Range Cavity Parts diagram
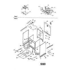
Main top and backguard Parts diagram
ARTS6650E Slide-In Range Main top and backguard Parts diagram
Oven door and storage drawer Parts diagram
ARTS6650E Slide-In Range Oven door and storage drawer Parts diagram

Recent Service Requests

CityProblem DescriptionResolution
Painesville, OhioDisplay panel not lighting, stove working oven notAwaiting receipt of timer
Huntsburg, Ohiothe clock and controls go blank burner operation is fine but oven controls are dead when goes blank checked it out the harness connector to the transformer is arcing underneith the circuit board I don't know if it is a broken terminal connection or burned circuit board but the wires can be wiggled and the led will light up again but will go out againAwaiting receipt of timer
Hillsboro, OregonOven and display do not work, burners are working fine.Awaiting receipt of timer
Plymouth, MinnesotaCannot turn off oven after it is turned on. Burners work fine. I need to turn the entire stove off with the circuit breaker. When I turn on the circuit breaker again, the oven works, but won't turn off until we cycle it again with the circuit breaker.Repaired
West Columbia, South CarolinaAmana slide-in range -- Oven timer suddenly stopped working; therefore, entire oven will not heat and function. Top of range ceramic elements are operable. We have checked voltage and determined that power going to timer is present (110 volts).Repaired
Cambridge, IdahoPanel flashed up a "F" for failure and the whole panel was unusable. (clock , oven timer and the rest of the functions. IN oither words the thing diedRepaired
Girard, OhioClock and oven controls do not work. There is no failure code, the unit is completely black (does not light up).Repaired
Woburn, MassachusettsWe spoke with Howard on 9/22. Broiler was on. Broiler element popped/sparked. Tried to turn off broiler by touching keypad. Keypad flashed and then went blank. Had to turn off oven by major control panel in home. As a result oven does not work, stovetop does. This part has been discontinued by manufacturer. Thank you.Beyond Repair
EDGAR, WisconsinTIMER IS DEAD.Repaired
West Columbia, South CarolinaOven clock and display options will not operate; therefore, oven will not heat at all. Cook top elements are fine and operable.

We have tested wiring with instrument which indicates that power is being received.
Repaired

Common problems for Amana Slide-In Range ARTS6650E Timer Repair

Are you encountering a similar problem as them? Contact us now and we will try to help you fix your ARTS6650E timer-related problem.
PartSelect User: Hello, I am looking for part #316360B or a generic that will work model#ARTS6650E serial#9906261006 mfg#P1130698N E this is an Amana oven produced by Whirlpool we also thought it could have been part #0315570 or#315570 we will also need part #315851B this part seems to still be available thought I would give this to you as a cross ref # XXXXX (Brian)1-XXX-XXX-XXXX or 1-XXX-XXX-XXXX XXXXX@XXXXXX.XXX also what else could be wrong I smelled a burning smell and seemed to be coming from this control panel a few days ago I replaced the oven heat element and everything worked Now none of the controls work for the oven/clock....thanks again