Amana Electric Range ARTC7522CC Timer Repair

What is the timer/clock part number for the Amana ARTC7522CC Electric Range?

Timer part number 31-315578-07 for Amana ARTC7522CC

The ARTC7522CC Electric Range uses timer part number 31-315578-07.

Do you have a failed Amana ARTC7522CC control panel? Click here:

Request Appliance Timer Service

We can repair or replace your faulty Amana ARTC7522CC timer.

ARTC7522CC are also sometimes referred to using these Alternative Names/Model numbers

Whirlpool ARTC7522CC Electric Range, ARTC7522WW-P1143817NWW, ARTC7522E-P1143817NE, ARTC7522CC-P1143817NCC

ARTC7522CC Schematic and Wiring Diagrams

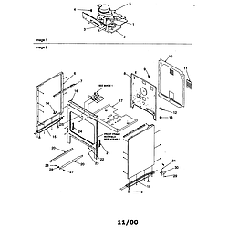
Cabinet Parts diagram
ARTC7522CC Electric Range Cabinet Parts diagram
Cavity Parts diagram
ARTC7522CC Electric Range Cavity Parts diagram
Maintop and backguard Parts diagram
ARTC7522CC Electric Range Maintop and backguard Parts diagram
Oven door and storage door Parts diagram
ARTC7522CC Electric Range Oven door and storage door Parts diagram

Recent Service Requests

CityProblem DescriptionResolution
Hudson, IowaClock blinks, doesn't keep time correctly, oven won't function, beep sounds "sick".Repaired
Jasper, MissouriNumber I've provided for part # is on a label placed along the top edge of the ERC unit.
If there is another number needed, I need to know what to look for.
This timer went blank, turned power off and reset briefly then went out permanently.
The burners all work and the unit gets power, but the timer and consequently the oven do not work.
I'd prefer to get one from you, then send you this one. Thanks!
Repaired
Windham, MaineTimer/temperature "down arrow" switch is not functioning. All else works fineAwaiting receipt of timer
Alexandria, IndianaTimer screen is blank. The stove top work fine. Oven Bake, Broil, Clock, Timer functions are all gone.Beyond Repair
Alexandria, IndianaThe timer screen just went blank and stopped working. The stove top continued to work but, the clock, timer, and all oven functions stopped working. We may have had a power surge or something. Please check out and repair if possible. Thank you.Beyond Repair

Common problems for Amana Electric Range ARTC7522CC Timer Repair

Are you encountering a similar problem as them? Contact us now and we will try to help you fix your ARTC7522CC timer-related problem.
Amana oven beeps and flashes f9 after cleaning cycle; door will not unlock. I did turn off the breaker for 5 minutes, then reset; same thing occurred.