Amana Electric Range ARTC7511WW Timer Repair

What is the timer/clock part number for the Amana ARTC7511WW Electric Range?

Timer part number 31-315570-07-0 for Amana ARTC7511WW

The ARTC7511WW Electric Range uses timer part number 31-315570-07-0.

Do you have a failed Amana ARTC7511WW control panel? Click here:

Request Appliance Timer Service

We can repair or replace your faulty Amana ARTC7511WW timer.

ARTC7511WW are also sometimes referred to using these Alternative Names/Model numbers

Whirlpool ARTC7511WW Electric Range, ARTC7511E-P1143691NE, ARTC7511E-P1143660NE, ARTC7511WW-P1143822NWW, ARTC7511LL-P1143643NLL, ARTC7511LL-P1143822NLL, ARTC7511WW-P1143618NWW, ARTC7511E-P1143643NE, ARTC7511LL-P1143618NLL, ARTC7511WW-P1143660NWW, ARTC7511E-P1143618NE, ARTC7511WW-P1143691NWW, ARTC7511LL-P1143691NLL, ARTC7511E-P1143822NE, ARTC7511WW-P1143643NWW, ARTC7511LL-P1143660NLL

ARTC7511WW Schematic and Wiring Diagrams

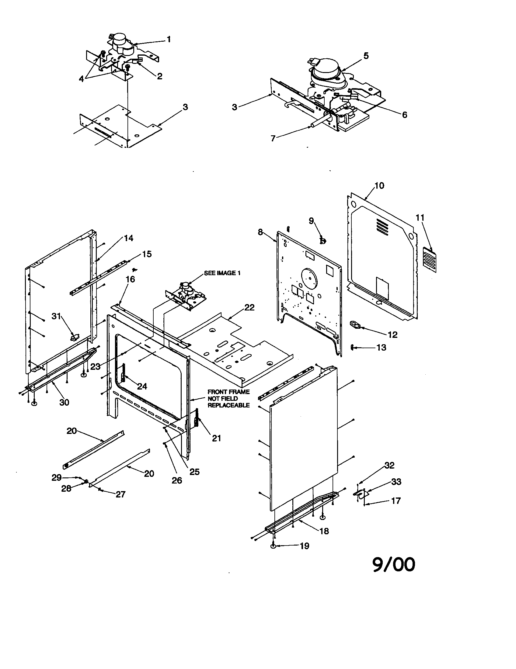
Cabinet Parts diagram
ARTC7511WW Electric Range Cabinet Parts diagram
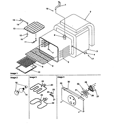
Cavity Parts diagram
ARTC7511WW Electric Range Cavity Parts diagram
Main top and backguard Parts diagram
ARTC7511WW Electric Range Main top and backguard Parts diagram
Oven door and storage drawer Parts diagram
ARTC7511WW Electric Range Oven door and storage drawer Parts diagram

Recent Service Requests

CityProblem DescriptionResolution
Nampa, IdahoScreen went blankAwaiting receipt of timer
Telford, PennsylvaniaNo light at all so can't use electronic buttons for clock or ovenAwaiting receipt of timer
Bountiful, UtahBlank screen with no power to buttons.Repaired
Atlanta, GeorgiaThis Amana was purchased from Sears in 1999. About 2 weeks ago, the clock went dark, now cannot control the oven. Stovetop works fine.

I pulled the unit, found a dead bug lying across several contacts (bug was fried) on one of the 2 circuit boards!

I cleaned the contacts, and put the unit back in, turned the power on, but this ERC did not light up, so I've pulled it and sending it to you.
Repaired
FAIRPORT, New YorkNO POWER DISPLAY ON CONTROL FOR CLOCK AND OVEN. BUT ALL SURFACE BURNERS WORK STILL WORK. ONE DAY IT WAS WORKING, THE NEXT DAY NO POWER.Awaiting receipt of timer
CEDAR FALLS, IowaNo display, does not respond to buttons being pushed.Repaired
Burnsville, MinnesotaIf not available, can you let me know both the cost of a replacement timer and the cost to repair and return the one I have. Thank-you!Repaired
Berkley, MichiganNo display at all. No Oven functions work. Range top, Oven light, and Convection Fan do work.Repaired
Union, MissouriDisplay went out and mechanism stopped working.Repaired
Freeport, MichiganBlank screen. Does not respond to keyboard prompt.Repaired
Buffalo, MinnesotaOven not working; LED screen dark.Repaired
Washington, IllinoisDisplay screen is blank. Touch pad does not respond. Oven and broiler does not function. Stove top is still functional.Repaired

Common problems for Amana Electric Range ARTC7511WW Timer Repair

Are you encountering a similar problem as them? Contact us now and we will try to help you fix your ARTC7511WW timer-related problem.
The control panel on our Amana oven suddenly has no power (lights) and the oven will not turn on, nor will the clock work. It was working yesterday when we did some baking. Ideas?
I have an Amana Even-Air Convection self-cleaning electric oven (ARTC7511WW). I've tried to clean it but get very nervous when I see blue flames on the top coils and also the bottom. As soon as I see flames, I turn it off. Is there another way to clean it? Also, I've missed placed the manual. Where can I get another one?
Our Amana ARTC7511ww Serial number XXXXXXXXXX Mfg P114344NWW the electronic oven control panel does not light up and as a result the oven and clocks do not function
Hi, Over the last few months our electric oven will at random times beep and the "Bake" indicator on the display panel will start to flash. Pressing the "Cancel" button will clear this. Last weekend we did a self-clean for about two hours and ever since then we can't get the oven to bake. We can press the "Bake" or "Convect" button and set the temperature, but the temperature display will start increasing immediately and within 30 seconds the oven will beep and show that it has reached the temperature we set, but the oven will still be cold? I was able to get the broiler to work but last night it seemed that the broiler element would only stay on for a few minutes but the display showed everything to be working? After using the broiler for about 10 minutes the display would only work when we pushed the "clock" and "Clean" buttons. I have a feeling the control panel needs to be replaced but could the lower element or temperature sensor also need replacing? The bottom element is fully co
Control Panel not working. Are there any trouble shooting steps I can follow the locate problem.