Amana ART6511LL Timer Repair

ART6511LL Schematic and Wiring Diagrams

Cabinet Parts diagram
ART6511LL Amana ART6511LL Timer/Clock/ERC Cabinet Parts diagram
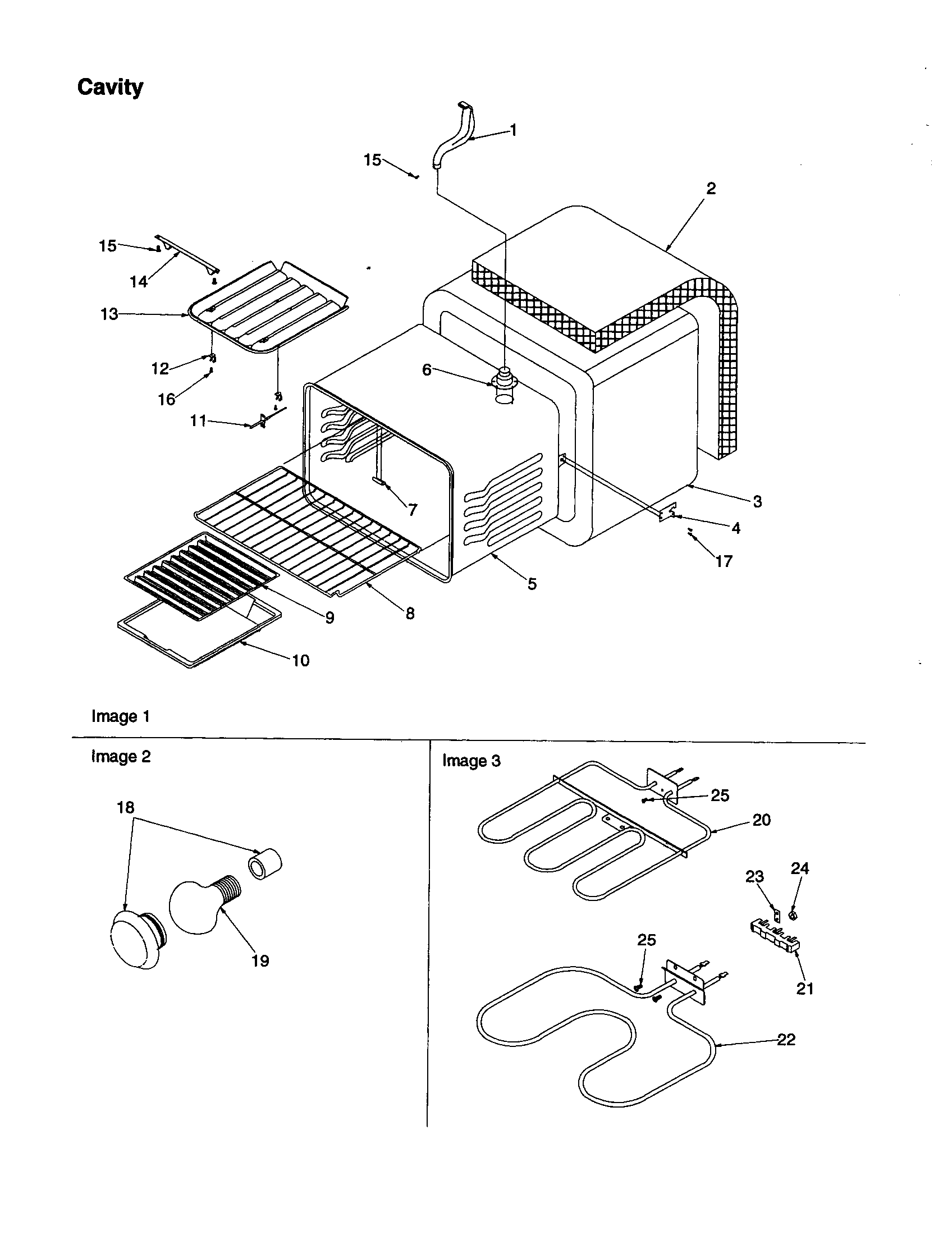
Cavity Parts diagram
ART6511LL Amana ART6511LL Timer/Clock/ERC Cavity Parts diagram
Maintop and backguard Parts diagram
ART6511LL Amana ART6511LL Timer/Clock/ERC Maintop and backguard Parts diagram
Oven door and storage door Parts diagram
ART6511LL Amana ART6511LL Timer/Clock/ERC Oven door and storage door Parts diagram

What is the timer/clock part number for the Amana ART6511LL Electronic Range/Oven?

Timer for Amana ART6511LL Electronic Range/Oven

The Amana ART6511LL Electronic Range/Oven uses timer part number Y0315570.

Do you have a failed Amana ART6511LL Electronic Range/Oven control panel? Click Here:

Request Appliance Timer Service

We can repair or replace your faulty Amana ART6511LL Electronic Range/Oven timer.

Appliancetimers.com Service requests for Amana ART6511LL Electronic Range/Oven Timer

CityProblem DescriptionResolution
Deerbrook, WisconsinF 2 code intermittently, broil element and bake element come on at same time.Awaiting receipt of timer
Tacoma, WashingtonThe oven just quit working & all the display panel was dark. The repair guy said there was power to the ERC but unit read no functions.

range serial #=9903237900
Repaired
Carrollton, OhioDisplay does not light. Oven does not work, but stove top does. I believe that the manufacuturer's part number is ERC 3 Elec Y0315570. The number on the actual timer is 31-315570-07-0Repaired
Mocksville, North CarolinaTimer is dimmly lit and does not function.Beyond Repair
Boring, OregonNo lights/power in over timer panel...............Uninstalled the timer to send to you and the upper oven Broil elements camecame on and heated up. Reinstalled the timer, hit the oven/cancel button and that resolved the problem. So, it appears the oven/cancel feature worked alright, but Bake, Broil and the rest of the settings do not work..Repaired
Janesville, WisconsinNo display. Timer and oven do not work.Repaired
Strongsville, OhioClock just went dead one day. Does nothing now. Top burners and oven light still work just no oven controls through the 0315570Repaired
Chandler, ArizonaNo display and oven will not function.Repaired
Carver, MassachusettsOven only heats to 90 degreesAwaiting receipt of timer
Sims, North CarolinaNo power on Y0315570. Almond overlay included, we need it back too.

Also sending 7 other clocks Howard and I spoke about @ $10 each to be deducted from final bill.
Beyond Repair

Common ART6511LL timer/clock/ERC problems

art6511LL oven cannot erase lock in display and has no oven function since power outage
I HAVE AMANA OVEN ART6511LL AND THE OVEN DOES NOT WORK OR clock OR DIGITAL READOUT.( THE range TOP AND OVEN LIGHT WORK
Amama Model ART6511LL electric range with digital oven contols. The digital control screen is blank and the oven has quit working
AMANA OVEN MODEL NO. ART6511LL DISPLAY ON PANEL WILL NOT LIGHT UP. CAN NOT TURN OVEN ON. BURNERS AND OVEN LIGHT WORK. WHAT SHOULD I CHECK.