Amana Gas Range ARG7800LL Timer Repair

What is the timer/clock part number for the Amana ARG7800LL Gas Range?

Timer part number 31944801 for Amana ARG7800LL

The ARG7800LL Gas Range uses timer part number 31944801.

Do you have a failed Amana ARG7800LL control panel? Click here:

Request Appliance Timer Service

We can repair or replace your faulty Amana ARG7800LL timer.

ARG7800LL are also sometimes referred to using these Alternative Names/Model numbers

Whirlpool ARG7800LL Gas Range, ARG7800LL-P1143322NLL, ARG7800LL-P1143355NLL, ARG7800LL-P1143365NLL, ARG7800LL-P1143319NLL, ARG7800LL-P1143346NLL, ARG7800LL-P1143388NLL, ARG7800LL-P1143326NLL, ARG7800LL-P1143340NLL, ARG7800LL-P1143385NLL, ARG7800LL-P1141299NLL

ARG7800LL Schematic and Wiring Diagrams

Cabinet Parts diagram
ARG7800LL Gas Range Cabinet Parts diagram
Cavity Parts diagram
ARG7800LL Gas Range Cavity Parts diagram
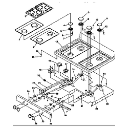
Main top Parts diagram
ARG7800LL Gas Range Main top Parts diagram
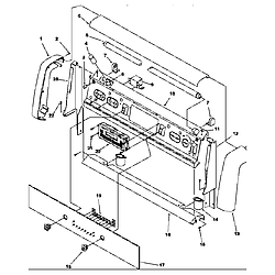
Backguard Parts diagram
ARG7800LL Gas Range Backguard Parts diagram
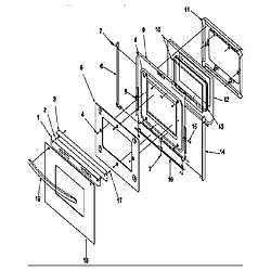
Oven door Parts diagram
ARG7800LL Gas Range Oven door Parts diagram
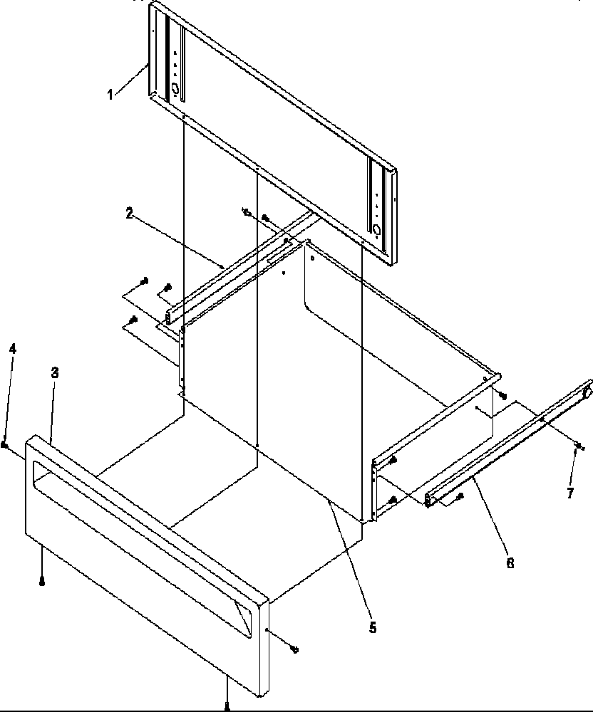
Storage drawer Parts diagram
ARG7800LL Gas Range Storage drawer Parts diagram
Gas supply Parts diagram
ARG7800LL Gas Range Gas supply Parts diagram

Recent Service Requests

CityProblem DescriptionResolution
Hamburg, New YorkTurned on oven several times by itself, was able to turn it off.
Smelled smoke the last time it happened, & unplugged it.

Found connector and board burned up, My tech cleaned it with alcohol. Want replacement if unrepairable.
Repaired
Lindenhurst, IllinoisIt's dark, nothing.Repaired

Common problems for Amana Gas Range ARG7800LL Timer Repair

Are you encountering a similar problem as them? Contact us now and we will try to help you fix your ARG7800LL timer-related problem.
amana oven-no spark at rear burners!