Amana Gas Range ARG7800 Timer Repair

What is the timer/clock part number for the Amana ARG7800 Gas Range?

Timer part number ERC 31944801 for Amana ARG7800

The ARG7800 Gas Range uses timer part number ERC 31944801.

Do you have a failed Amana ARG7800 control panel? Click here:

Request Appliance Timer Service

We can repair or replace your faulty Amana ARG7800 timer.

ARG7800 are also sometimes referred to using these Alternative Names/Model numbers

Whirlpool ARG7800 Gas Range, ARG7800SS-P1143355NSS, ARG7800WW-P1143340NWW, ARG7800LL-P1143326NLL, ARG7800E-P1143388NE, ARG7800WW-P1143346NWW, ARG7800E-P1143355NE, ARG7800LL-P1143322NLL, ARG7800CC-P1143388NCC, ARG7800E-P1143346NE, ARG7800LL-P1143355NLL, ARG7800LL-P1143319NLL, ARG7800E-P1141299NE, ARG7800LL-P1143365NLL, ARG7800LL-P1143340NLL, ARG7800SS-P1143385NSS, ARG7800WW-P1143355NWW, ARG7800E/P1143319NE, ARG7800SS-P1143388NSS, ARG7800LL-P1143388NLL, ARG7800WW-P1143385NWW, ARG7800LL-P1143385NLL, ARG7800WW-P1143319NWW, ARG7800WW-P1141299NWW, ARG7800WW-P1143326NWW, ARG7800E-P1143365NE, ARG7800WW-P1143322NWW, ARG7800E-P1143322NE, ARG7800E-P1143385NE, ARG7800E-P1143326NE, ARG7800E-P1143340NE, ARG7800LL-P1141299NLL, ARG7800LL-P1143346NLL, ARG7800WW-P1143365NWW

ARG7800 Schematic and Wiring Diagrams

Cabinet Parts diagram
ARG7800 Gas Range Cabinet Parts diagram
Cavity Parts diagram
ARG7800 Gas Range Cavity Parts diagram
Main top Parts diagram
ARG7800 Gas Range Main top Parts diagram
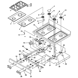
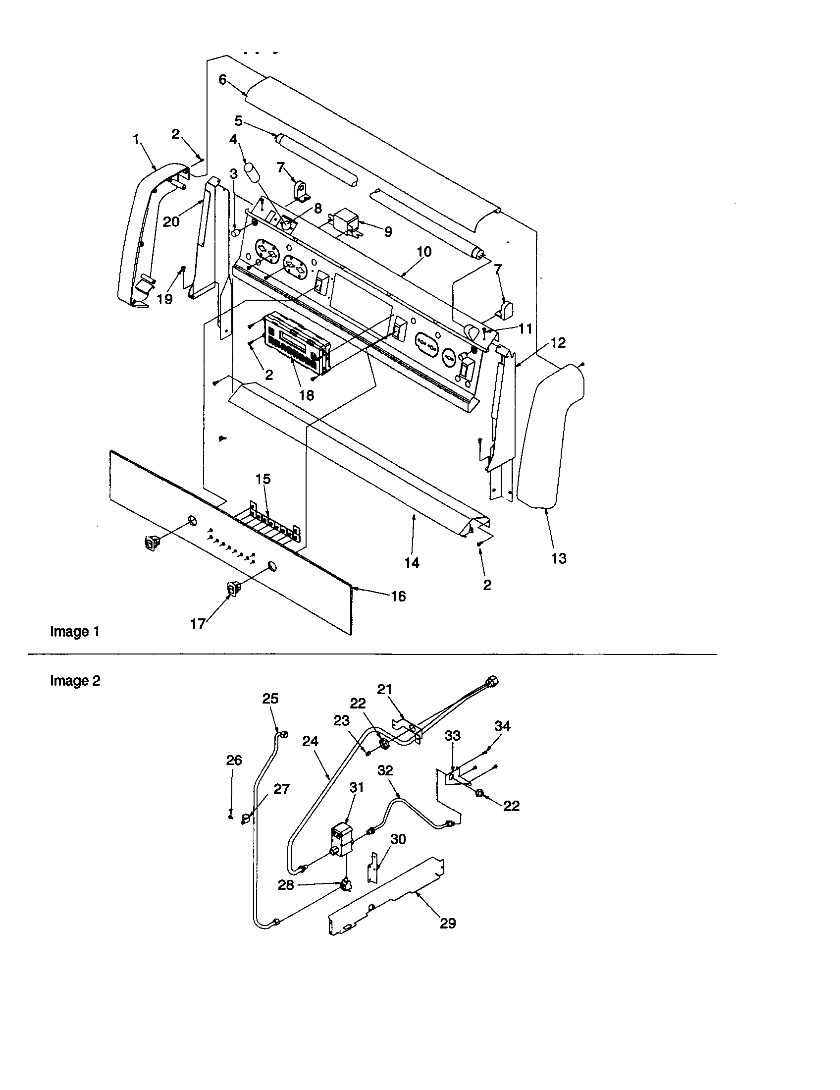
Backguard and gas supply Parts diagram
ARG7800 Gas Range Backguard and gas supply Parts diagram
Oven door and storage door Parts diagram
ARG7800 Gas Range Oven door and storage door Parts diagram

Recent Service Requests

CityProblem DescriptionResolution
Ballwin, MissouriWent completely out. No displayAwaiting receipt of timer
Westbrook, MaineTurned oven on and heard the sound of fried eggs going on behind clock on circuit board. It produced a foul odor and then the controls that feeds through this timer unit failed to work. The clock still works, but all other functions have failed. The part number on the unit is what I entered above. I did try to get the part from a appliance parts supplier and they have the part number listed as 31944801 and when they attempted to order it from the manufacturer the manufacturer wouldn't release the part. Would like to purchase one from your inventory if you have one or I can send this unit to you to rebuild. thanks
serial # of stove:9904296369 mfg: P1143346NWW
Repaired
Middlebury, IndianaFollowing a brief , several minute power outage, the clock and all other timer functions were blank. The Panel light and the oven light work, as well as the burners.Repaired
Philadelphia, Pennsylvaniapower going to ECR, AND THAT'S IT. Control board is blank cannot select anythingAwaiting receipt of timer
Saint-Eustache, QuebecNOTHINGAwaiting receipt of timer
Saint-Eustache, QuebecnaAwaiting receipt of timer
Saint-Eustache, QuebecNothing is showed in the screen. When we push any bottom, nothing happens. Only oven light and neon on the top works.Awaiting receipt of timer
Star City, SaskatchewanDead screen, no response to buttonsRepaired
Francois Lake, British ColumbiaFor a few months we got an intermittent F5. Lately we get a consistent F3 whenever we use the oven.

The temp sensor seemed to check out fine--within the normal ohm range.
Repaired
Wellesaley, MassachusettsClock does not illuminate and all oven functions do not operate except top burners do work. Oven will remain unplugged until return of control board to eliminate damage to other range components.Repaired
Amana, IowaOven control just went dead (display is dead and none of the oven functions will work nor will the broiler - the rest of the range works i.e. surface burners, panel light & oven lightRepaired
burlington, Washingtonf-3 still happens after replacing temp sensorAwaiting receipt of timer
Ottawa, OntarioThe timer etc just died very suddenly.Repaired
Liverpool, New YorkNo display - just stopped working. No prior error codes displayed.Repaired
Albuquerque, New MexicoQuit working altogether. Still able to use the gas stove, but the clock/timer is blank thus cannot use the oven.Repaired
Hamburg, New YorkTurned on oven several times by itself, was able to turn it off.
Smelled smoke the last time it happened, & unplugged it.

Found connector and board burned up, My tech cleaned it with alcohol. Want replacement if unrepairable.
Repaired
Rochester, New YorkUnit periodically goes dark, clock loses time and resets, oven will not function...then it returns to working condition.Awaiting receipt of timer
Lakewood, ColoradoOven and broiler will not ignite. Stove top burners ignite properly.Repaired
Lindenhurst, IllinoisIt's dark, nothing.Repaired
Palatine, IllinoisElectronic Range Control (ERC) is not functioning at all. The display is not working and the buttons do not have any effect on making it operate properly. There is nothing shown on the display. There is power to the range. The gas burners work and the lights to the oven and the top panel work. Due to the ERC not functioning the oven is not working.Replaced with reconditioned timer

Common problems for Amana Gas Range ARG7800 Timer Repair

Are you encountering a similar problem as them? Contact us now and we will try to help you fix your ARG7800 timer-related problem.
I have an Amana Insta-Broil Gas oven and the Oven will not light up. Can you help Model ARG7302WW Serial # XXXXX MFG P1143343NWW
Amana gas oven model APG7800WW oven does not work. When turned on a loud buzzing sound occurs and a message appears; F 4 ,need service call. The burners and the rest of the range are fine. The serial # XXXXX the gas range is9812240345 This range is in a remote area of MN and I need advice on which parts are most likely to solve the problem cuz service calls are very difficult to aroven. Thanks, XXXXX XXXXX
I bought a used Amana ARG7800WW gas range and converted it to propane. The oven will take 6-10 minutes to light. We have used the clean cycle and it worked fine. We tried baking with it and the first bread took about 15 minutes longer than it should have, and the second batch got half done and the oven wouldn't relight. The light coil gets bright red, but the gas doesn't seem to turn on. Any ideas? Barry
amana model #arg7800ww/p1143346nww oven after reaching temperature stops working and gives the error code f3
Hello, my gas ARG7800ww digital display is not working, but the oven top still works. Last I tried using the display was when I was about to change the clock for daylight savings, but then stepped away and forgot to finish. Is it possible I ran a battery out?
I have an Amana insta-broil AGS751W. I have lost the manual and need instructions for cleaning the self-cleaning oven ASAP. We haven't used the oven for a few years (!) because we have been living elsewhere. Are we likely to run into any special problems because we haven't used it for so long?
Hi, I have an Amana oven Model Nbr. ARG7800E. The oven will not ignite, the broiler will not ignite and the self clean system will not ignite. The oven has a seperate ignitor from the broiler. I replaced the oven ignitor Nov. 2008. Thanks for yoyr help. Steve
The oven in my Amana ARG7800E just stopped working (no gas is being emitted so it cannot ignite). The ignition element is glowing and putting out lots of heat.
Recently cleaned my Amana Insta-broil gas range( I believe that range in may 8-10 yrs) and now the oven will not heat up past 100 degree's. Broiler and range top burners are working. I am getting a symbol under the temp.read out, but when we bought our Townehome 3 yrs ago there no manual left with the range so I am not sure what that may mean? HELP! Thank-you for any advise.
Amana ARG7800E oven or broiler won't ignite. Replaced oven ignitor previously in 2/07.
have arg7800E not getting oven temp up properly andtemp fluctuates some times have to light burners to get oven to even start up
How can I get an Owner's Manual for a Model ARG7800E range/oven. Trying to find out nature of problem when activating the self-cleaning feature. Get an F9 on the display and then it starts beeping. Don't know how to turn off the beeping. It starts back up even after pushing the cancel button. Only way to stop it is to unplug the appliance. Help! Pat
I have an Amana ARG7800SS Gas oven and it is not heating up quickly like it used to. Also, I have to turn the temperature gauge up to 450 or higher to get the flame to kick in and get the oven up to temperture up, but then it doesn't stay hot. It's as if it's being shut off. Help! I have a wedding cake to bake! Thanks, Jen
amana oven-no spark at rear burners!
amana #ags760 gas oven. range top igniter clicks but does not lite burner. it seems to try to ignite wrong burner sometimes.
I have an ARG7800 oven. The range top burners work and the broiler works. The oven is not working. I think I need to light a pilot light, but the book doesn't say anything about that. Help??
Hi, our self-cleaning AMANA gas oven is beeping with a F5 service code warning. We have tried pushing the OVEN CANCEL pan and nothing has stopped the beeping. Please help! Barbara
how do you remove the oven light socket on the amana arg7800 gas oven?
I have an Amana ARG7800 LL Mfg# XXXXX I need to replace the Broiler Igniter. I have the control panel loose, and the top of the oven loose and the Igniter hanging in the oven compartment. I can not find where the igniter plugs into the power supply? Can you tell me where it connects and can I get to it easily?
I cleaned my oven yesterday and now the oven and the broiler don't work. It worked well to use the auto clean. Looked in the book reguarding a pilot light and found nothing. This is the 3rd time I have used the auto clean.
Oven temperature My oven takes forever to heat up. It's set for 400, but after 25 minutes, is only up to 125. What's the problem and can I fix it? Is it worth fixing? It's about 10 years old. Amana ARG7800 Thanks !!!
Have igniters for top burners. Assuming I unscrew burner and lift off to gt at igniter? Any help appreciated
Model number ARG7800E Amana oven oven will not heat up. The ooven ignitor light comes on but temp stays at 100
I have a an AMANA gas range burners work but oven doesn't I have a an AMANA gas range and the top burners all work but today when my wife tried to turn on the oven it doesn't work. Is there some sort of pilot light on these ranges? It is only about 5 or 6 years old. Its model number is ARG7800E.
Amana Oven ARG7800E - Oven will only heat up to 150 degrees. The oven will only heat up to 150 degrees. It took about 1/2 hour to do that. It is getting gas & heat. The range top is working fine. Why is my oven only heating up to 150 degrees & taking so long to do that?
Amana oven ARG7800E Oven, Broiler and Self Clean will not ignite The Oven will not ignite, just replaced the oven ignitor Nov.2008. The Broiler will not ignite, The Self clean will not ignite. The door does automatically lock when you start the self clean cycle but no heat. Thanks for your assistance. Regards, Steve
Looking for manual for Amana ARG7800WW Gas Oven
Amana arg7800ww oven will not come up to temperature. already replaced oven temperature sensor, but oven will only heat up to 120 degrees. The Broiler ignitor will glow when turned on but will not ignite. Is it the gas valve??? any help will be appreciated. the range top burners work fine,,
Describe your amana arg7800ww Gas Kitchen oven Describe your Amana ARGS7650SS Gas Kitchen oven Problem we are getting an F3 and F2 error when trying to heat the oven to 350