Amana ARG7600WW Timer Repair
What is the timer/clock part number for the Amana ARG7600WW Electronic Range/Oven?
The ARG7600WW Electronic Range/Oven uses electronic clock control part number 315569, 31944801, 793360 or 31-315569-07-0. This part has been permanently discontinued by the manufacturer.
Do you have a failed Amana ARG7600WW Electronic Range/Oven control panel? Click Here:

We can repair or replace your faulty Amana ARG7600WW Electronic Range/Oven timer
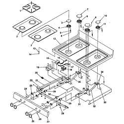
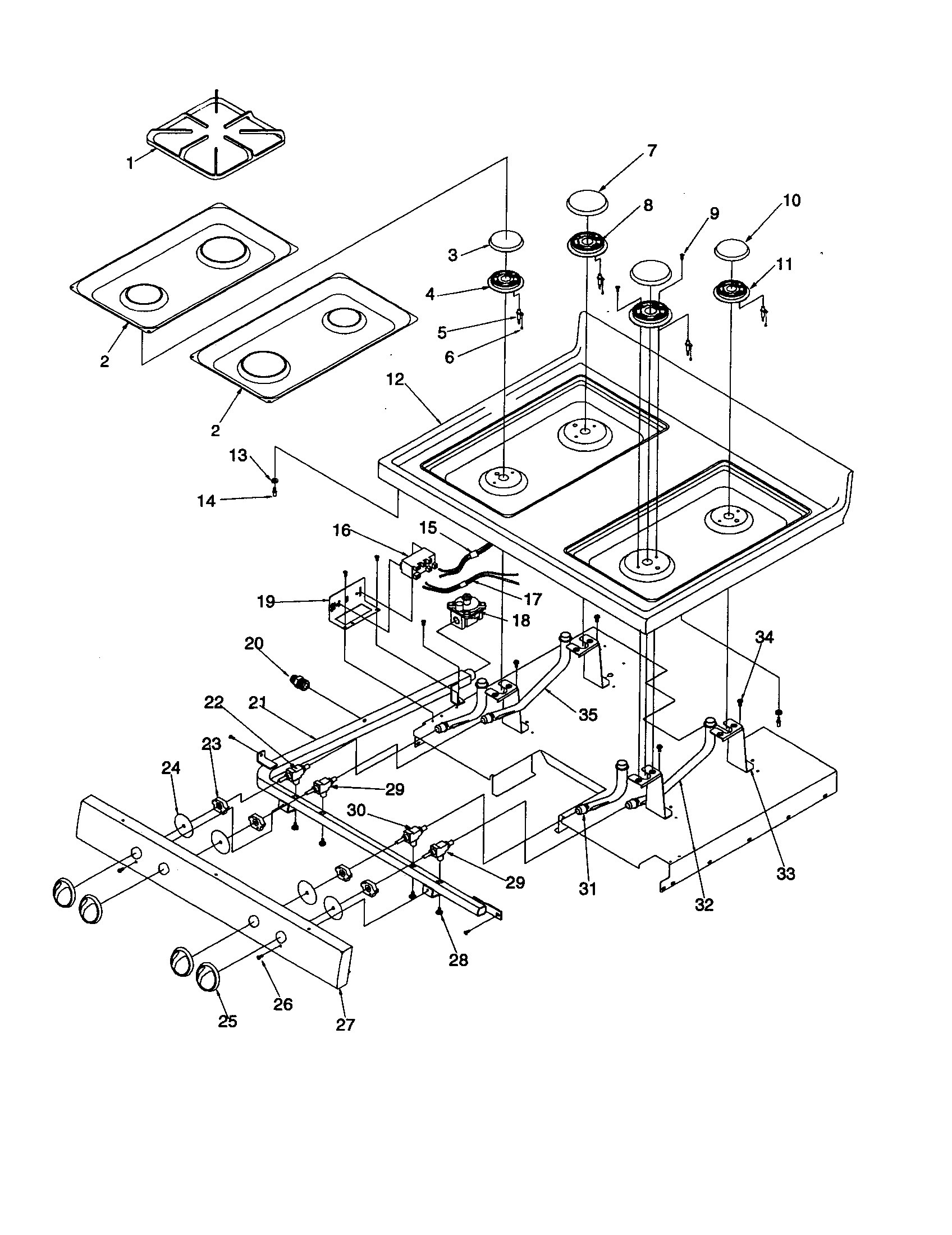
ARG7600WW Schematic and Wiring DiagramsAppliancetimers.com Service requests for Amana ARG7600WW Electronic Range/Oven Timer
| City | Problem Description | Resolution |
|---|
| Winnipeg, Manitoba | Oven does not maintain temperature. Sometimes 60F too low, sometimes 60F too high. Replaced temperature sensor and saw no improvement. | Repaired | | KOMOKA, Ontario | UNIT GOES DEAD AFTER POWER GOES OUT AND YOU MUST UPLUG THE UNIT SEVRAL TIMES TO GET IT TO RESTART | Awaiting receipt of timer | | Reno, Nevada | Can't turn oven on and touch pad doesn't respond. Stove top burners work. | Awaiting receipt of timer | | Oshkosh, Wisconsin | No readout at all, completely black. | Awaiting receipt of timer | | Jackson, Michigan | DOESN'T LIGHT UP AT ALL OR DO ANYTHING ELSE | Repaired | | East Hanover, New Jersey | Timer went blank...tried circuit breakers...would not turn back on. | Repaired | | BAY CITY, Michigan | DOES NOT WORK | Repaired | | Mukwonago, Wisconsin | just stopped working | Awaiting receipt of timer | | Hartland, Wisconsin | Timer is blank. Ordered another off ebay that was supposed to be working, that one doesn't power up either. I'm shipping the second which you can keep for a $20.00 discount off service of the first. | Repaired | | Grahamsville, New York | oven does not work, no lights on timer | Repaired | | Johns Island, South Carolina | Unit just buzzes. Will not light the oven of broiler | Repaired | | New Lenox, Illinois | Stove won't turn on. I replaced the two ignitors, the stove top burners work fine, but the oven won't start for broil or for bake. | Awaiting receipt of timer | | Lowell, Massachusetts | First the broiler stopped working and then three days later everything stopped working. | Repaired | | Pittsburgh, Pennsylvania | I need to purchase a replacement part. If you have a new part available, then I would like to purchase it. If not, then I would like to purchase a reconditioned part. | Awaiting receipt of timer | | Blaine, Minnesota | Timer not repairable. Want quote on new and reconditioned replacement. | Awaiting receipt of timer | | Los Angeles, California | Problem began as intermittent. Oven/broiler would not heat. Now it doesn't heat at all. | Beyond Repair | | Studio City, California | it just stopped working and lighting up, but I have power to stove | Awaiting receipt of timer | | Komoka, Ontario | clock/control is dead rest of range works | Awaiting receipt of timer | | Shakopee, Minnesota | F-5 error code- motherboard burned out and needs to be replaced for my electronic oven/range timer. | Awaiting receipt of timer | | Westby, Wisconsin | F5 on boot | Awaiting receipt of timer | Common ARG7600WW timer/clock/ERC problems
|