Amana Gas Range AGS761L Timer Repair

What is the timer/clock part number for the Amana AGS761L Gas Range?

Timer part number 31-309440-07-0 for Amana AGS761L

The AGS761L Gas Range uses timer part number 31-309440-07-0.

Do you have a failed Amana AGS761L control panel? Click here:

Request Appliance Timer Service

We can repair or replace your faulty Amana AGS761L timer.

AGS761L are also sometimes referred to using these Alternative Names/Model numbers

Whirlpool AGS761L Gas Range, AGS761L-P1142635NL, AGS761LL-P1142635NLL, AGS761LL-P1141274NLL, AGS761L1-P1141274NL

AGS761L Schematic and Wiring Diagrams

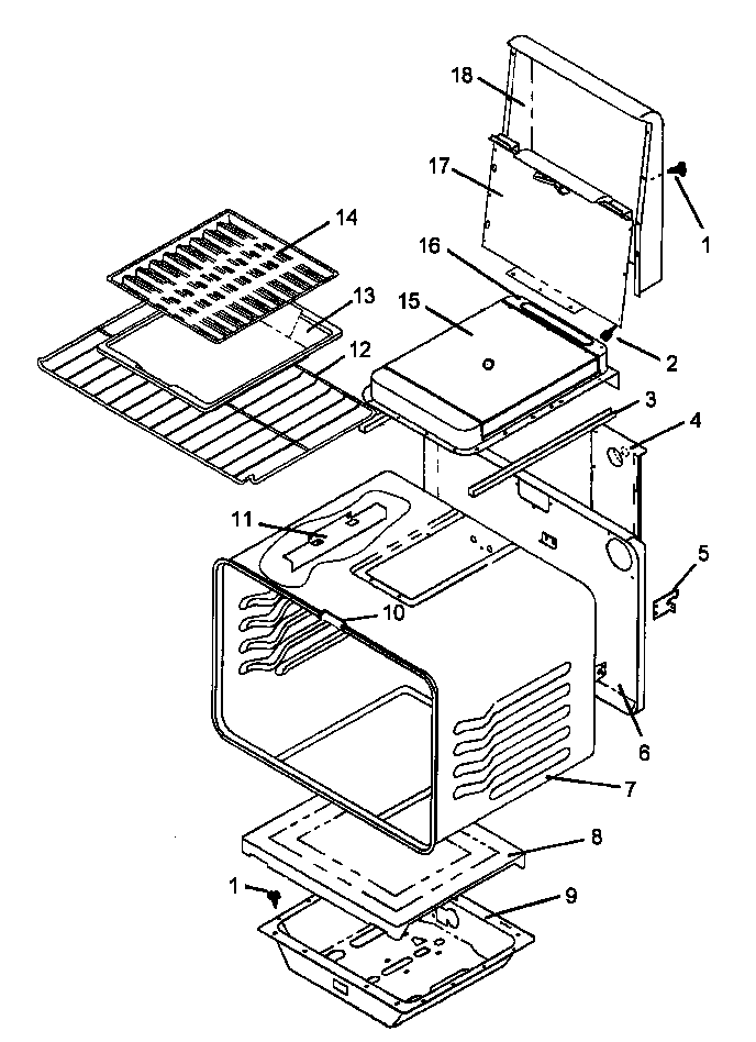
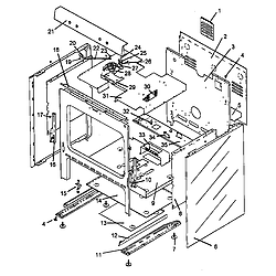
Cabinet assembly Parts diagram
AGS761L Gas Range Cabinet assembly Parts diagram
Oven assembly Parts diagram
AGS761L Gas Range Oven assembly Parts diagram
Sealed burner Parts diagram
AGS761L Gas Range Sealed burner Parts diagram
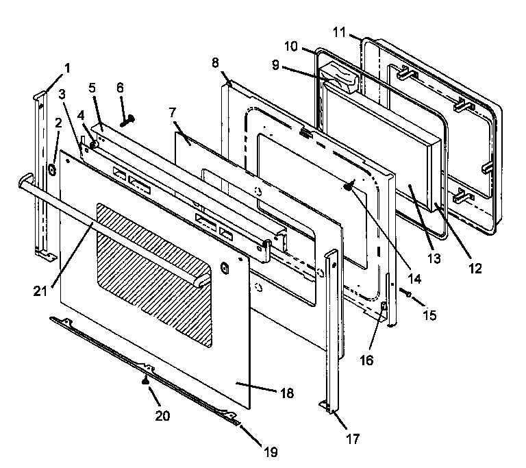
Oven door assembly Parts diagram
AGS761L Gas Range Oven door assembly Parts diagram
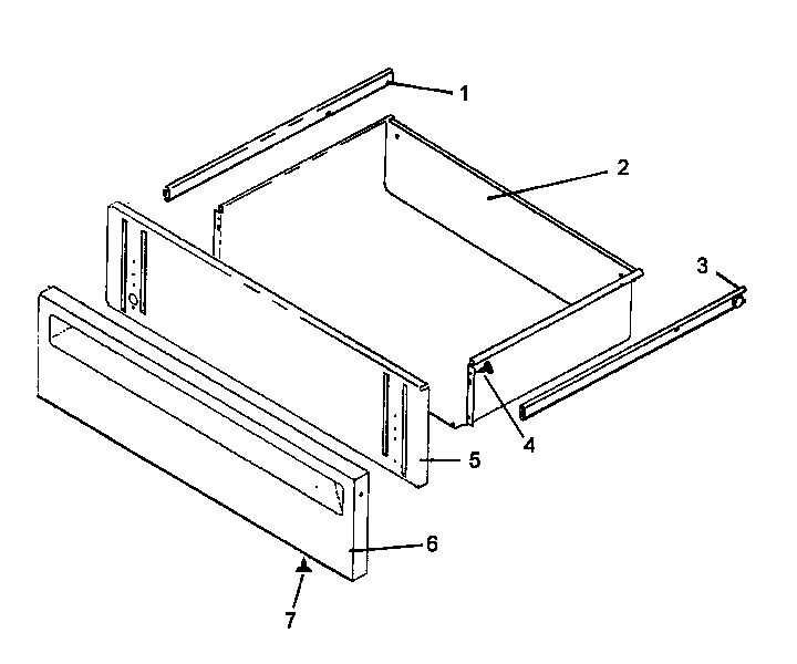
Storage drawer assembly Parts diagram
AGS761L Gas Range Storage drawer assembly Parts diagram
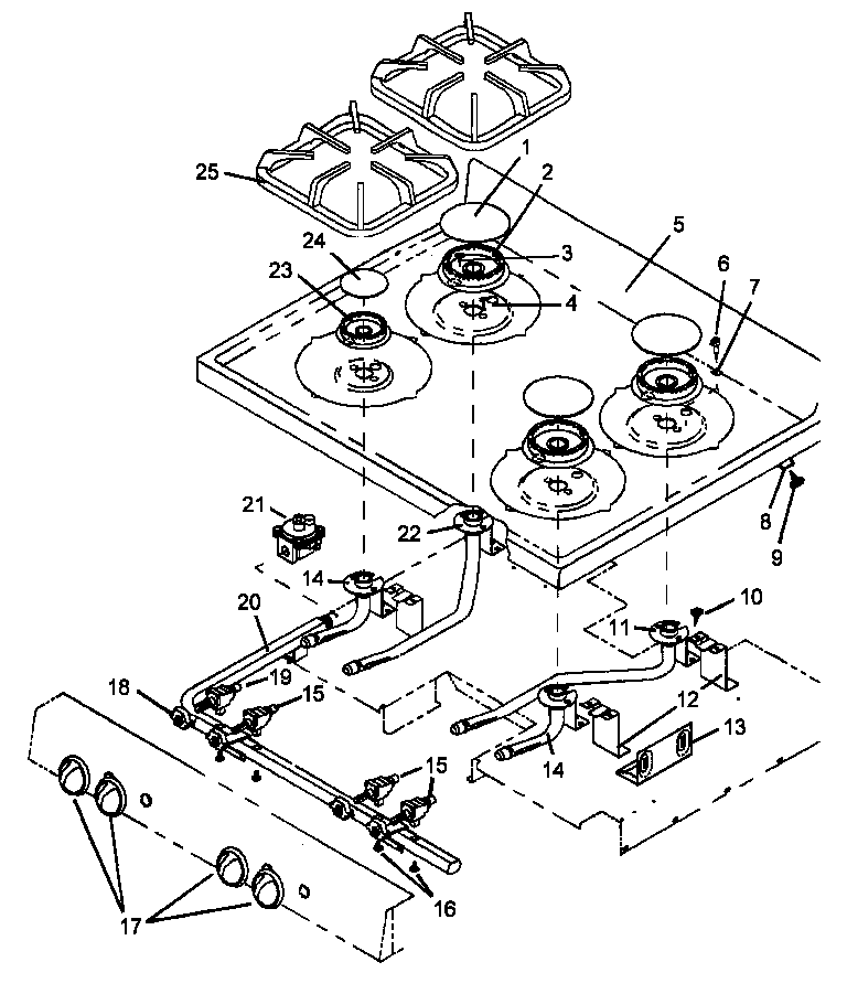
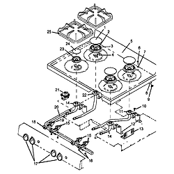
Gas components Parts diagram
AGS761L Gas Range Gas components Parts diagram
Electrical components Parts diagram
AGS761L Gas Range Electrical components Parts diagram
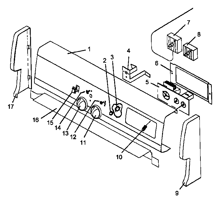
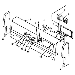
Backguard diagram
AGS761L Gas Range Backguard diagram

Recent Service Requests

CityProblem DescriptionResolution
Boone, IowaThe timer went blank one day, the oven door lock would hum and the oven would not work. The time would also not show up. I had a certified appliance tech test the unit and said that the clock was broken and there were capacitors that he thought were bad. Part is no longer in stock and had to get a new unit.

Sometimes now whe the oven is plugged in the time does show up but the door still hums.
Repaired
Brookville, Pennsylvanianot sure of timer part # -I have timer out and entered first numbers on unit. It also has following-100-558-03 585/905 F 94371234 7087 02400173 02 on unit. Can you verify that you can repair/test this unit and how to pack for repair ??

Thank you,

Don Musgrave
Beyond Repair
kenosha, WisconsinWhen oven is set to temperature (to bake), the display shows the temperature like normal. Then after about 30 seconds or so, it just goes blank and never ignites to oven. The broiler is the same way.

Ive taken out the igniter and hooked it up to straight 120 voltage. It does end up glowing and appears to be working (we replaced that less than a year ago). Ive also measured the voltage across the igniter wires (with the igniter taken out), and there is no change in the voltage when the temperature is set to baking temperature.
Awaiting receipt of timer

Common problems for Amana Gas Range AGS761L Timer Repair

Are you encountering a similar problem as them? Contact us now and we will try to help you fix your AGS761L timer-related problem.
I have a model AGS761L AND THE OVEN AND BROILER DON'T LIGHT. I ASSUME THE IGNIGHTER NEEDS TO BE REPLACED. IS THERE A MANUAL THAT SHOWS HOW TO DO IT?
I got a used amana gas oven,self-cleaning, with instaBroil. I already lost the manual and I was changing the jets from nat to LP, I got the rangetop done but I have no idea how to change the other ones
I have error code F5 on my Amana range model #AGS761L. What does this mean?
I have a speed queen dryer that heats properly but clock does not shut off on it's own. Does anyone have any ideas?
I have Maytag Amana [FONT='Times New Roman','serif']AGR5715QDS range. The most right knob turns gas OK, but doesnt click the ignitor spark. So I use other knobs to ignite this broken one and it drives me nuts. [/font] [FONT='Times New Roman','serif'][/font] [FONT='Times New Roman','serif']Please help me pick the right part to replace. [/font] [FONT='Times New Roman','serif'] [FONT='Times New Roman','serif'][/font]
I have an Amana Oven Model #AER5715QAW and purchased an oven element from you, however more is wrong--I suspect the oven sensor--part # 12001656 I think. Is there a way to confirm if it is the sensor. Oven nor Broil element respond (no oven preheating)... display is stuck on 100 degrees, but the oven clicks as though it is pre-heating... and nothing happens. How many parts could still be the problem? Am I on the right track--thinking about the sensor? Some details: When the oven went out, I happened to be at home--I heard a sort of clank sound... The oven was not being used at the time. Only later did we discover the bad element. When I replaced the oven element, the bad element was broken (I'd never seen that before). Element was missing a 2 inch section which sat on the floor of the enclosure--totally disconnected from the element. The display and oven top and all functions seem to work fine--just miss the oven...