Amana Electric Range ACF4225AW Timer Repair

What is the timer/clock part number for the Amana ACF4225AW Electric Range?

Timer part number 77001219 for Amana ACF4225AW

The ACF4225AW Electric Range uses timer part number 77001219.

Do you have a failed Amana ACF4225AW control panel? Click here:

Request Appliance Timer Service

We can repair or replace your faulty Amana ACF4225AW timer.

ACF4225AW are also sometimes referred to using these Alternative Names/Model numbers

Whirlpool ACF4225AW Electric Range, ACF4225AW-PACF4225AW0, ACF4225AW-PACF4225AW1

ACF4225AW Schematic and Wiring Diagrams

Cabinet Parts diagram
ACF4225AW Electric Range Cabinet Parts diagram
Cavity Parts diagram
ACF4225AW Electric Range Cavity Parts diagram
Main top and backguard Parts diagram
ACF4225AW Electric Range Main top and backguard Parts diagram
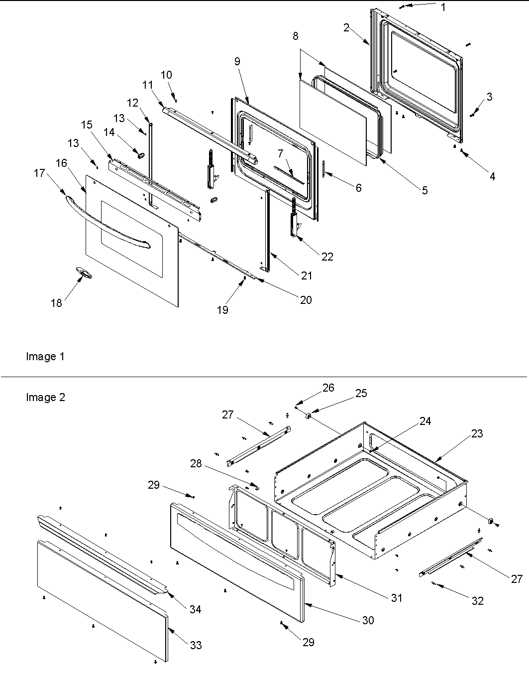
Oven door and storage drawer Parts diagram
ACF4225AW Electric Range Oven door and storage drawer Parts diagram

Recent Service Requests

CityProblem DescriptionResolution
Milwaukee, WisconsinSet temp to 400 and heats to 375 even with a 35+ error correction entered. Preheat alarm goes off at 350, sometimes twice. The thermostat has been replaced and still has the same symptoms.Repaired
Milwaukee, WisconsinSet temp to 400 and heats to 375 even with a 35+ error correction entered. Preheat
alarm goes off at 350, sometimes twice. The thermostat has been replaced and still has
the same symptoms.
Repaired

Common problems for Amana Electric Range ACF4225AW Timer Repair

Are you encountering a similar problem as them? Contact us now and we will try to help you fix your ACF4225AW timer-related problem.
I have an Amana Big Oven 5.14 cu. Electric. And for some reason I can set the oven to say 350* and the preheat starts and then a few min's later it will beep telling me it's ready and it's only at 200*. I can hear it clicking like it's turning the coil on but then it seems to click right back off again. The quiet click on -off keeps going constatnly. Is this normal? I'm guessing not. I am pretty mechanicaly able but I am In no way an Amana repair man. If it's a thermostat or a module of some sort I can probably change it, but I don't know much about diagnostics. Oh, by the way It does eventually get up to temp, it just takes about an hour or so.
How Do I Get the Door back on an Amana ACF4225AW Oven?
my oven says F9 when i try to self clean
Hello: Are you able to provide the length and width of the outer glass (white) for the door of an Amana (or Maytag) oven Model Number ACF4225AW; Part Number 31946703W. I've been searching for weeks and all sources say "no longer available". If I knew the exact dimensions, I might get lucky and find a glass that is within 1/4" smaller and that glass would likely work OK for me. Is there a master list of models/parts numbers along with the dimensions? Thank you. Jerry H.
The door lock is locked on my oven (Amana ACF4225AW). How do I get it unlocked?