What is the timer/clock part number for the Magic Chef 9122XPB Range?
The 9122XPB Range uses timer part number 7602P097-60.
Do you have a failed Magic Chef 9122XPB control panel? Click here:

We can repair or replace your faulty Magic Chef 9122XPB timer.
9122XPB are also sometimes referred to using these Alternative Names/Model numbers
Maytag 9122XPB Range, Whirlpool 9122XPB Range
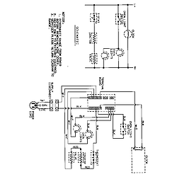
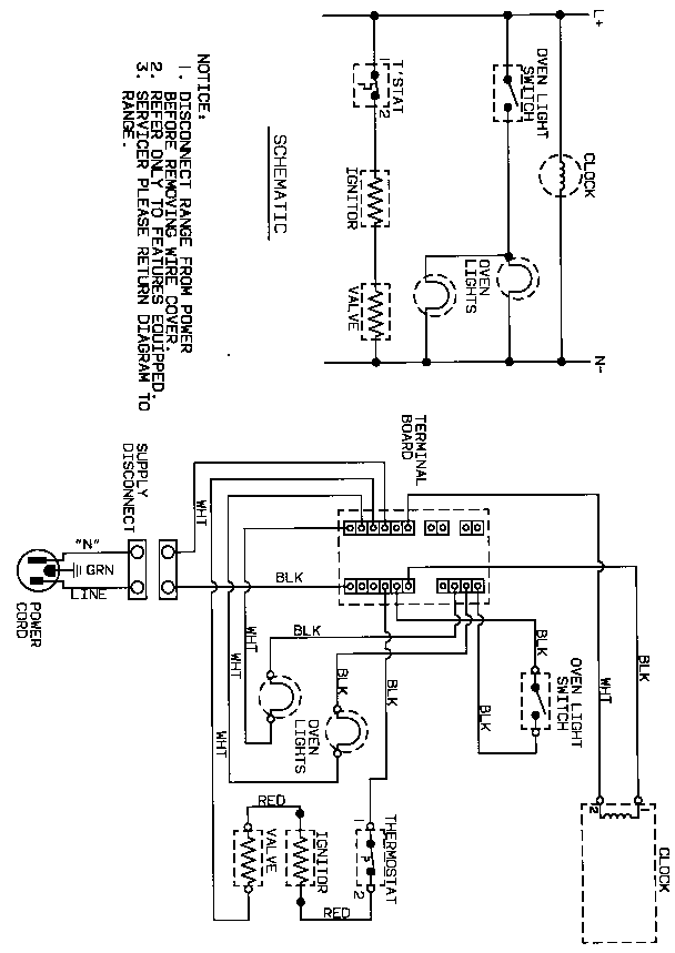
9122XPB Schematic and Wiring Diagrams
| City | Problem Description | Resolution |
|---|
| New Orleans, LA, Louisiana | No power or digits | Awaiting receipt of timer |
| New Orleans, LA, Louisiana | No power or digits | Awaiting receipt of timer |
| San Bernardino, California | Parts of the red numerals do no light up completely unless you push on the digital clock/timer. This timer has to the right of the numerals a clock select pad on top and a timer select pad on bottom. To the left of the numerals is an hour adjustment pad on top and a minute adjustment pad on bottom. If you don't have one in inventory please let me know if mine can be repaired. | Awaiting receipt of timer |