Kenmore Electric Free Stand Range 9119352192 Timer Repair

What is the timer/clock part number for the Kenmore 9119352192 Electric Free Stand Range?

Timer part number 8299779 for Kenmore 9119352192

The 9119352192 Electric Free Stand Range uses timer part number 8299779.

Do you have a failed Kenmore 9119352192 control panel? Click here:

Request Appliance Timer Service

We can repair or replace your faulty Kenmore 9119352192 timer.

9119352192 are also sometimes referred to using these Alternative Names/Model numbers

Sears 9119352192 Electric Free Stand Range

9119352192 Schematic and Wiring Diagrams

Backguard section Parts diagram
9119352192 Electric Free Stand Range Backguard section Parts diagram
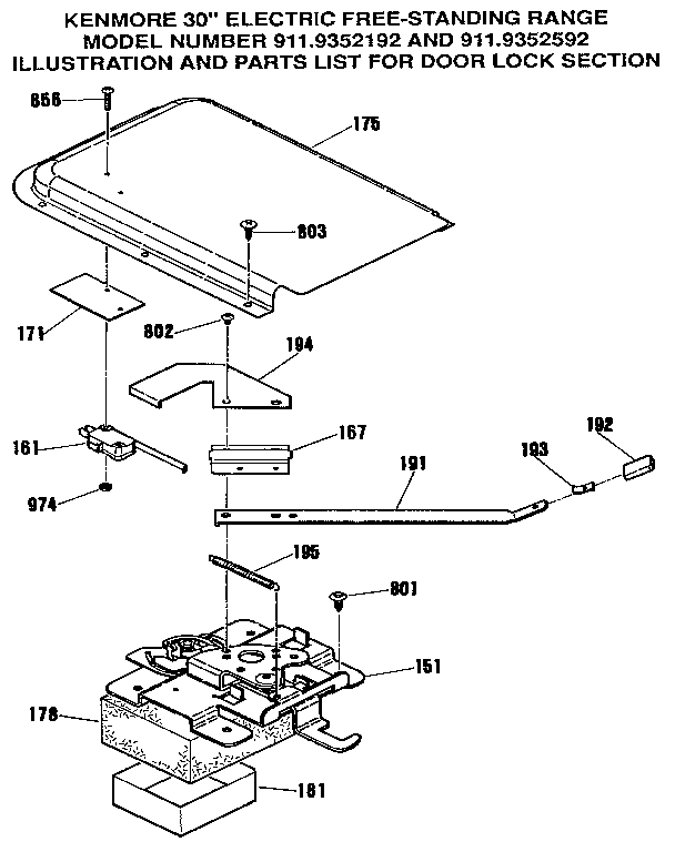
Door lock section Parts diagram
9119352192 Electric Free Stand Range Door lock section Parts diagram
Main top section Parts diagram
9119352192 Electric Free Stand Range Main top section Parts diagram
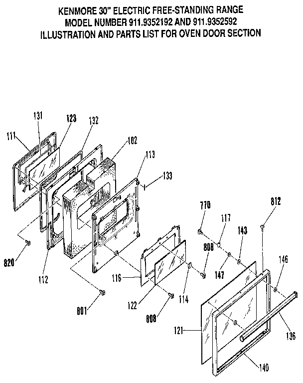
Oven door section Parts diagram
9119352192 Electric Free Stand Range Oven door section Parts diagram
Body section Parts diagram
9119352192 Electric Free Stand Range Body section Parts diagram
Wire harnesses and components Parts diagram
9119352192 Electric Free Stand Range Wire harnesses and components Parts diagram

Recent Service Requests

CityProblem DescriptionResolution
Bulverde, TexasF8 error, beeping and oven will not heatAwaiting receipt of timer