|
||||||
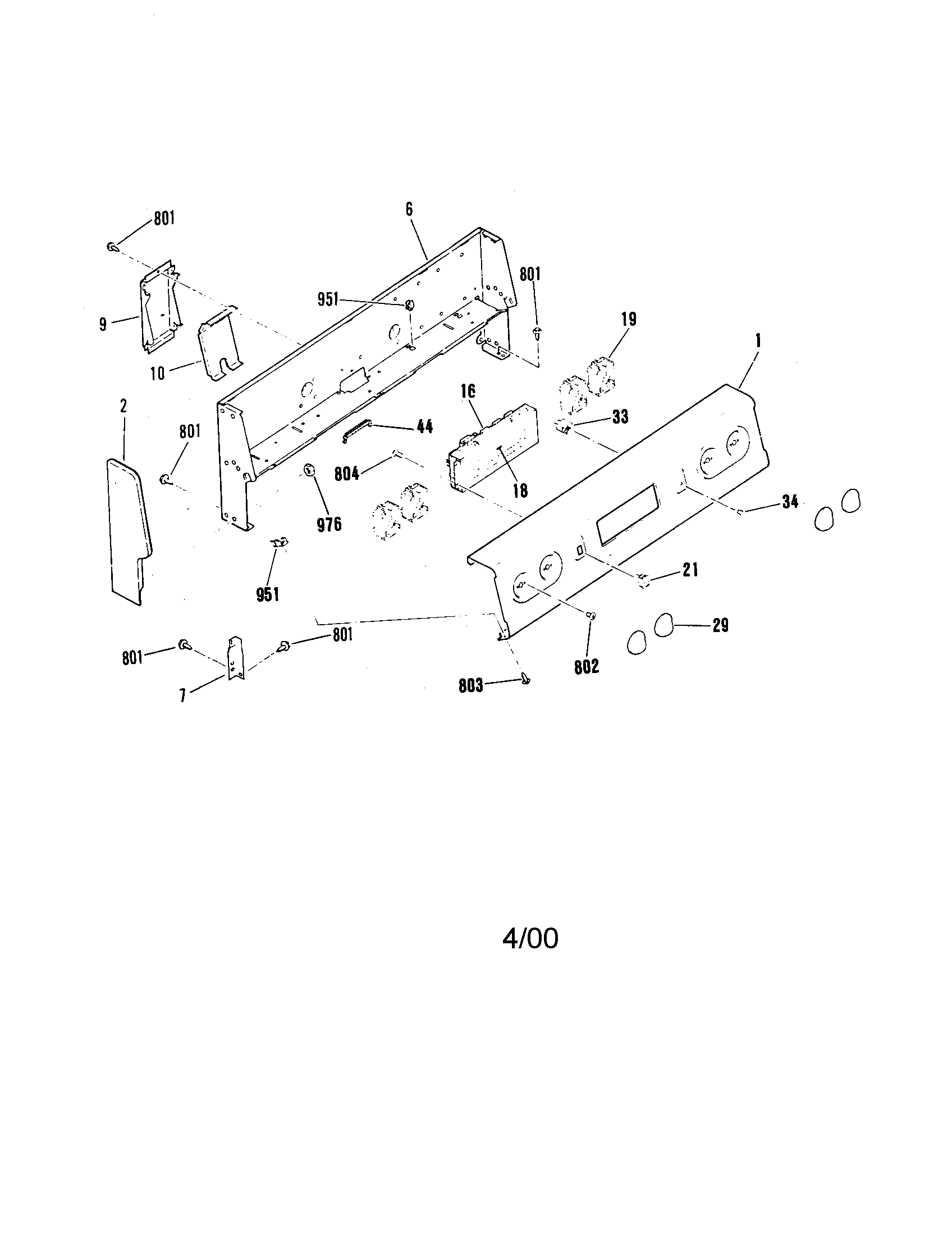
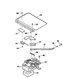
Kenmore Electric Range 9119352190 Timer RepairWhat is the timer/clock part number for the Kenmore 9119352190 Electric Range?![]() The 9119352190 Electric Range uses timer part number WB27K5137R. Do you have a failed Kenmore 9119352190 control panel? Click here: We can repair or replace your faulty Kenmore 9119352190 timer. 9119352190 are also sometimes referred to using these Alternative Names/Model numbersSears 9119352190 Electric Range 9119352190 Schematic and Wiring Diagrams |
||||||
|
||||||