|
||||||
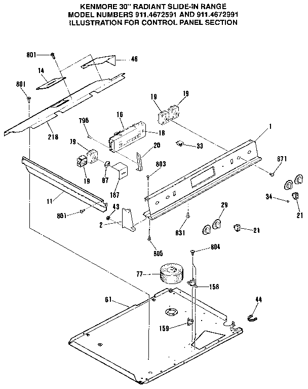
Kenmore Slide-In Range 9114672991 Timer RepairWhat is the timer/clock part number for the Kenmore 9114672991 Slide-In Range?![]() The 9114672991 Slide-In Range uses timer part number WB27K5073. Do you have a failed Kenmore 9114672991 control panel? Click here: We can repair or replace your faulty Kenmore 9114672991 timer. 9114672991 are also sometimes referred to using these Alternative Names/Model numbersSears 9114672991 Slide-In Range 9114672991 Schematic and Wiring Diagrams |
||||||
|
||||||