|
|||||||||
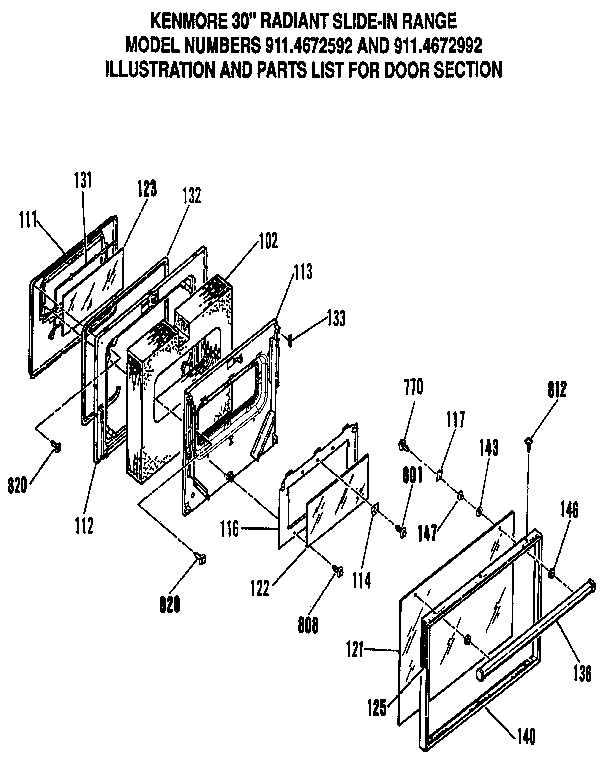
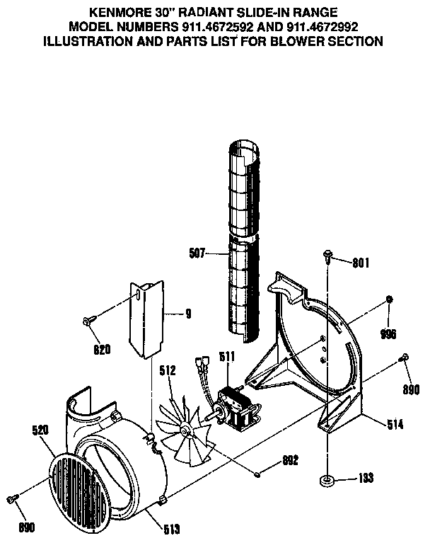
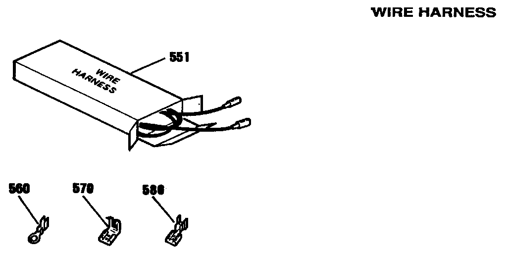
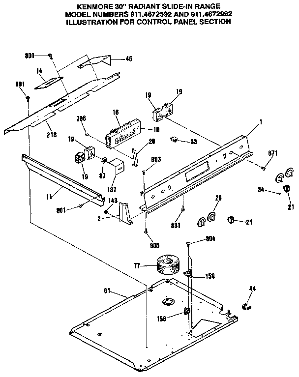
Kenmore Slide-In Range 911467259 Timer RepairWhat is the timer/clock part number for the Kenmore 911467259 Slide-In Range?![]() The 911467259 Slide-In Range uses timer part number WB27K5073. Do you have a failed Kenmore 911467259 control panel? Click here: We can repair or replace your faulty Kenmore 911467259 timer. 911467259 are also sometimes referred to using these Alternative Names/Model numbersSears 911467259 Slide-In Range, 9114672592, 9114672593, 9114672590, 9114672591 911467259 Schematic and Wiring DiagramsRecent Service Requests
|
|||||||||
|
|||||||||