Kenmore Electric Range 91145565893 Timer Repair

What is the timer/clock part number for the Kenmore 91145565893 Electric Range?

Timer part number WB27K5304 for Kenmore 91145565893

The 91145565893 Electric Range uses timer part number WB27K5304.

Do you have a failed Kenmore 91145565893 control panel? Click here:

Request Appliance Timer Service

We can repair or replace your faulty Kenmore 91145565893 timer.

91145565893 are also sometimes referred to using these Alternative Names/Model numbers

Sears 91145565893 Electric Range

91145565893 Schematic and Wiring Diagrams

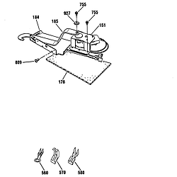
Control panel Parts diagram
91145565893 Electric Range Control panel Parts diagram
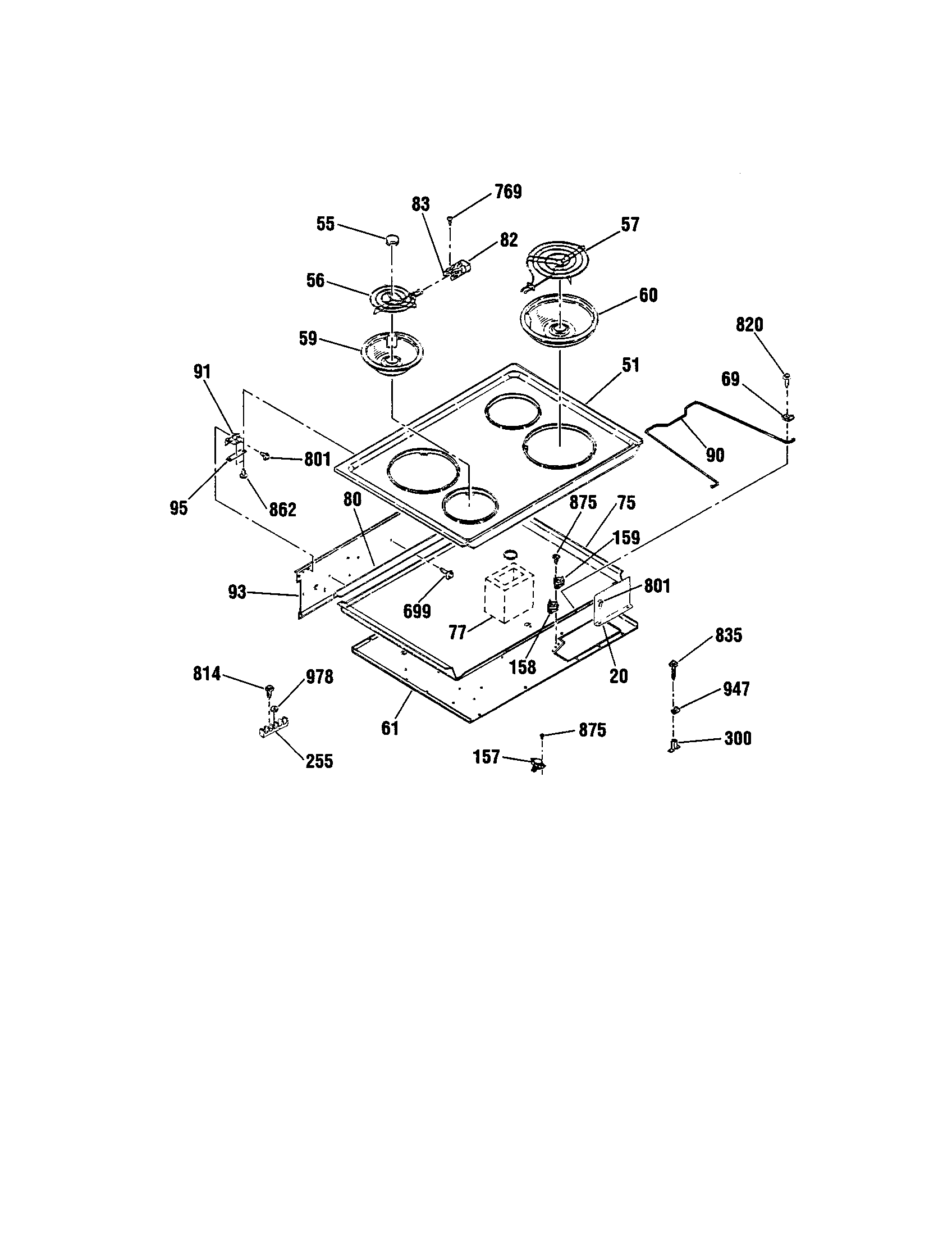
Maintop Parts diagram
91145565893 Electric Range Maintop Parts diagram
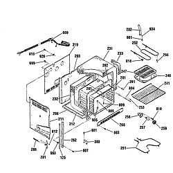
Body Parts diagram
91145565893 Electric Range Body Parts diagram
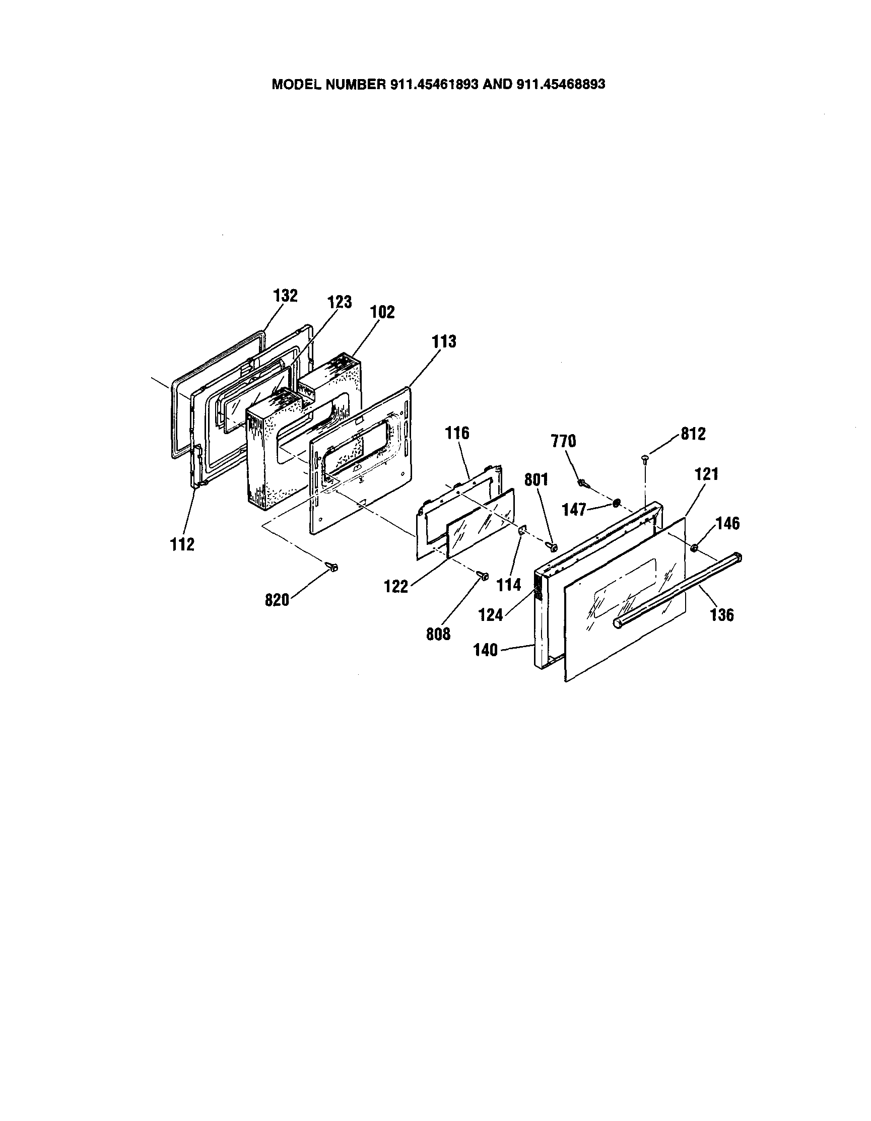
Door Parts diagram
91145565893 Electric Range Door Parts diagram
Door lock/wiring components Parts diagram
91145565893 Electric Range Door lock/wiring components Parts diagram
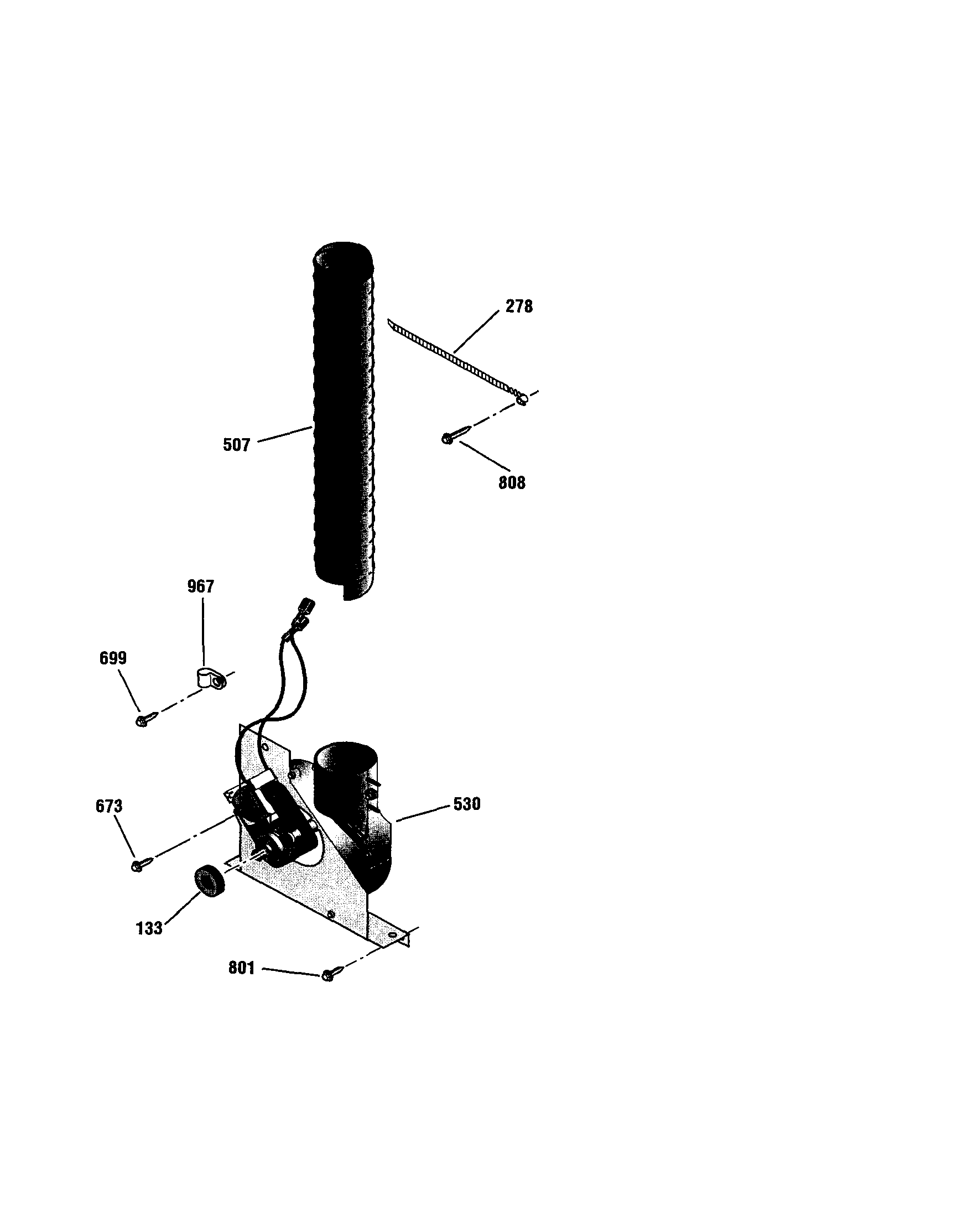
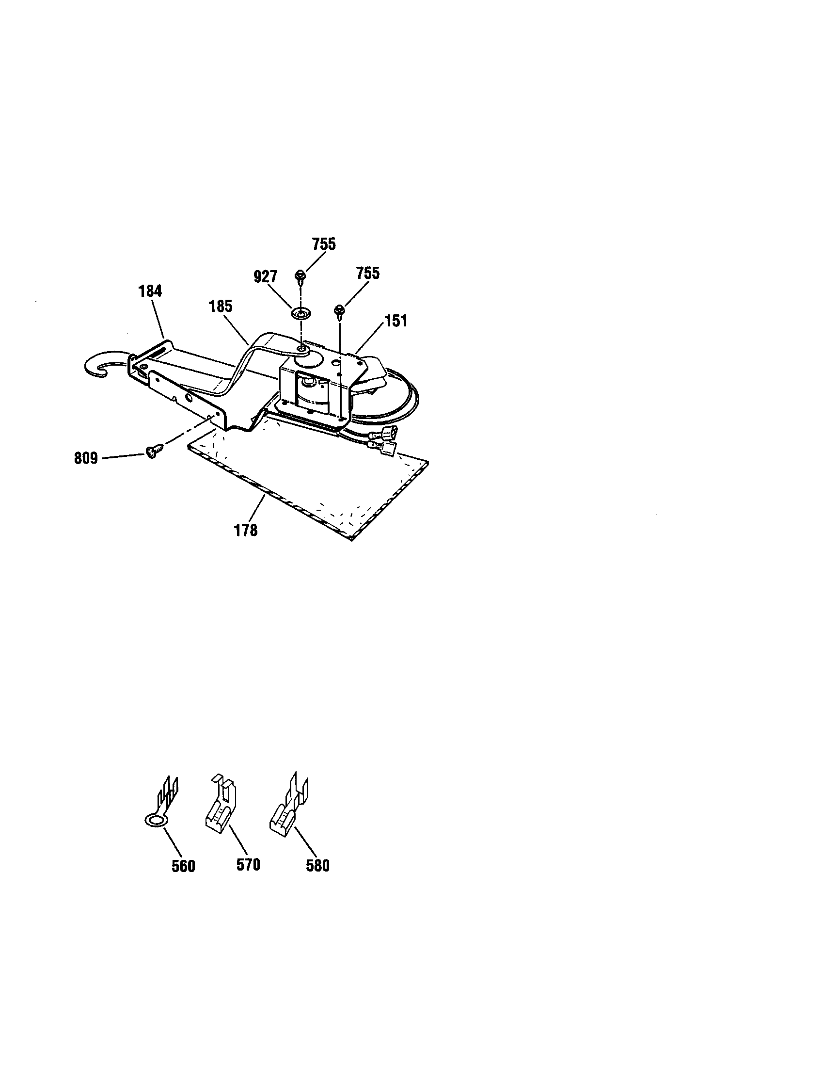
Blower Parts diagram
91145565893 Electric Range Blower Parts diagram