Kenmore Electric Drop-In Range 9114552190 Timer Repair

What is the timer/clock part number for the Kenmore 9114552190 Electric Drop-In Range?

Timer part number WB27K5073 for Kenmore 9114552190

The 9114552190 Electric Drop-In Range uses timer part number WB27K5073.

Do you have a failed Kenmore 9114552190 control panel? Click here:

Request Appliance Timer Service

We can repair or replace your faulty Kenmore 9114552190 timer.

9114552190 are also sometimes referred to using these Alternative Names/Model numbers

Sears 9114552190 Electric Drop-In Range

9114552190 Schematic and Wiring Diagrams

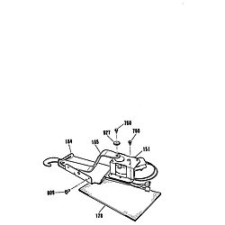
Control Parts diagram
9114552190 Electric Drop-In Range Control Parts diagram
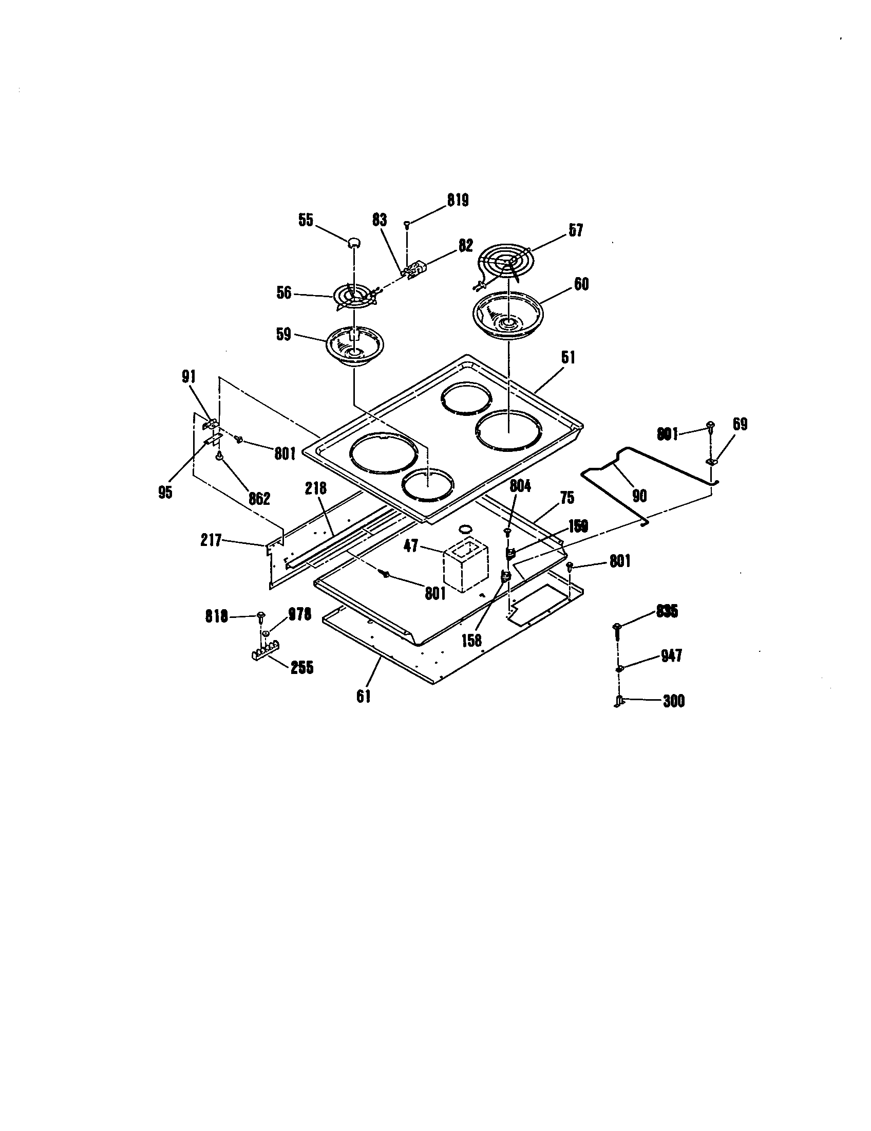
Maintop Parts diagram
9114552190 Electric Drop-In Range Maintop Parts diagram
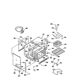
Body Parts diagram
9114552190 Electric Drop-In Range Body Parts diagram
Wire harness and components Parts diagram
9114552190 Electric Drop-In Range Wire harness and components Parts diagram
Door lock Parts diagram
9114552190 Electric Drop-In Range Door lock Parts diagram
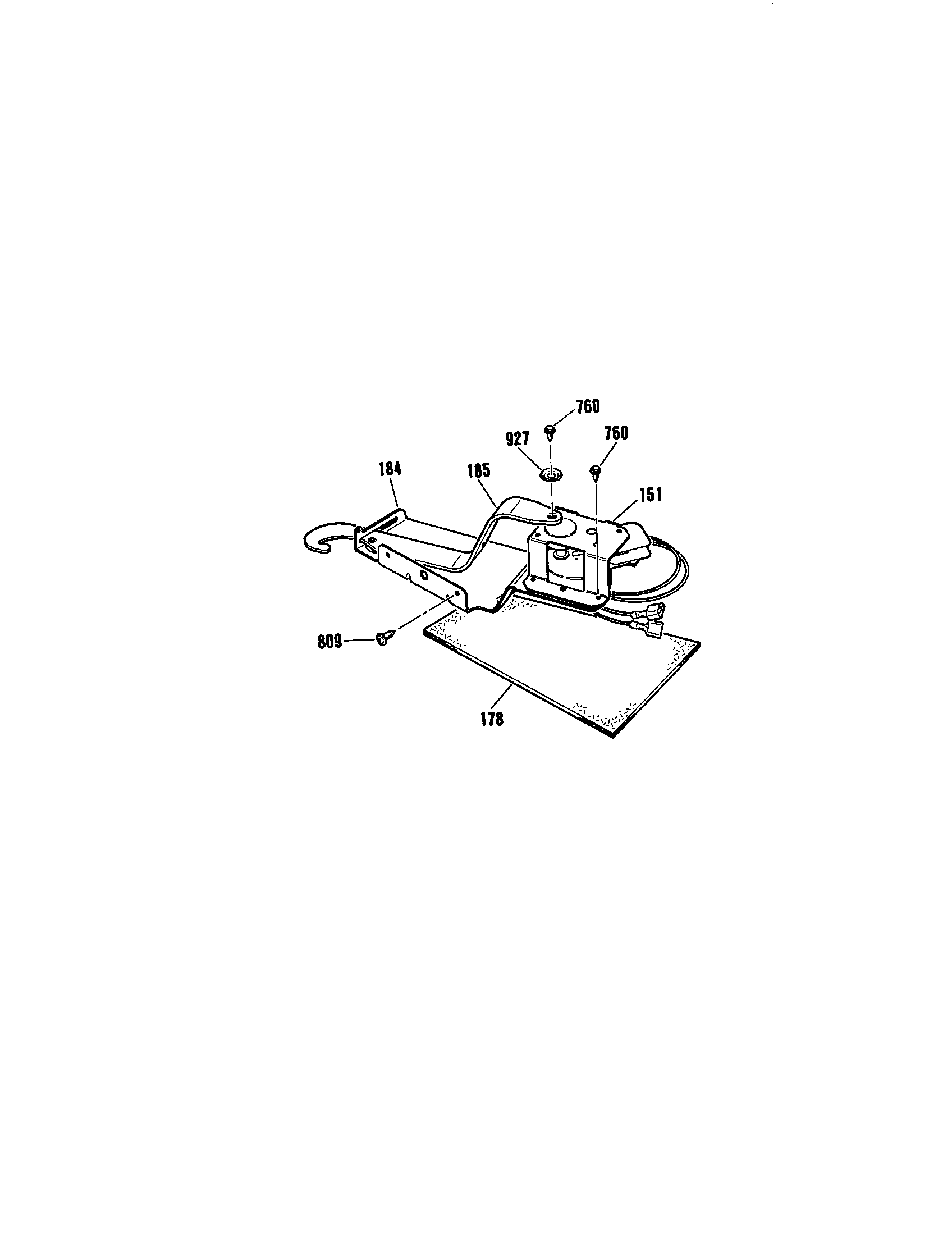
Blower Parts diagram
9114552190 Electric Drop-In Range Blower Parts diagram
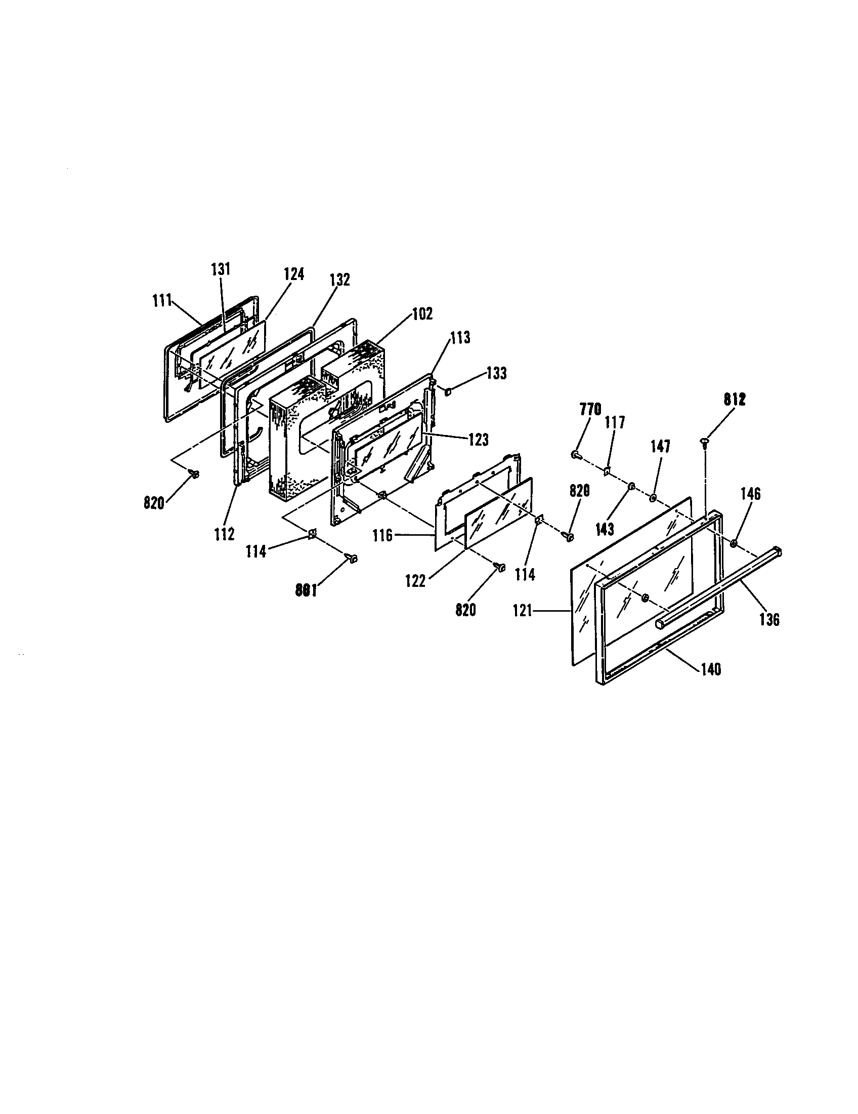
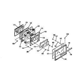
Oven door Parts diagram
9114552190 Electric Drop-In Range Oven door Parts diagram