Kenmore Drop-In Electric Range 911455219 Timer Repair

What is the timer/clock part number for the Kenmore 911455219 Drop-In Electric Range?

Timer part number WB27K5073 for Kenmore 911455219

The 911455219 Drop-In Electric Range uses timer part number WB27K5073.

Do you have a failed Kenmore 911455219 control panel? Click here:

Request Appliance Timer Service

We can repair or replace your faulty Kenmore 911455219 timer.

911455219 are also sometimes referred to using these Alternative Names/Model numbers

Sears 911455219 Drop-In Electric Range, 9114552191, 9114552190, 9114552192

911455219 Schematic and Wiring Diagrams

Control section Parts diagram
911455219 Drop-In Electric Range Control section Parts diagram
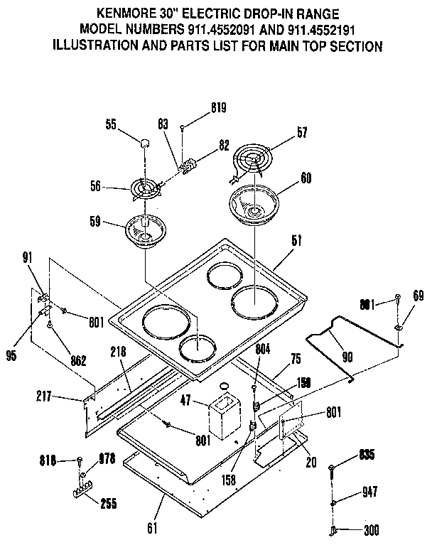
Main top section Parts diagram
911455219 Drop-In Electric Range Main top section Parts diagram
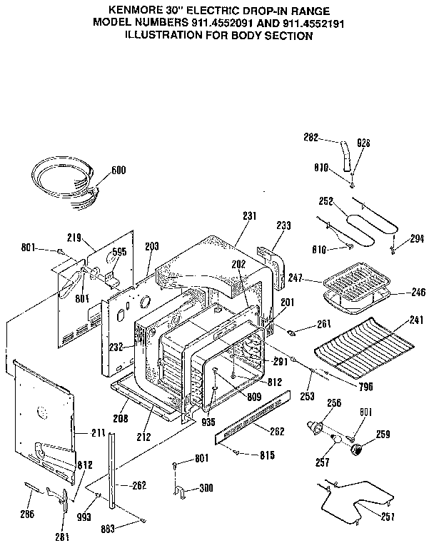
Body section Parts diagram
911455219 Drop-In Electric Range Body section Parts diagram
Harness and components Parts diagram
911455219 Drop-In Electric Range Harness and components Parts diagram
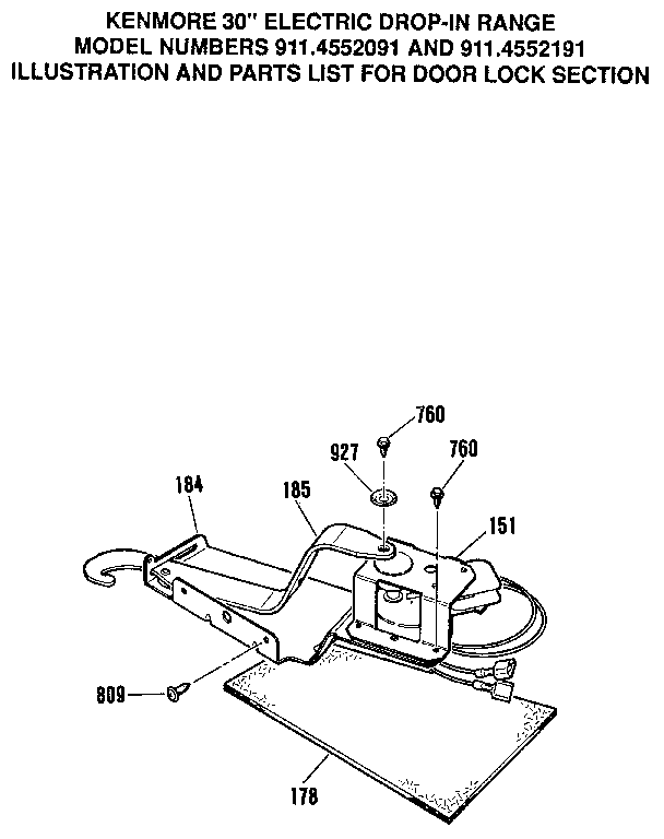
Door lock section Parts diagram
911455219 Drop-In Electric Range Door lock section Parts diagram
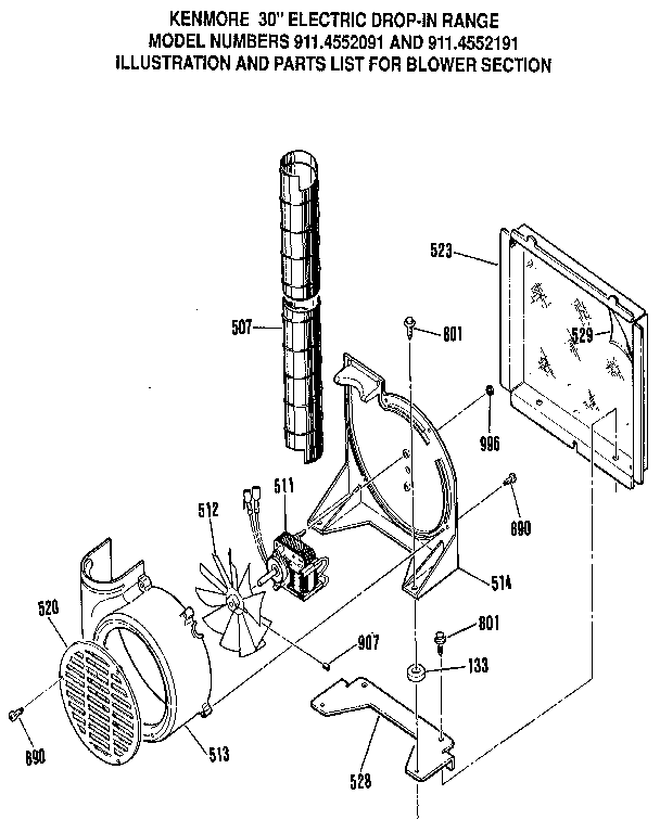
Blower section Parts diagram
911455219 Drop-In Electric Range Blower section Parts diagram
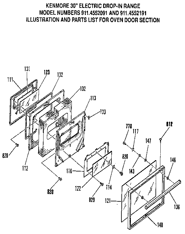
Oven door section Parts diagram
911455219 Drop-In Electric Range Oven door section Parts diagram

Recent Service Requests

CityProblem DescriptionResolution
San juanF1 came when you plugged in on the wall. The oven start to heat but when reach the selected temp. Do not heat anymore.Awaiting receipt of timer
Niceville, FloridaPer Howard Simons, timer P/N 254318 is in stock and will work in my rangeReplaced with reconditioned timer