Kenmore Gas Built-In Oven 9113218891 Timer Repair

What is the timer/clock part number for the Kenmore 9113218891 Gas Built-In Oven?

Timer part number 342145 for Kenmore 9113218891

The 9113218891 Gas Built-In Oven uses timer part number 342145.

Do you have a failed Kenmore 9113218891 control panel? Click here:

Request Appliance Timer Service

We can repair or replace your faulty Kenmore 9113218891 timer.

9113218891 are also sometimes referred to using these Alternative Names/Model numbers

Sears 9113218891 Gas Built-In Oven

9113218891 Schematic and Wiring Diagrams

Control panel section Parts diagram
9113218891 Gas Built-In Oven Control panel section Parts diagram
Body section Parts diagram
9113218891 Gas Built-In Oven Body section Parts diagram
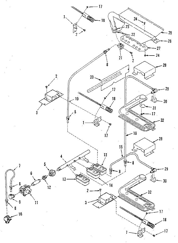
Burner section Parts diagram
9113218891 Gas Built-In Oven Burner section Parts diagram
Wire harnesses and options Parts diagram
9113218891 Gas Built-In Oven Wire harnesses and options Parts diagram
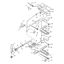
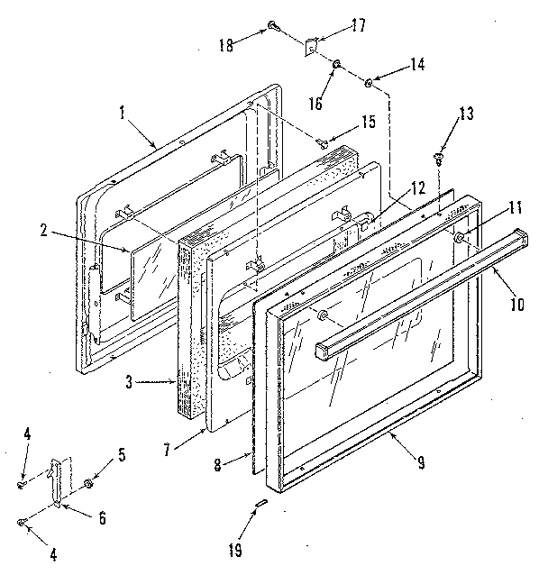
Oven door section Parts diagram
9113218891 Gas Built-In Oven Oven door section Parts diagram

Recent Service Requests

CityProblem DescriptionResolution
Chicago, Illinois, Illinoisbuilt in double gas oven; top oven, no display, audio activation present, no bake or broil functions on ; bottom manual range operates normally.Repaired
Douglasville, GeorgiaThe electronic timer is deadAwaiting receipt of timer
Red Springs, North CarolinaDouble oven: Lower oven with manual on off working fine.

Upper oven: Touch bake setting and when attempting to set temp setting using small dial it flashes and then turns bake setting off. Broiler setting with HI and LO settings and will work after multiple tries turning set dial. Problem with upper oven started about two years ago when you hit bake setting and then set temp. Turned on... but later when you went back to check oven it was off.... Would retry same procedure and sometimes it would work fine. The other problem was the alarm start to beep every hour on unit and having to hit cancel button to shut it off. Would hit timer setting button to keep alarm button from going off all the time....
Repaired
Cleveland, GeorgiaHas electric and comes on but will not turn on top oven. Will need a new control/ timer panel or reconditioned.Awaiting receipt of timer
Lemon Grove, CaliforniaTimer works fine. Niether the broiler or bake modes work.and I haven't seen any error codes pop up. No glow from the igniters either.Awaiting receipt of timer
LA VERNE, Californiaovens both work but the controls for the upper one does not light up at all. You can push the buttons and turn the dial and things happen but you can't read the temp. or timeRepaired

Common problems for Kenmore Gas Built-In Oven 9113218891 Timer Repair

Are you encountering a similar problem as them? Contact us now and we will try to help you fix your 9113218891 timer-related problem.
I have a kenmore double oven that when I set the temperature it clicks and sometimes ignites then clicks again and shuts off a few seconds later. I replaced the the igniter which didn't solve the problem. What i have found is that if I hold the bake button down the igniter goes on until I release the the button and then it clicks and shuts off a few seconds later. Is the clock kit what I need to fix the problem part number AP2962934.